So you changed the VSS on the transmission tailshaft? This is the correct method:Speedometer & Odometer Are Inaccurate
Replace VSS buffer.
Speedometer & Odometer Do Not Operate Properly
1. Unplug VSS buffer, located under passenger side end of instrument panel. Turn ignition on.
Check for battery voltage between harness connector Brown wire and ground. If battery
voltage exists, go to next step. If battery voltage does not exist, repair short or open in
Pink/Black wire.
2. Check for battery voltage between Brown wire and Black/White wire at harness connector. If
battery voltage exists, go to next step. If battery voltage does not exist, repair open in
Black/White wire.
3. Raise and support vehicle with drive wheels off ground. Start engine. Shift transmission to
Drive. Check for AC voltage between Purple/White and Light Green/Black wires of harness
connector.
4. Voltage should change as wheel speed increases or decreases. If AC voltage does not exist,
check for short or open in Purple/White and Light Green/Black wires. If wiring is okay, replace
vehicle speed sensor.
5. Turn ignition off. Reconnect VSS buffer. Start engine. Put transmission into gear. Backprobe
Blue/Black and Black/White wires at VSS buffer connector. If AC voltage varies with RPM
change, replace VSS buffer.
6. Backprobe Red/White and Black/White wires at VSS buffer connector. If AC voltage varies
with RPM change, replace VSS buffer. If all foregoing checks are okay, replace instrument
cluster.
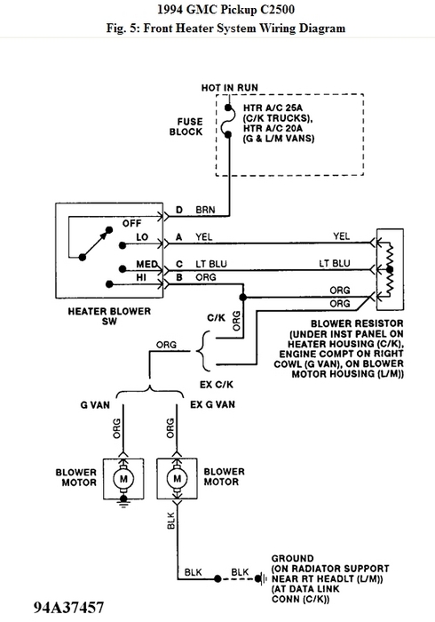
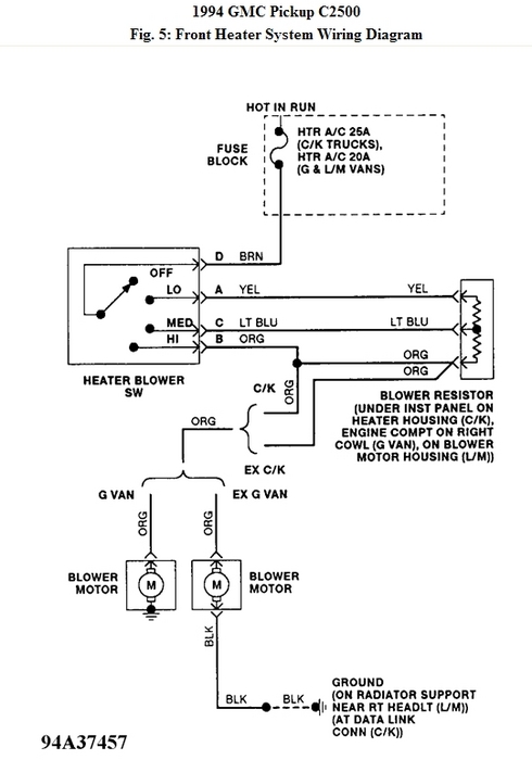
Fig. 1: Identifying Instrument Cluster Connector Terminals
The pictures are for the plug on back of the instrument panel, if the above tests dont fix it.
Images (Click to enlarge)
Mar 10, 2011 at 7:28 PM