Check engine code P1404 which is a EGR code closed

1997 SATURN SC1
191,076 MILES
Avatar
ANONYMOUS
  • MEMBER
  • 1 POST
Which is a EGR code closed pintil or failed EGR. took out the EGR cleaned it with carbon cleaner spray while pressing pintil put it back in and deleted the code. drove a half a block p1404 code came right back. drove for a week with service engine light on. At the end of the week the check engine light turned off. That was a month ago two days ago check engine light came back on put new EGR in drove a half a block light came back. if you can tell me what's the next step to fixing this problem, please let me know.
Mar 18, 2013 at 5:39 AM
Advertisement
Avatar
SQM
  • CERTIFIED EXPERT
  • 6,383 POSTS
Hello,

It is possible that the EGR valve itself is not functioning properly and needs to be replaced. If the cleaning does not fix it can be a malfunctioning valve.

Here is a video on how to test the EGR valve:

https://youtu.be/DqUCbbKdWf4


The best course of action would be to take a step-by-step approach and check off a few items.

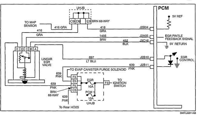
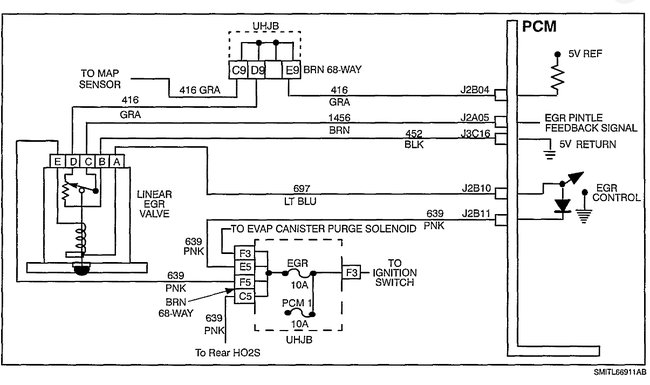
I have attached the troubleshooting guide for the code P1404 below.
Go through these and let me know what you find or if you have any questions.

Thank you.
Jan 22, 2022 at 5:09 PM