Front Drive Axle Vacuum Actuator Solenoid Valve?

2000 GMC JIMMY
170,000 MILES
Avatar
JUSTIN ADAIR
  • MEMBER
  • 42 POSTS
I have a 2000 GMC Jimmy 4X4 The Vacuum Actuator Solenoid Valve hoses are disconnected and dry rotted. I can not find a diagram where these hoses go. Can anyone please help. There is a picture of the solenoid valve in the link below.
Sep 26, 2011 at 2:39 AM
Advertisement
Avatar
JACOBANDNICKOLAS
  • CERTIFIED EXPERT
  • 110,175 POSTS
I caon't find a schematic. However, from the actuator it should go to a vacuum canister near the transfer case.
Sep 26, 2011 at 2:46 AM
Avatar
JUSTIN ADAIR
  • MEMBER
  • 42 POSTS
Hopefully someone else will chime in and be able to help. Thanks! I heard something similar but that goes for 1 hose?
Sep 26, 2011 at 2:50 AM
Advertisement
Avatar
JACOBANDNICKOLAS
  • CERTIFIED EXPERT
  • 110,175 POSTS
How many are disconnected or damaged?
Sep 26, 2011 at 2:56 AM
Avatar
JUSTIN ADAIR
  • MEMBER
  • 42 POSTS
As you can see by the image above there are 2 hose ports on the solenoid valve the top one goes somewhere on the passanger side and the bottom head over to the driver side and conncets to a splitter the hose directly across is damaged I can take pictures tomorrow. High quality.
Sep 26, 2011 at 3:00 AM
Avatar
JACOBANDNICKOLAS
  • CERTIFIED EXPERT
  • 110,175 POSTS
Do that. I may be able to figure it out by looking. If I recall, one is going to a switch on the transfer case too. It is used to turn on the indicator light inside. The others are most likely to the canister and one to intake vacuum.

I'll do my best.
Sep 26, 2011 at 3:54 AM
Avatar
JUSTIN ADAIR
  • MEMBER
  • 42 POSTS
Okay I went out with a light and my phone and these are the best pictures I could get. The first picture is the acuator vacuum solenoid valve the second is the hose going to the drivers side and the third is the one on the passanger side.
Sep 26, 2011 at 4:12 AM
Avatar
JACOBANDNICKOLAS
  • CERTIFIED EXPERT
  • 110,175 POSTS
I can't see the intire picture because the message block (that I am presently typing in) covers it. I have asked another tech if he has access to the 4wd diagram. Lets see if he comes through.
Sep 26, 2011 at 4:30 AM
Avatar
RIVERMIKERAT
  • CERTIFIED EXPERT
  • 6,110 POSTS
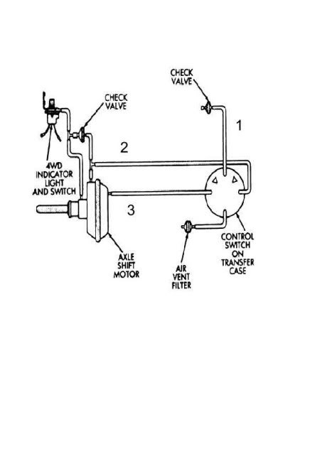
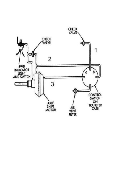
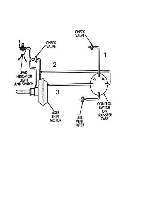
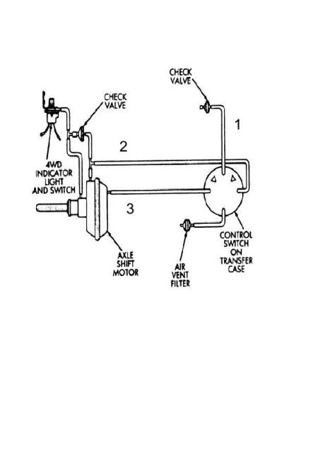
Hey guys, this is the only vacuum diagram I could find.
Justin is right: one vacuum line will be supplying vacuum from the intake or a ported vacuum valve. The other side will go to the indicator and to the transfer case. What condition are the vacuum lines on the other side of the "T"?
Sep 26, 2011 at 5:33 AM
Avatar
JUSTIN ADAIR
  • MEMBER
  • 42 POSTS
Okay in the second picture i miscommunicated where the hose goes. The hose come from under the intake manifold towards the driver side the second T connection is where the hose goes from that solenoid valve. Thanks!
Sep 26, 2011 at 5:44 AM
Avatar
JUSTIN ADAIR
  • MEMBER
  • 42 POSTS
okay I also forgot to note that the hose on the driver side constantl sucks air when the car is on and the one towards the passanger side only sucks when the 4X4 is turned on.
Sep 26, 2011 at 6:03 AM
Avatar
RIVERMIKERAT
  • CERTIFIED EXPERT
  • 6,110 POSTS
The solenoid passes vacuum when it is energized, or when the vehicle is in 4-wheel drive mode. The driver side hose supplies engine vacuum to the solenoid. From there it should go to the transfer case.
Sep 26, 2011 at 6:06 AM
Avatar
JACOBANDNICKOLAS
  • CERTIFIED EXPERT
  • 110,175 POSTS
Is it possible that the vacuum hose from the solenoid sends vacum to the front axle when switched? The switch on the transfercase is moved when the transfer case is shifted.
Sep 26, 2011 at 4:05 PM
Avatar
KHLOW2008
  • CERTIFIED EXPERT
  • 41,814 POSTS
If the vacuum hoses are not installed correctly, the vacuum would not release when the switch is turned off. The manifold vacuum hose should be connected to the outer port of the solenoid.
Sep 26, 2011 at 4:45 PM
Avatar
JUSTIN ADAIR
  • MEMBER
  • 42 POSTS
Okay the hose that comes out from the manifoldconnects to the top T as displayed in the pictures then the hose directly across goes somewhere on the drivers side. On the lower t that is where the solenoid hooks up. Now as for the hose from the solenoid to the driver side it as hanging by the battery against the engine dry rotted and wasnt connected to anything. If i had a diagram or knew where exactly the hoses went I would be home free.
Sep 26, 2011 at 4:56 PM
Avatar
RIVERMIKERAT
  • CERTIFIED EXPERT
  • 6,110 POSTS
Ok. On one side of the vacuum "T", you have vacuum going to the AC/heater controls and to the front axle. The other side is vacuum supply from the manifold. I have found a couple of other images that may be easier to see.
Sep 27, 2011 at 2:48 AM
Avatar
RIVERMIKERAT
  • CERTIFIED EXPERT
  • 6,110 POSTS
"The a/c controls and front axle actuator are vacuum actuated and both use the same vacuum source."
"Check the vacuum hose coming from the engine and the vacuum hoses around the vacuum reservoir, located near the drivers side hood hinge. This is the most common point of failure."

Here's a couple more vacuum diagrams.

Sep 27, 2011 at 3:01 AM
Avatar
JUSTIN ADAIR
  • MEMBER
  • 42 POSTS
Yeah the diagrams of the hoses and axle above that you have are wrong. We obtained a copy from a dealership that luckily had one. We found the hose that leads to the passanger side and are still looking for the area for the driver side. I believe it goes into a canister like you said but can not locate it.
Sep 27, 2011 at 5:23 PM
Avatar
RIVERMIKERAT
  • CERTIFIED EXPERT
  • 6,110 POSTS
There should be a small metal flap, behind which the vacuum reservoir/amplifier is hidden.In the driver side fender.
Sep 28, 2011 at 3:18 AM
Avatar
JUSTIN ADAIR
  • MEMBER
  • 42 POSTS
Okay I located the connection for the other hose on the driver side. in the last picture I uploaded it is Item 10 and is located behind the box where the brake lines go. It is well hidden on the driver side about the wheel well and in the middle of the fender as described. Now my proble is I am getting a random misfire Code 300. I have changed the plugs, wires, distributor and fuel filter... The vehicle sometimes bogs down when I hit the gas when I first start it (Seldomly while I am stopped at a light or so on). But most of the time it runs normal? Tried LUCAS injector cleaner aswell.
Sep 29, 2011 at 10:35 PM
Avatar
RIVERMIKERAT
  • CERTIFIED EXPERT
  • 6,110 POSTS
I prefer Techron, but I have 30 years' affiliation with Chevron, so that may explain that. If you have an OBDII scanner that can gather real-time data, clear the code and see what data can be obtained in real-time. You may have a problem with the ignition module or a sensor/pickup somewhere.
Sep 29, 2011 at 11:02 PM
Avatar
PAT BIZICH
  • MEMBER
  • 3 POSTS
I got on this site looking for a schmetic for a 2000GMC 4X4 Sonoma.My problem was the Air Controls and front axle failed at the same time.I immediately assumed a vacuum failure.Your pictures helped a great deal.I found that the vacuum line was hanging loose at the driver side fender.I plugged it and they are working.according to the pictures posted it should be plugged into the fender.You can see it was attached somewhere.The top threee photos in this post illustrate it greatly .The middle picture depicts the linedirectly under the thumb.I will be darn if I can find the connection.
Oct 16, 2011 at 9:44 PM
Avatar
PAT BIZICH
  • MEMBER
  • 3 POSTS
I found it. thanks .This post was a great help.
Oct 16, 2011 at 11:21 PM
Avatar
RIVERMIKERAT
  • CERTIFIED EXPERT
  • 6,110 POSTS
My pleasure. Glad to be of help. That's what we're here for.
Oct 17, 2011 at 2:08 AM
Avatar
DAPHNIESMAN04
  • MEMBER
  • 13 POSTS
I have this same issue on mine. However today, while diagnosing my vacuum lines I broke the nipple off of the reservoir inside the driver side fender. How do I deal with this. Also is there a way to check the vacuum actuator solenoid that's located on the firewall to diagnose that it is faulty?
Jul 10, 2020 at 8:34 PM
Avatar
4DRTOM
  • CERTIFIED EXPERT
  • 467 POSTS
Hello,
Now that you are onto the P0300 code we will better help if you start a new question about that with a slight desc about recent work done and now a code. I"ll look for that new question thread and we can get you on the right track.
Thanks for using 2CarPros.
Tom
Jul 11, 2020 at 10:35 AM