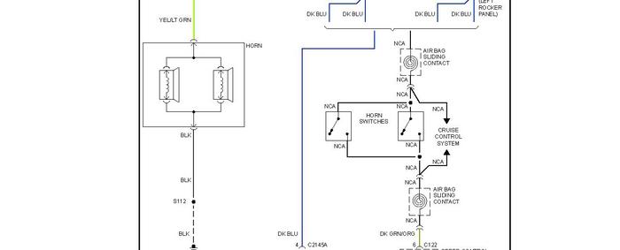
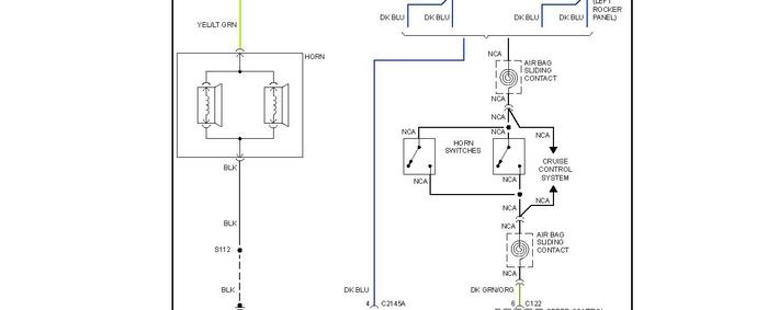
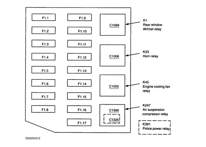
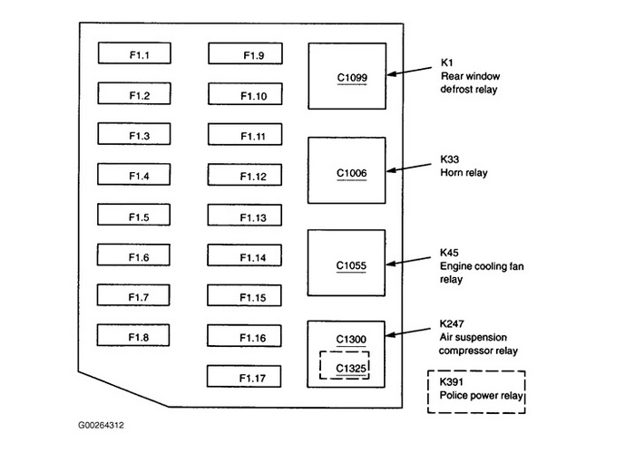
I Have A 02 Crown Vic Intercepter With A Horn Problem? First Thing I did Was Check To See If I Had Power Going To The Horns!!! Nothing!! Checked Inside Fuse Panel and Power Distribution Box!!! I Found No Blown Fuses Or Bad Relays!! I The Proceeded To Put A Jumper On The Connector And The Horns Work But Won't Stop Unless I Remove The Jumper!!
Can Anyone Point Me In The Right Direction?? I Say The Steering Wheel Is Next??? Thanks Tommy!
Can Anyone Point Me In The Right Direction?? I Say The Steering Wheel Is Next??? Thanks Tommy!
Oct 18, 2011 at 8:38 PM



