Key wont go in the Ignition

2003 BUICK RENDEZVOUS
278,000 MILES
Avatar
KELVINC
  • MEMBER
  • 6 POSTS
My key will only go halfway into my ignition tumbler.
Dec 11, 2011 at 9:35 PM
Advertisement
Avatar
RASMATAZ
  • CERTIFIED EXPERT
  • 75,992 POSTS
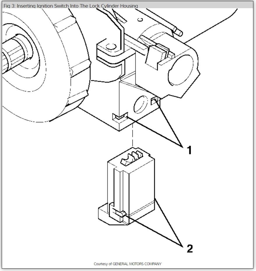
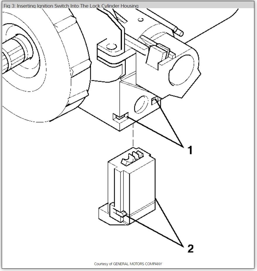
It sounds like the ignition tumbler with need to be replaced take your vin number to the dealer when you buy the tumbler and new key so they can code it for you before you install it. Here are diagrams to help you see what you are ifn for when doing the job.

Check out the diagrams (Below). Please let us know if you need anything else to get the problem fixed.

Cheers
Dec 11, 2011 at 9:40 PM
Avatar
KELVINC
  • MEMBER
  • 6 POSTS
Great diagrams and advice I did what you said and the job turned out great! I love this site :)
Dec 11, 2011 at 9:47 PM
Advertisement
Avatar
SATURNTECH9
  • CERTIFIED EXPERT
  • 30,869 POSTS
Good to hear, please use 2CarPros anytime we are here to help.

Cheers
Dec 11, 2011 at 9:58 PM