2003 Cadillac CTS Dryer accumulator

2003 CADILLAC CTS
120,000 MILES • V6 • 2WD • AUTOMATIC
Avatar
JSPRACK
  • MEMBER
  • 2 POSTS
Where is air conditioner dryer accumulator located?
Oct 31, 2015 at 10:34 AM
Advertisement
Avatar
HMAC300
  • CERTIFIED EXPERT
  • 48,601 POSTS
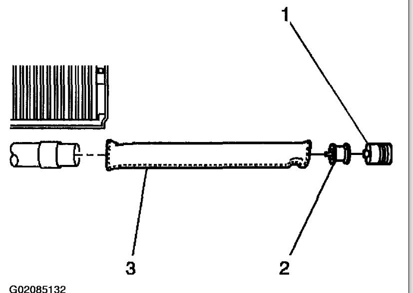
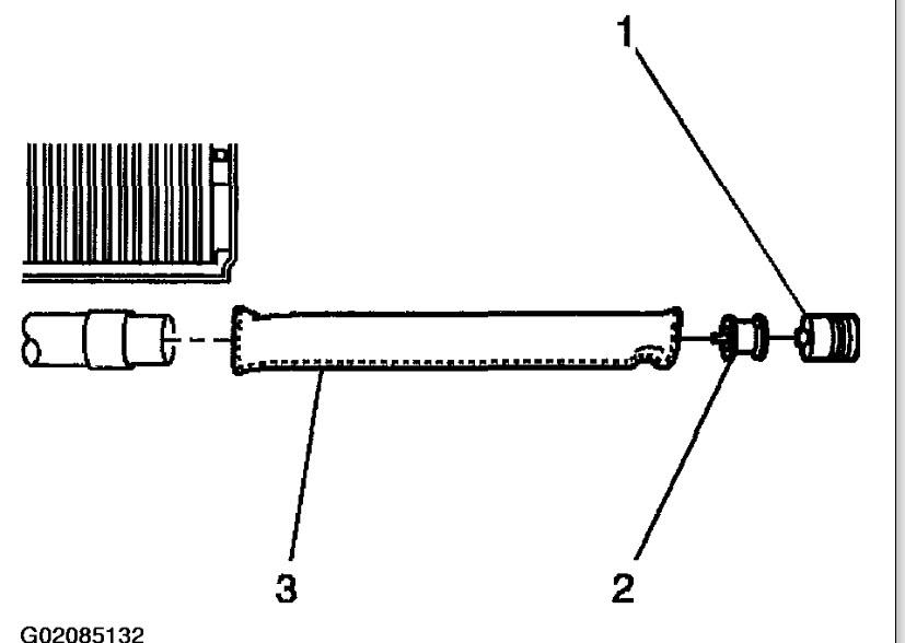
inorder to replace it you need to evacuate the system first, if its not broken the dexicant bag is replaceable see pics to gain access.......it's near the radiator. you also need to add .34 oz. of PAG oil when replacing it. then evacuate the system again for at least 15 minutes.
Oct 31, 2015 at 11:28 AM
Avatar
JSPRACK
  • MEMBER
  • 2 POSTS
Thanks. I thought that was it, but wasn't sure. The tube is vertical, how do you add the PAG oil?
Oct 31, 2015 at 8:21 PM
Advertisement
Avatar
HMAC300
  • CERTIFIED EXPERT
  • 48,601 POSTS
when you charge the system through the gauges.
Nov 1, 2015 at 7:48 AM