Key is stuck in the ignition in the on position

2003 CHEVROLET S-10
121,000 MILES • 4 CYL • 2WD • MANUAL
Avatar
DSTETZER
  • MEMBER
  • 2 POSTS
Key is stuck in the ignition in the on position and will not come out. Steering wheel is not locked and the engine will start when clutch pedal is pressed. Do you have any advice for me to get the ignition off and key out?
Jul 23, 2011 at 12:29 PM
Advertisement
Avatar
WRENCHTECH
  • CERTIFIED EXPERT
  • 20,761 POSTS
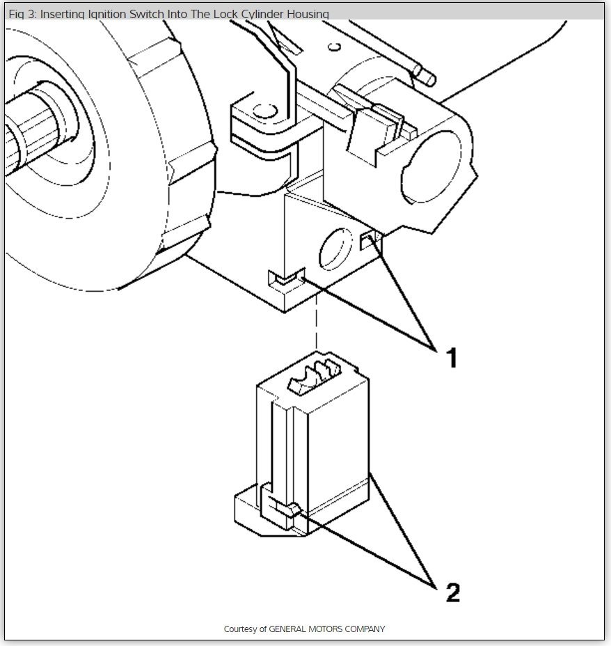
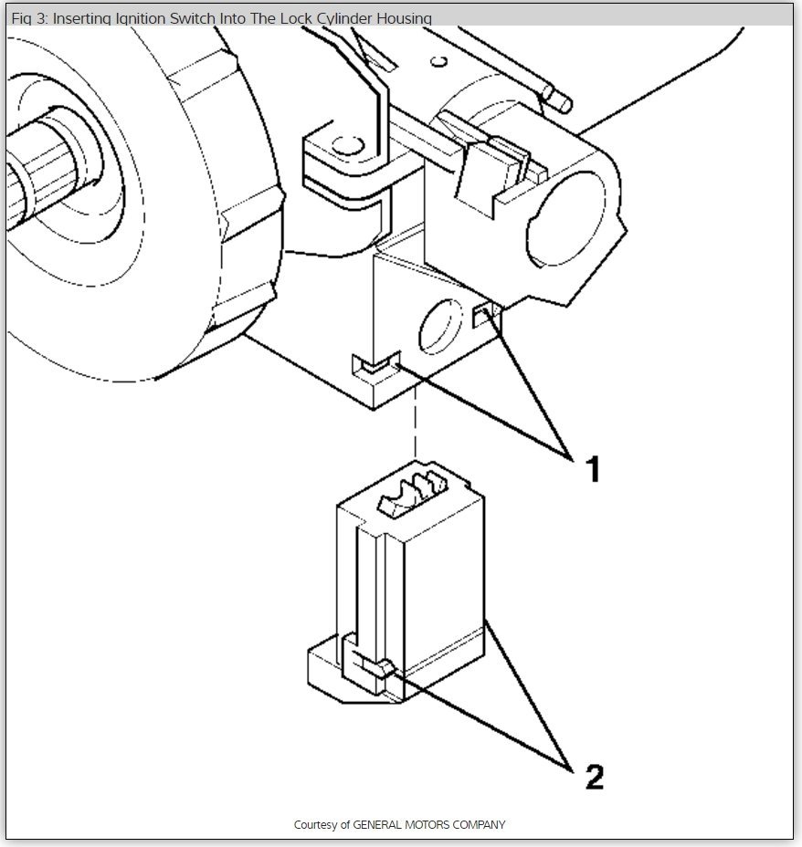
You likely have either a broken lock or broken electric switch and it will have to be replaced. Here are the instructions on how to replace the ignition key and tumbler(lock). Check out the diagrams (Below). Please let us know if you need anything else to get the problem fixed.
Jul 23, 2011 at 12:55 PM