brakes started making a farting noise?

2003 CHEVROLET TRAILBLAZER
53,000 MILES
Avatar
MS.IRIS
  • MEMBER
  • 1 POST
My brakes started making a noise when applied and the pedal goes down (not all the way) and comes back up all while making the farting noise. The truck stops but it feels hesitant some times.. It does not do this every time applied but often enough for concern............HELP PLEASE. I like to be informed before taking it to the shop to avoid being ripped off.............
Jan 25, 2012 at 6:58 PM
Advertisement
Avatar
STRAILER
  • CERTIFIED EXPERT
  • 53,855 POSTS
Hello,

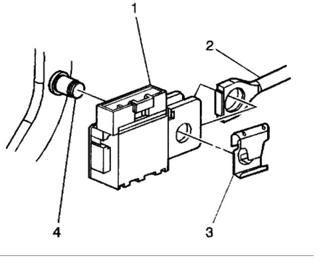
It sounds like the power brake booster has gone bad and needs replacement. Here are some diagrams (below) of how to do the job along with the new part at Amazon for 86.00 bucks. Please let us know if you need anything else to get the problem fixed. Check out the diagrams (Below). Please let us know what happens.
Jun 27, 2017 at 4:56 PM