Okay, I attached the description of the code and the flow chart for finding the failure. In most cases, it is the module itself.
The 298 is for the flashing. The PCM is not communicating with the module because of a VIN mismatch.
I also attached a wiring diagram for you to verify power to the module.
https://www.2carpros.com/articles/how-to-check-a-car-fuse
https://www.2carpros.com/articles/how-to-check-wiring
I would definitely have the module programmed by someone who has the scan tool for performing this.
Roy
Circuit Description
The ABS relay supplies battery voltage to six valve solenoids (RF dump/isolation, LF dump/isolation, and rear dump/isolation). The EBCM microprocessor applies the grounds needed to activate each solenoid. The low side of each solenoid coil has a feedback circuit to the EBCM microprocessor. When a solenoid is commanded OFF, the feedback voltage is high. When a solenoid is commanded ON, the feedback voltage is low.
Conditions for Running the DTC
The ignition is ON.
The vehicle speed is greater than 6 km/h (4 mph).
Conditions for Setting the DTC
The EBCM detects an internal malfunction.
Action Taken When the DTC Sets
C0265
If equipped, the following actions occur:
The EBCM disables the DRP/ABS.
The ABS indicator turns ON.
The brake warning indicator turns ON.
C0266
If equipped, the following actions occur:
The EBCM disables the ABS.
The ABS indicator turns ON.
Conditions for Clearing the DTC
The conditions for setting the DTC are no longer present and you use the scan tool Clear DTCs function.
Diagnostic Aids
Important: Whenever the EBCM is replaced for DTC C0265 or C0266, the ABS pump motor and motor circuitry must be tested for the proper resistance. Refer to steps 7 and 8 in the diagnostic table below for testing procedures and resistance values.
C0265
Thoroughly inspect connections and circuitry that may cause an intermittent malfunction.
C0266
Replace the EBCM if DTC C0266 continues to set intermittently.
Test Description
The numbers below refer to the step numbers on the diagnostic table.
4. This step tests if the battery positive voltage circuit can supply adequate power to the system relay.
7. A shorted ABS pump motor or shorted motor circuitry may damage the contacts within the system relay. Follow this step to prevent damage to a replacement EBCM.
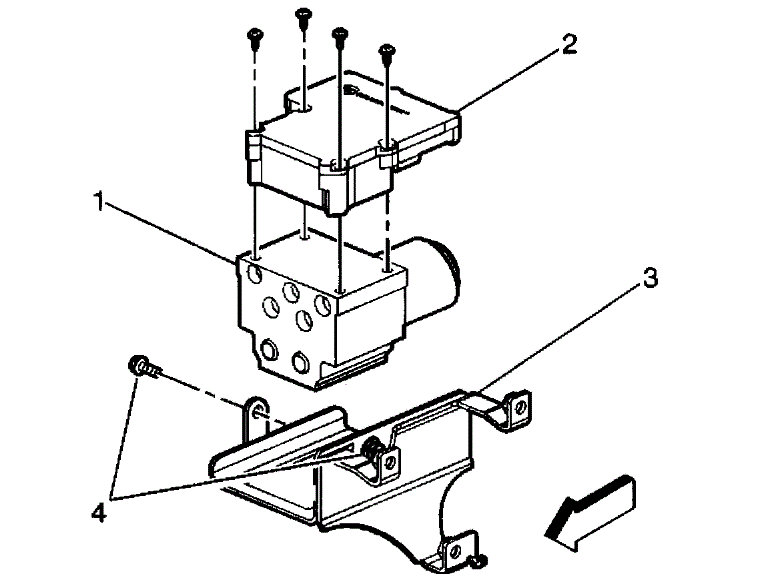
Images (Click to enlarge)
Feb 19, 2021 at 8:42 PM
(Merged)