Hi and thanks for using 2CarPros.
Honestly, my first suspect is fuel pressure. However, if the check engine light is staying on when the engine is running, you should scan the computer to determine what diagnostic trouble codes are stored. Here is a quick video showing how that is done:
https://youtu.be/YV3TRZwer8k
I realize most people don't own a scanner. In that case, most parts stores will do it for free. If the light is on, have that done and let me know what you find.
Next, I would suggest checking fuel pressure. Here is a link that shows how it is done in general. What I have seen over the years is when the pressure gets too low, it changes the air fuel mixture in the engine. I have seen them rev high when this happens.
https://www.2carpros.com/articles/how-to-check-fuel-system-pressure-and-regulator
Here are the directions for testing fuel pressure specific to your vehicle. The attached pictures correlate with these directions.
____________________________
FUEL PRESSURE
Work Procedure
FUEL PRESSURE RELEASE
1. FUEL PRESSURE RELEASE
With CONSULT
1.Turn ignition switch ON.
2.Perform "FUEL PRESSURE RELEASE" in "WORK SUPPORT" mode of "ENGINE" using CONSULT.
3.Start engine.
4.After engine stalls, crank it two or three times to release all fuel pressure.
5.Turn ignition switch OFF.
Without CONSULT
1.Remove fuel pump fuse located in IPDM E/R.
2.Start engine.
3.After engine stalls, crank it two or three times to release all fuel pressure.
4.Turn ignition switch OFF.
5.Reinstall fuel pump fuse after servicing fuel system.
- END
FUEL PRESSURE CHECK
CAUTION:
- Before disconnecting fuel line, release fuel pressure from fuel line to eliminate danger.
- The fuel hose connection method used when taking fuel pressure check must not be used for other purposes.
- Be careful not to scratch or put debris around connection area when servicing, so that the quick connector maintains sealability with O-rings inside.
- Do not perform fuel pressure check with electrical systems operating (i.e. lights, rear defogger, A/C, etc.) Fuel pressure gauge may indicate false readings due to varying engine load and changes in manifold vacuum.
NOTE:
Prepare pans or saucers under the disconnected fuel line because the fuel may spill out. The fuel pressure cannot be completely released because this models do not have fuel return system.
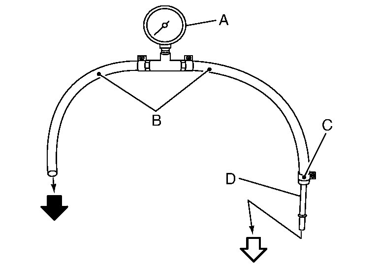
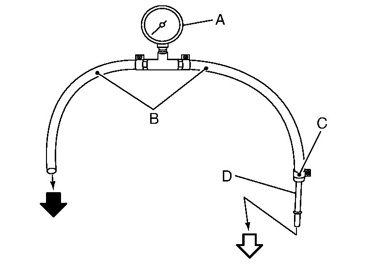
1. FUEL PRESSURE CHECK
1.Release fuel pressure to zero.
Picture 1
2.Prepare fuel hose for fuel pressure check (B) and fuel tube adapter [SST: KV1011840] (D), then connect fuel pressure gauge (A).
Picture 2
CAUTION:
- Use suitable fuel hose for fuel pressure check (genuine
NISSAN fuel hose without quick connector).
- To avoid unnecessary force or tension to hose, use moderately long fuel hose for fuel pressure check.
- Do not use the fuel hose for checking fuel pressure with damage or cracks on it.
- Use Pressure Gauge to check fuel pressure.
3.Remove fuel hose.
CAUTION:
Do not twist or kink fuel hose because it is plastic hose.
Picture 3
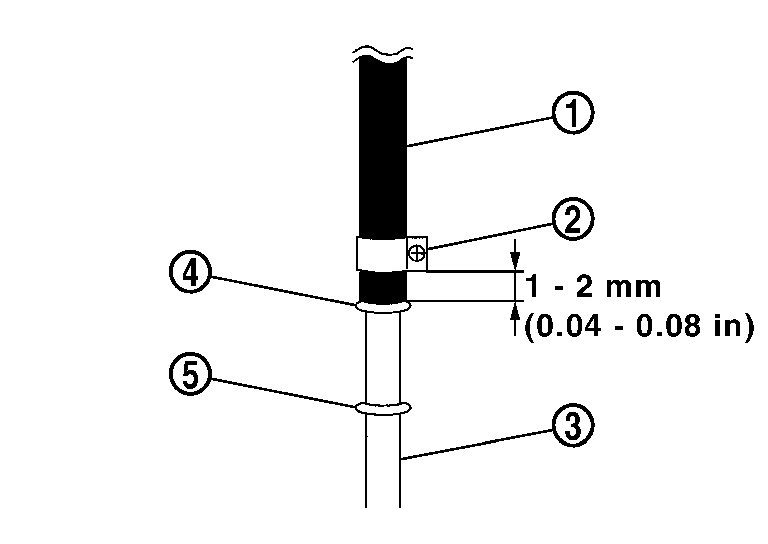
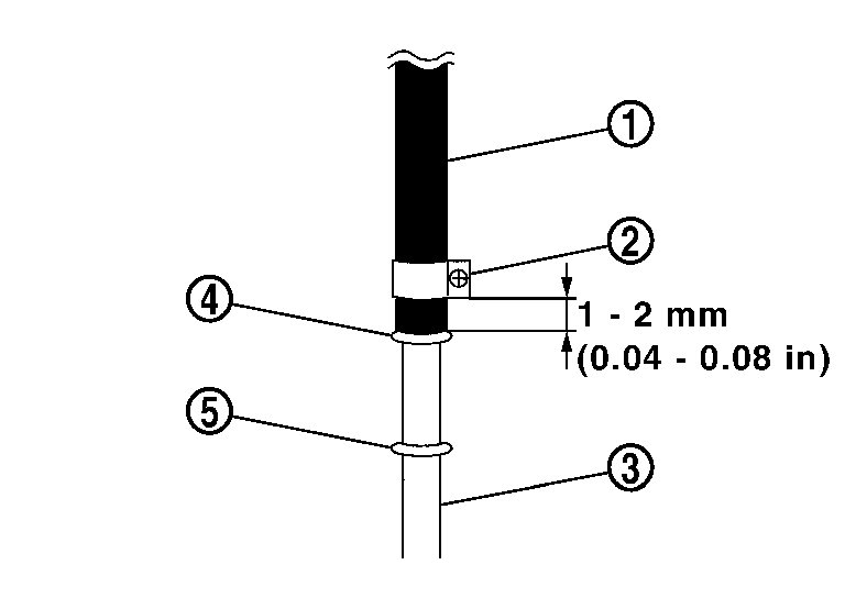
4.Connect fuel hose for fuel pressure check to fuel tube with clamp as shown in the figure.
Picture 4
CAUTION:
- Wipe off oil or dirt from hose insertion part using cloth moistened with gasoline.
- Apply proper amount of gasoline between top of the fuel tube and No. 1 spool .
- Insert fuel hose for fuel pressure check until it touches the No. 1 spool on fuel tube.
- Use NISSAN genuine hose clamp (part number: 16439
N4710 or 16439 40U00).
- When reconnecting fuel line, always use new clamps.
- Use a torque driver to tighten clamps.
Tightening 1 - 1.5 Nm (0.1 - 0.15 kg-m, 9 - 13 in-lb)
torque:
- Install hose clamp to the position within 1 - 2 mm (0.04 - 0.08 in).
- Make sure that clamp screw does not contact adjacent parts.
Picture 5
5.Connect fuel tube adapter to quick connector.
Picture 6
After connecting fuel hose for fuel pressure check, pull the hose with a force of approximately 98 N (10 kg, 22 lb) to confirm high pressure fuel pump does not come off.
6.Turn ignition switch ON and check for fuel leakage.
7.Start engine and check for fuel leakage.
8.Read the indication of fuel pressure gauge.
CAUTION:
- Do not perform fuel pressure check with system operating. Fuel pressure gauge may indicate false readings.
- During fuel pressure check, confirm for fuel leakage from fuel connection every 3 minutes.
At idling : Approximately 350 kPa (3.5 bar, 3.57 kg/cm2, 51 psi)
Is the inspection result normal?
YES- INSPECTION END
NO- GO TO 2.
2. CHECK FUEL HOSES
Check the following.
- Fuel hoses for clogging
- Fuel filter for clogging
- Fuel pump
- Fuel pressure regulator for clogging
Is the inspection result normal?
YES- Replace fuel pressure regulator.
NO- Repair or replace error-detected parts.
____________________________
Let me know if this helps or if you have other questions.
Joe
Images (Click to enlarge)
Aug 28, 2020 at 9:34 AM
(Merged)