No outside air coming in through the vents

1997 MERCEDES BENZ S320
166,000 MILES • 3.2L • 6 CYL • 2WD • AUTOMATIC
Avatar
HANI AL RUBAEE
  • MEMBER
  • 1 POST
I do not get an outside air from my vents without starting my AC. Usually with cars you can get a nice breeze from outside through the AC vents once they are open, but with this Mercedes I just do not know how to open the vents and get air without starting my AC.
Nov 10, 2018 at 8:41 PM
Advertisement
Avatar
STRAILER
  • CERTIFIED EXPERT
  • 53,855 POSTS
Hello,

This system is run by vacuum so I would check the small vacuum line coming into the passenger compartment. Here is a guide to help you see and diagrams to show you what to look for on your car:

https://www.2carpros.com/articles/air-vents-stay-in-the-defrost-position

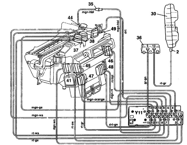
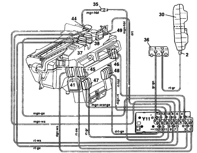
30 Vacuum supply reservoir
35 Cockpit separation point
36 Vacuum valve block
37 Vacuum element for left defroster nozzle flap
38 Vacuum element for right defroster nozzle flap
41 Vacuum element for center nozzle diverter flap
44 Vacuum element for main air flap
45 Vacuum element for left center nozzle blend flap
46 Vacuum element for right center nozzle blend flap
47 Vacuum element for left footwell flap
48 Vacuum element for right footwell flap
49 Vacuum element for recirculated air flap
Y11 Valve block

Vacuum system for automatic air conditioning (auto AC):
With automatic air conditioning, all of the vacuum elements (37-49), which serve for air distribution), are controlled by the vacuum system.

Vacuum is present at the valve block (Y11) from the vacuum supply reservoir (30) and vacuum valve block (36). The valve block (Y11) allows the vacuum to pass to the control for the individual flaps (37-49) depending on the setting on the push button control module.


Color Code:
bl = blue
hbl = light blue
drt = dark red
ge = yellow
mgn = medium green
gr = gray
rt = red
ws = white
sw = black
dgn = dark green

Check out the diagrams (below). Please let us know what you find.

Cheers, Ken
Nov 12, 2018 at 1:18 PM