Bubbles are coming off from radiator

2000 HONDA CIVIC
220 MILES
Avatar
JACK61
  • MEMBER
  • 21 POSTS
Hello,

I have a head gasket problem and when I accelerate bubbles are coming off
from radiator, and coolant inside the radiator is oily.
(no overheat)
I put sealer inside the radiator but it didn't work? Any fix?

Best,
Jack
Nov 17, 2018 at 3:19 PM
Advertisement
Avatar
JACOBANDNICKOLAS
  • CERTIFIED EXPERT
  • 110,175 POSTS
Hi and thanks for using 2CarPros.com.

It sounds like compression is leaking into the cooling system. Most likely, it is a head gasket. Sealers usually do not help with this. Here is a link that shows how to check for a bad head gasket. Do this and let me know what you find.

https://www.2carpros.com/articles/head-gasket-blown-test

Let me know what you find.

Joe
Nov 17, 2018 at 6:51 PM
Avatar
JACK61
  • MEMBER
  • 21 POSTS
I did a block test and the head gasket is blown. Is there a way to fix without changing head gasket?

Nov 17, 2018 at 6:57 PM
Advertisement
Avatar
JACOBANDNICKOLAS
  • CERTIFIED EXPERT
  • 110,175 POSTS
Hi:
Honestly, there are products that are added into the coolant. I have heard some work and others do not, but it is really hard for me to recommend that.

You could check with the local parts store to see what they recommend.

If the vehicle is in good condition other than this, I would replace the gasket, but that is your call.

Let me know if you have other questions.

Take care,
Joe
Nov 17, 2018 at 9:31 PM
Avatar
JACK61
  • MEMBER
  • 21 POSTS
Is it safe to run the car when compression is leaking into the cooling system?
Nov 17, 2018 at 9:46 PM
Avatar
JACOBANDNICKOLAS
  • CERTIFIED EXPERT
  • 110,175 POSTS
Hi again:

That is a tough call. Most likely, it will lead to more problems. I would hate to say drive it and have more damage result. It really should be fixed. If you get the parts, I would be happy to help with directions and guidance.

Joe
Nov 18, 2018 at 5:53 PM
Avatar
JACK61
  • MEMBER
  • 21 POSTS
I need a head gasket. Do you think I can repair it by myself?
Nov 18, 2018 at 5:55 PM
Avatar
JACOBANDNICKOLAS
  • CERTIFIED EXPERT
  • 110,175 POSTS
It is a somewhat involved process. If you have mechanical abilities, tools and the will do to it, it is possible. If you feel uncomfortable doing it, then it may be difficult. The hardest part and most important part is re-timing the engine. The head is a bolt on component with the gasket between it and the cylinder block.

Let me know.

Joe
Nov 18, 2018 at 6:18 PM
Avatar
JACK61
  • MEMBER
  • 21 POSTS
Hello,

My car is not starting. I checked fuel pressure and distributor and those are fine.
What could be the reason?
Jan 12, 2019 at 4:32 PM
Avatar
JACOBANDNICKOLAS
  • CERTIFIED EXPERT
  • 110,175 POSTS
Welcome back:

With a bad head gasket, compression may have gotten too low to run. If the starter can't turn the engine, it's possible one of the cylinders is full of coolant creating a hydro static lock. If the starter turns the engine but it doesn't start, check engine compression. Here are links to help:

https://www.2carpros.com/articles/the-reasons-for-low-compression

https://www.2carpros.com/articles/symptoms-of-low-compression

https://www.2carpros.com/articles/how-to-test-engine-compression

Here are the manufacturer's specs for compression:

Compression [1]
Nominal .................... 1,270 kPa (184 psi)
Minimum .................... 930 kPa (135 psi)
Maximum Variation .................... 200 kPa (28 psi)

[1] At 250 rpm and wide open throttle

If the engine compression is low, it's time to replace the gasket.
_______________________________________
If the gasket hasn't been replaced yet, you should do it. Here are the install directions once you have the engine apart. It indicates torque specs and how to put it back together.

INSTALLATION
Install the cylinder head in the reverse order of removal:

NOTE:
- Always use a new head gasket.
- Cylinder head and cylinder block surface must be clean.
- "UP" mark on the camshaft pulley should be at the top.
- Turn the crankshaft so the No. 1 piston is at TDC.
- Clean the oil control orifice before installing.
- Do not use the upper cover and lower cover to store removed items.
- Clean the upper cover and lower cover before installation.

See picture 1


1. Cylinder head dowel pins must be aligned.

2. Position the camshaft correctly.

3. Tighten the cylinder head bolts sequentially in four steps.

1st step: (1) - (10) 20 Nm (2.0 kgs.cm, 14 ft.lbs.)
2nd step: (1) - (10) Nm (5.0 kgs.cm, 36 ft.lbs.)
3rd step: (1) - (10) Nm (6.8 kgs.cm, 49 ft.lbs.)
4th step: (1), (2) Nm (6.8 kgs.cm, 49 ft.lbs.)

See picture 2


CYLINDER HEAD BOLTS TORQUE SEQUENCE:

Note:
- We recommend using a beam-type torque wrench. When using a preset-type torque wrench, be sure to tighten slowly and not to over-tighten.
- If a bolt makes any noise while you are torquing it, loosen the bolt, and re-tighten it from the 1st step.

4. Install the intake manifold and tighten the nuts in a crisscross pattern in two or three steps, beginning with the inner nuts.
- Always use a new intake manifold gasket.

5. Install the exhaust manifold and tighten the nuts in a crisscross pattern in two or three steps, beginning with the inner nut.
- Always use a new exhaust manifold gasket.

6. Install the exhaust manifold bracket. Install the exhaust pipe A and the bracket, then install the cover.

7. Install the timing belt.

8. Adjust the valve clearance.


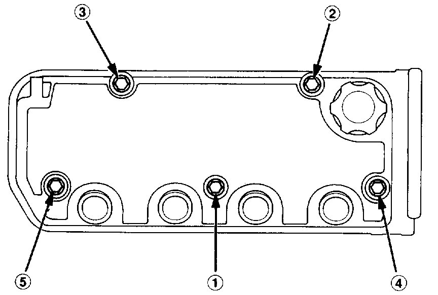
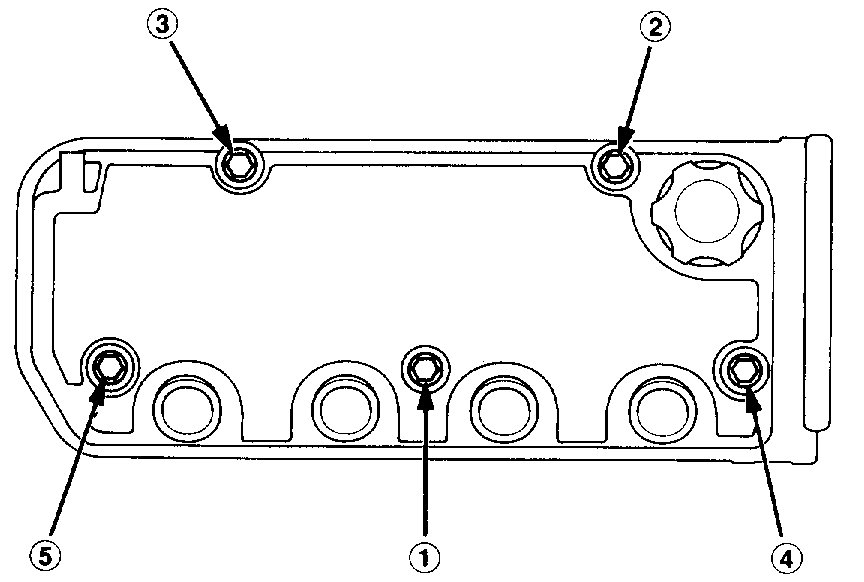
See picture 3


9. Install the head cover gasket in the groove of the cylinder head cover. Seat the recesses for the camshaft first, then work it into the groove around the outside edges.

Note:
- Before installing the head cover gasket, thoroughly clean the seal and the groove.
- When installing, make sure the head cover gasket is seated securely in the corners of the recesses with no gap.


See picture 4


10. Apply liquid gasket to the head cover gasket at the four corners of the recesses.

Note:
- Use liquid gasket, Part No. 08718-0001 or 08718-0003.
- Check that the mating surfaces are clean and dry before applying liquid gasket.
- Do not install the parts if five minutes or more have elapsed since applying liquid gasket. Instead, reapply liquid gasket after removing old residue.
- After assembly, wait at least 30 minutes before filling the engine with oil.


See picture 5

11. When installing the cylinder head cover, hold the head cover gasket in the groove by placing your fingers on the camshaft holder contacting surfaces (top of the semicircles).
Set the spark plug seal on the spark plug tube.
Once the cylinder head cover is on the cylinder head, slide the cover slightly back and forth to seat the head cover gasket.

Note:
- Before installing the cylinder head cover, clean the cylinder head contacting surfaces with a shop towel.
- Do not touch the parts where liquid gasket was applied.
- Take care not to damage the spark plug seals when installing the cylinder head cover.
- Visually check the spark plug seals for damage.
- Replace any washer that is damaged or deteriorated.


See picture 6


12. Tighten the nuts in two or three steps. In the final step, tighten all bolts, in sequence, to 9.8 Nm (1.0 kgs.cm, 7.2 ft.lbs.).

Note: After assembly, wait at least 30 minutes before filling the engine with oil.

13. After installation, check that all tubes, hoses and connectors are installed correctly.


______________________________________________________

Timing belt removal and replacement will be required to remove the head. Here are the directions for that.

REMOVAL

Note:
- Replace the timing belt at 105,000 miles (168,000 km) according to the maintenance schedule (normal conditions/severe conditions).
If the vehicle is regularly driven in one or more of the following conditions, replace the timing belt at 60,000 miles (U.S.A.) 100,000 km (Canada).
- In very high temperatures (over 110°F, 43°C).
- In very low temperatures (under -20°F, -29°C).
- Turn the crankshaft pulley so the No. 1 piston is at Top Dead Center (TDC) before removing the belt.
- Inspect the water pump before installing the timing belt.

1. Remove the splash shield.


See picture 7


2. Loosen the mounting bolt and lock bolt, then remove the Power Steering (P/S) pump belt and pump.
3. Loosen the idler pulley center nut and adjusting bolt, then remove the Air conditioning (A/C) compressor belt.


See picture 8


4. Loosen the mounting nut and lock bolt, then remove the alternator belt.


See picture 9

5. Remove the dipstick, then remove the upper cover and idler pulley bracket.

Note: Do not use the upper cover to store removed items.

6. Remove the upper bracket.

Note:
- Use a jack to support the engine before the upper bracket is removed.
- Make sure to place a cushion between the oil pan and the jack.

7. Remove the crankshaft pulley.


See picture 10


8. Remove the lower cover and dipstick tube.

NOTE: Do not use the lower cover to store removed items.

See picture 11


9. Remove the CKF sensor from the oil pump.


See picture 12


10. Loosen the adjusting bolt 180°. Push the tensioner to remove tension from the timing belt, then re-tighten the adjusting bolt.
11. Remove the timing belt.

INSTALLATION
Install the timing belt in the reverse order of removal; Only key points are described here.


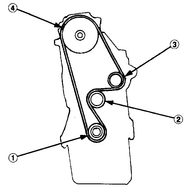
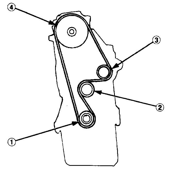
See picture 13


1. Set the timing belt drive pulley so that the No. 1 piston is at Top Dead Center (TDC). Align the groove on the timing belt drive pulley to the pointer on the oil pump.


See picture 14


2. Set the camshaft pulley to TDC. Align the TDC marks on the camshaft pulley to the cylinder head surface.
3. Install the timing belt tightly in the sequence shown. (1) Timing belt drive pulley (crankshaft) -> (2) Adjusting pulley -> (3) Water pump pulley -> (4) Camshaft pulley.

Note: Make sure the timing belt drive pulley and camshaft pulley are at TDC.


See picture 15


4. Loosen and re-tighten the adjusting bolt to tension the timing belt.
5. Install the lower cover and upper cover.

Note: Clean the upper and lower covers before installation.

6. Install the crankshaft pulley, then tighten the pulley bolt.
7. Rotate the crankshaft pulley about five or six turns counterclockwise so that the timing belt positions on the pulleys.
8. Adjust the timing belt tension.


See picture 16


9. Check that the crankshaft pulley and camshaft pulley are both at TDC.
10. If the camshaft and crankshaft pulleys are not positioned at TDC, remove the timing belt and adjust the position. Then reinstall the timing belt.
11. After installation, adjust the tension of each belt.

_____________________________________________________

Let me know if this helps or if you have other questions.

Joe
Jan 12, 2019 at 9:54 PM
Avatar
JACK61
  • MEMBER
  • 21 POSTS
Hello,

I checked the compression for four cylinders and it was 150 psi. Again I wonder what could be the problem? Could it be distributor or timing belt?
Jan 13, 2019 at 7:07 PM
Avatar
JACOBANDNICKOLAS
  • CERTIFIED EXPERT
  • 110,175 POSTS
Welcome back:
If the timing belt is off, yes it won't run. Will it start if you use starting fluid?
Jan 13, 2019 at 8:21 PM
Avatar
JACK61
  • MEMBER
  • 21 POSTS
Hello,
I changed the engine. What problems the new engine on different car can cause and what should I inspect thoroughly to put up with the new engine e.g., transmission, ...?
Jan 27, 2019 at 5:43 PM
Avatar
JACOBANDNICKOLAS
  • CERTIFIED EXPERT
  • 110,175 POSTS
Welcome back:

If the engine was just replaced, pay close attention to fluid levels at first to make sure everything is full and there are no leaks. As far as problems, as long as it was done correctly, there shouldn't be anything to worry about. The transmission shouldn't be any different now than it was with the old engine. However, if you removed it too, make sure the fluid is full.

Feel free to come back if you have questions.

Take care,

Joe
Jan 27, 2019 at 6:10 PM
Avatar
JACK61
  • MEMBER
  • 21 POSTS
Hello, we changed the engine and now I noticed of small oil leaking around oil pan. What is the best way to stop leaking?

My second question is irrelevant to engine. The wiper blades sometime stop moving and when I pull the blades manually with my hand, they start to move, or when I run to a bump in the road, it works. My mechanic told me he changed the motor, but still this problem exist.

Thanks for your help in advance.
Feb 26, 2019 at 9:15 PM
Avatar
JACOBANDNICKOLAS
  • CERTIFIED EXPERT
  • 110,175 POSTS
Welcome back:

First, make sure the oil isn't coming from higher on the engine from the valve cover. Also, check the oil filter on the back side of the engine, and check the oil pressure switch. If they are dry and you are certain the pan gasket is leaking, here are the directions for replacement. The attached pictures correlate with these directions.

OIL PAN INSTALLATION

B16A2, D16Y7 Engines:


Picture 1

1. Apply liquid gasket on the oil pump and right side cover mating areas as shown below.

NOTE:
- Use liquid gasket, part No. 08718-0001 or 08718-0003.
- Check that the mating surfaces are clean and dry before applying liquid gasket.
- Apply liquid gasket as an even bead, centered between the edges of the mating surface.
- To prevent oil leakage, apply liquid gasket to the inner threads of the bolt holes.
- Do not install the parts if five minutes or more have elapsed since applying the liquid gasket. Instead, reapply liquid gasket after removing the old residue.
- After assembly, wait at least 30 minutes before filling the engine with oil.


Picture 2

2. Install the oil pan gasket and oil pan.

NOTE:
- Use a new oil pan gasket.
- Install the oil pan no more than five minutes after applying liquid gasket.


Picture 3

3. Tighten the bolts and nuts finger tight at six points as shown below.

4. Tighten all bolts and nuts, starting from nut (1), clock wise in three steps.

NOTE: Excessive tightening can cause distortion of the oil pan gasket and oil leakage.

Torque: 12 Nm 11.2 kgs.cm, 8.7 ft.lbs.)


D16Y5, D16Y8 Engines:


Picture 4

1. Install the oil pan gasket on the oil pan.

2. Apply liquid gasket to the block mating surfaces of the oil pan, then install it. Apply liquid gasket to the shaded areas.

NOTE:
- Use liquid gasket part No. 08718-0001 or 08718-0003.
- Check that the mating surfaces are clean and dry before applying liquid gasket.
- Apply liquid gasket as an even bead, centered between the edges of the mating surface.
- To prevent leakage of oil, apply liquid gasket to the inner threads of the bolt holes.
- Do not install the parts if five minutes or more have elapsed since applying the liquid gasket.
Instead, reapply liquid gasket after removing the old residue.
- After assembly, wait at least 30 minutes before filling the engine with oil.


Picture 5

3. Tighten nuts finger-tight at six points as shown.


Picture 6

4. Tighten all bolts and nuts, starting from nut (1), clockwise in three steps.

NOTE: Excessive tightening can cause distortion of the oil pan gasket and oil leakage.

Torque: 12 Nm (1.2 kgs.cm, 8.7 ft.lbs.)

___________________________________________________

As far as the wiper, I need you to start a new thread. We are trying to keep all threads focused on a specific type of repair so it is more likely to help others.

I will watch for your other post.

Let me know if this helps,

Joe
Feb 27, 2019 at 7:45 PM