Camshaft synchronizer

2014 FORD F-150
121,000 MILES • 4.2L • V6 • 2WD • MANUAL
Avatar
GEORGE R.
  • MEMBER
  • 3 POSTS
At a local Ford dealer, the mechanic removed the synchronizer to change the sensor. He did not mark it, now it runs worse than it did before. What is wrong with it?
Dec 22, 2018 at 11:22 AM
Advertisement
Avatar
ASEMASTER6371
  • CERTIFIED EXPERT
  • 52,796 POSTS
Good afternoon,

First of all, take it back to them and have resolve it.

What was the original issue that made them conclude it was failed?

Can you verify the engine? 2014 did not have a 4.2.

Then I can get the procedure for you.


Roy

Roy
Dec 22, 2018 at 11:43 AM
Avatar
GEORGE R.
  • MEMBER
  • 3 POSTS
I let them have the truck in September. It is an 03 F-150, They will not return my calls.
Dec 23, 2018 at 11:16 AM
Advertisement
Avatar
ASEMASTER6371
  • CERTIFIED EXPERT
  • 52,796 POSTS
That is a big difference from a 2014. I will check.

If they have it and wont return calls, why are you leaving it there? get it out of there to somewhere that will help you.

Let me get the information.

Roy

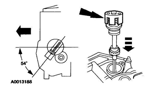
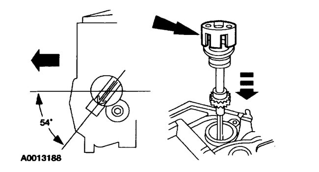
INSTALLATION



imageOpen In New TabZoom/Print



1. Install the Synchro Positioning Tool on the camshaft synchronizer by rotating the tool until it engages the notch in the camshaft synchronizer housing.

CAUTION: A Synchro Positioning Tool must be used during the installation of the replacement synchronizer assembly. Failure to follow this procedure will result in the fuel system being out of time with the engine, possibly causing engine damage.



imageOpen In New TabZoom/Print



2. Install the camshaft synchronizer housing assembly so the arrow on the Synchro Positioning Tool is 54 degrees from the centerline of the engine.

NOTE: During installation, the arrow on the synchronizer alignment tool will rotate clockwise as the gears engage.
Dec 23, 2018 at 11:31 AM