hour running around town my car starts to get hot?

2007 CHRYSLER PT CRUISER
177,000 MILES • AUTOMATIC
Avatar
MICHAELAHURD
  • MEMBER
  • 1 POST
After about an hour running around town my car starts to get hot. It will bubble when I turn the car off. Do I need a radiator flush or something?
Jun 5, 2019 at 9:10 AM
Advertisement
Avatar
JACOBANDNICKOLAS
  • CERTIFIED EXPERT
  • 110,175 POSTS
Welcome to 2CarPros.

First, are you certain the coolant level is full in the cooling system? Is there anything blocking air flow through the radiator (debris)? Make sure the cooling fins on the radiator are clean and unobstructed. You can take a garden hose and spray any dirt off the radiator.

Next, when the AC is turned on, is one of the cooling fans under the hood also turning on? When it starts getting hot, do you hear the fans running? If you drive at highway speeds, does it overheat?

As far as your question, it is very possible that the radiator needs flushed as well as the entire cooling system. However, since it takes an hour of in town driving for this to happen, I have a feeling it is one of the fan motors.

Take a look through this link. It discusses how the electric cooling fans work.

https://www.2carpros.com/articles/how-an-electric-cooling-fan-works

If you can, pay attention to see if they are turning on. If they are, then I would suggest flushing the cooling system and replacing the thermostat. If they aren't turning on, we will have to check for a bad blower motor, relay, fuse...

Here are some general links to help if you find the fans aren't working:

https://www.2carpros.com/articles/replace-electric-fan-motor

Here are links for flushing the cooling and refilling as well as a link that shows in general how to replace a thermostat. Please keep in mind, never open the cooling system when the engine is hot. Allow it to completely cool off first. Also, if you plan to flush the cooling system, that is the time to also replace the thermostat because the coolant will already be removed.

https://www.2carpros.com/articles/coolant-flush-and-refill-all-cars

https://www.2carpros.com/articles/how-an-engine-thermostat-works

https://www.2carpros.com/articles/replace-thermostat

_____________________________

Here are directions for thermostat replacement specific to your vehicle. The attached pictures correlate with the directions.

____________________________

2.0L/2.4L ENGINE


pic 1

1. Remove upper intake manifold.
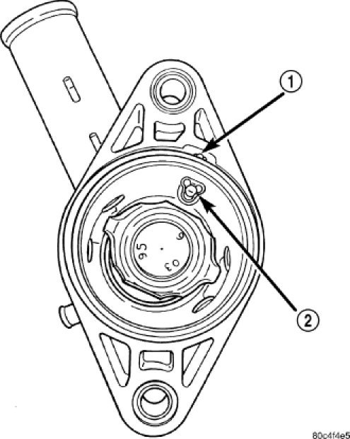
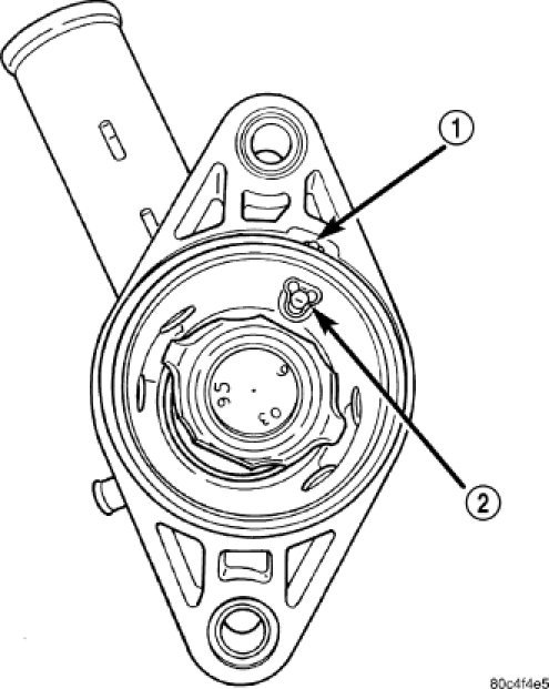
2. Partially drain cooling system below the thermostat level.
3. Disconnect upper radiator hose from outlet connector (2).
4. Disconnect coolant recovery system hose from outlet connector.
5. Turbocharger equipped vehicles:
- Remove fastener securing A/C suction line support bracket to coolant outlet connector stud.
- Unclip A/C suction line support bracket from A/C suction line. Reposition bracket.

6. Remove coolant outlet connector bolts.
7. Remove thermostat assembly, and clean sealing surfaces.

__________________________

Install

2.0L/2.4L ENGINE


pic 2

1. Place the new thermostat assembly into the coolant outlet connector, aligning air bleed (2) with the location notch on outlet connector.


pic 3

2. Install coolant outlet connector with thermostat in position onto thermostat housing (4). Tighten bolts to 12.5 Nm (110 in. lbs.).
3. Turbocharger equipped vehicles:
- Attach A/C suction line support bracket to A/C suction line.
- Install fastener securing A/C suction line support bracket to coolant outlet connector.

4. Connect upper radiator hose.
5. Connect the coolant recovery system hose.
6. Install upper intake manifold.
7. Fill cooling system.

_______________________

Let me know if this helps or if you have other questions. Also, let me know what you find with the cooling fans.

Take care,
Joe
Jun 5, 2019 at 7:36 PM