Will not stay running

1990 CHRYSLER LE BARON
110,000 MILES • 3.0L • V6 • 2WD • AUTOMATIC
Avatar
BENDER3531
  • MEMBER
  • 1 POST
I have replaced the ignition coil. checked spark plug wires, taken the distributor cap off, and checked the rotary everything was good. I have not yet checked the spark at the end of the plugs. It was running fine one night and went to start it to leave for work the next morning and will not start. It was sudden and there were no signs. It has been a month or so and still will not start.
Mar 5, 2021 at 12:16 PM
Advertisement
Avatar
JACOBANDNICKOLAS
  • CERTIFIED EXPERT
  • 110,175 POSTS
Hi,

You indicated it won't stay running. I assume it is starting and then stalling. Here is what I need you to do. First, we need to check for spark and fuel to the engine. The fuel pump may have failed or the optical sensor (pick up coil) in the distributor may have failed.

Here are two links. The first explains how to check for ignition spark and the second is for checking fuel pressure.

https://www.2carpros.com/articles/how-to-test-an-ignition-system

https://www.2carpros.com/articles/how-to-check-fuel-system-pressure-and-regulator

Also, here is a link that explains the most common causes of a crank no start condition. Take a look through this as well.

https://www.2carpros.com/articles/car-cranks-but-wont-start

______________________________

Here are directions specific to your vehicle for testing fuel pressure. The pics below correlate with the. edirections. Also, the manufacturer's specs are included in the directions.

_____________________________

1990 Chrysler Lebaron Sedan V6-181 2972cc 3.0L SOHC VIN 3 FI
Fuel Pressure Test
Vehicle Powertrain Management Fuel Delivery and Air Induction Fuel Pump Fuel Pressure Testing and Inspection Component Tests and General Diagnostics Fuel Pressure Test
FUEL PRESSURE TEST
NOTE: The following test procedures assume that the ignition system is functioning, and that a good spark is evident at the plugs. Ensure that this is the case prior to proceeding with fuel system diagnosis.

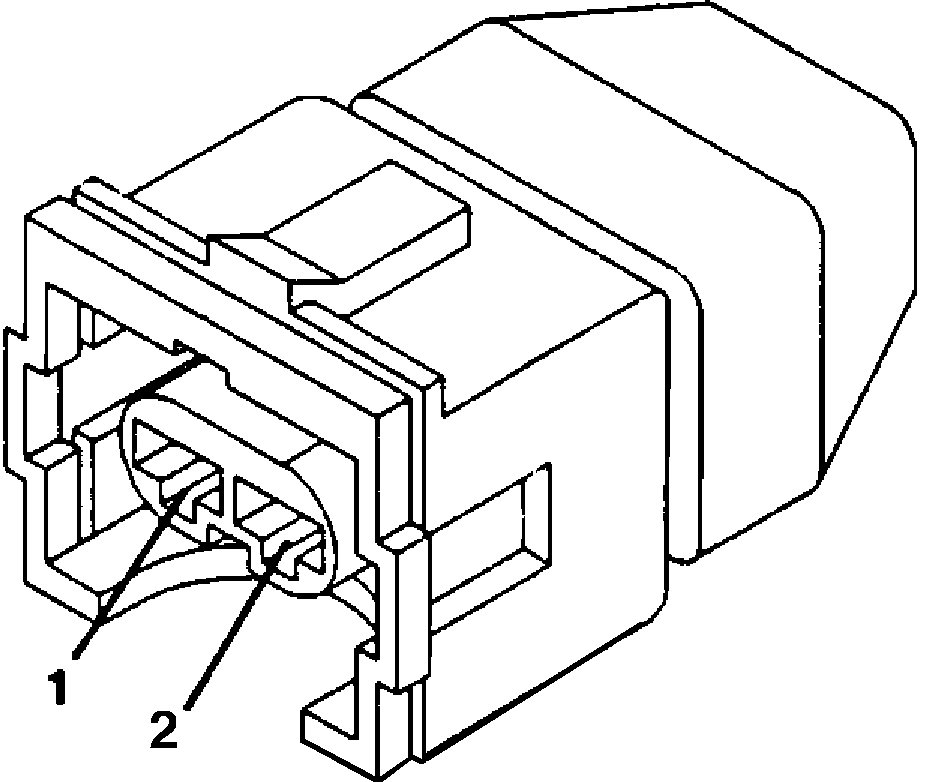
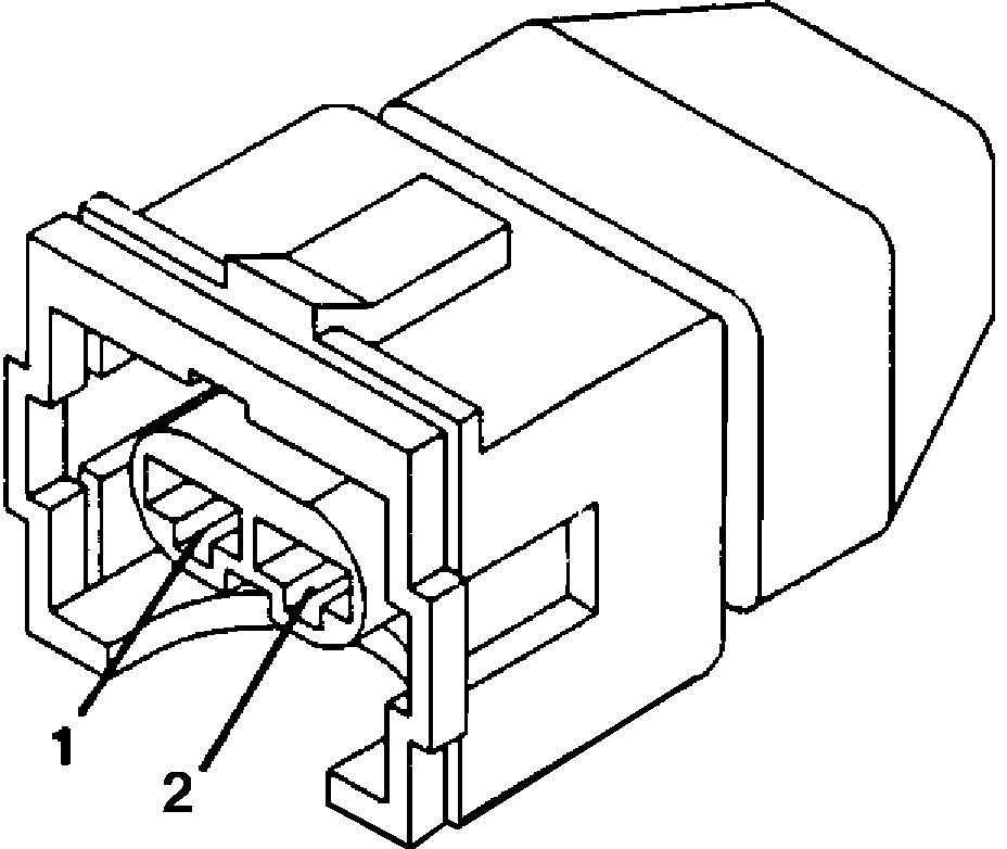
Fuel Injector Connector

pic 1



1. Release fuel system pressure.
2. Disconnect the fuel supply hose from the fuel rail, and install fuel line adaptor, tool number C-4799 or equivalent.
Fuel Line Disconnect Tool 6182

pic 2

Using Fuel Tube Disconnect Tool No. 6182

pic 3

3. Connect fuel system pressure gauge, tool number C-3292 or equivalent, with a range of 0-60 psi to the adaptor.
4. Place ignition switch in RUN position to activate fuel pump and pressurize system. If fuel pump fails to actuate, check Auto Shut Down (ASD) relay operation.
5. After actuating fuel pump the gauge should read approximately 48 psi (330 kPa).
- If fuel pressure is below specification proceed to step 6.
- If fuel pressure is above specification proceed to step 7.
- If pressure is within specified limits problem is injector related.
See: Fuel Injector > Testing and Inspection


6. If fuel pressure is below specification, move pressure gauge to fuel supply line and install between fuel tank and fuel filter. Repeat test procedure, and check fuel system pressure. If pressure is 5 psi higher than previous reading and within specification, replace fuel filter. If no change occurs in pressure, gently squeeze fuel return hose. If pressure increases to specification, replace fuel pressure regulator. If no change in pressure occurs, the fuel pump is defective and must be replaced.
7. If fuel pressure is above 48 psi (330 kPa) remove fuel return hose from fuel pressure regulator end, and install a suitable hose from fuel pressure regulator output. Place the other end of the hose in a clean and approved container. Start engine and observe fuel pressure. If pressure is now within specification, problem is a restriction in fuel return line, or an obstructed fuel return check valve in tank. Clear return line obstruction if necessary, and or replace fuel tank assembly if in-tank check valve is obstructed. If pressure is still above specification replace fuel pressure regulator.

____________________________

Let me know what you find or if you have other questions.

Take care and God Bless,

Joe
Mar 5, 2021 at 11:52 PM