Hi, :-)
I saw you had responded to someone else with a car like mine back in 2017. I took this car into the mechanic over a year ago because it needed some engine work. But somehow in the process the key stopped making the car turn on. Just nothing happens. It's not the starter, the battery, etc. I got another computer for it from Flagship 1 and still nothing.
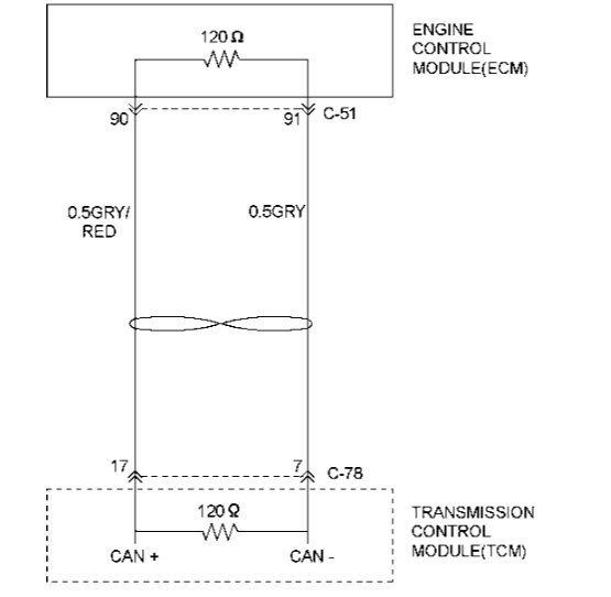
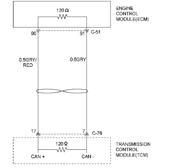
On the recommendation of a locksmith, I put the original computer back in and got the code P1767 back as the only code. Basically, the dashboard lights up, but the key does nothing.
My understanding is there is an issue between the computer, the security system, the transponder and the key. But I'm stuck. The locksmith said he needed the PIN codes for the computer, but I can't get any PIN codes. He also said I could get the computer programmed to the key, but I can't find a way to do that either. So, I'm really looking for a solution. The car should work after the repairs are made; I just can't get it to respond to the key.
Help!
Aloha, Ano
I saw you had responded to someone else with a car like mine back in 2017. I took this car into the mechanic over a year ago because it needed some engine work. But somehow in the process the key stopped making the car turn on. Just nothing happens. It's not the starter, the battery, etc. I got another computer for it from Flagship 1 and still nothing.
On the recommendation of a locksmith, I put the original computer back in and got the code P1767 back as the only code. Basically, the dashboard lights up, but the key does nothing.
My understanding is there is an issue between the computer, the security system, the transponder and the key. But I'm stuck. The locksmith said he needed the PIN codes for the computer, but I can't get any PIN codes. He also said I could get the computer programmed to the key, but I can't find a way to do that either. So, I'm really looking for a solution. The car should work after the repairs are made; I just can't get it to respond to the key.
Help!
Aloha, Ano
Jul 12, 2024 at 10:55 AM






