Engine will not turn over?

1999 BUICK LESABRE
2,000,000 MILES • 3.8L • V6 • 2WD • AUTOMATIC
Avatar
FIREFIGHTER2017428
  • MEMBER
  • 1 POST
Car will not even turn over. Security light okay, new starter new battery, and fusee are all fine. What could it be?
Dec 22, 2017 at 1:15 PM
Advertisement
Avatar
JACOBANDNICKOLAS
  • CERTIFIED EXPERT
  • 110,175 POSTS
If it will not crank, first check to see if there is power to the smaller wire on the starter when the key is in the start position. If there is not check the starter relay in the relay box under the hood to see if there is power there. Also, there is a main ignition fuse (60 amp). I attached a diagram of where it is in the fuse box under the hood. Check it. If that is good, check for a bad neutral safety switch. Here is a video for that:

https://www.2carpros.com/articles/how-a-neutral-safety-switch-works

this guide can help as well

https://www.2carpros.com/articles/starter-not-working-repair

Please run down this guide and report back.
Dec 23, 2017 at 4:39 PM
Avatar
AVOYAGER
  • MEMBER
  • 2 POSTS
Even with a jump, my 99 lesabre won't turn over.
I removed, cleaned, reassembled, and tightened the battery connections.
Battery seems strong.
When I turn the key, all the lights blink about every second continuously, like a pulsing.
It's very strange.
I've had lots of dead batteries over the years but this behavior has me baffled.
I get the same result whether or not I'm jumping the vehicle.
I use very large jumper cables connected to a chevy venture (which I think has plenty of amps to spare).
Any idea's on what might be the problem?
Or, what to check next?
Thanks!
Aug 6, 2020 at 9:33 AM (Merged)
Advertisement
Avatar
RASMATAZ
  • CERTIFIED EXPERT
  • 75,992 POSTS
Try shorting out the starter solenoid and see what happens
Aug 6, 2020 at 9:33 AM (Merged)
Avatar
AVOYAGER
  • MEMBER
  • 2 POSTS
This problem was resolved by replacing the battery w/a new one AND thoroughly cleaning the cable connections to the battery.
rasmataz suggested shorting the solenoid on the starter (thanks for the tip!).
This I did and the engine tried to turn over but failed due to lack of power.
As part of the new battery install, I pulled all the rubber boots off of the red cable connectors and found lots of corrosion. I thoroughly cleaned off the corrosion and sprayed anti-corrosion onto the parts before reassembling.
Starts like a champ again.
Aug 6, 2020 at 9:33 AM (Merged)
Avatar
TIM215
  • MEMBER
  • 1 POST
The car won't crank. It has a new battery and I can jump the starter but it will only run for a few seconds and then shut down. I also have replaced the ignition switch on the column. What can it be?
Aug 6, 2020 at 9:33 AM (Merged)
Avatar
RASMATAZ
  • CERTIFIED EXPERT
  • 75,992 POSTS
Do you have a check engine light On or has flashed before this happened.

Sounds like the ignition system is not being powered up-disconnect a sparkplug wire and ground it to the engine, have helper to crank engine over -do you have spark?
Aug 6, 2020 at 9:33 AM (Merged)
Avatar
KDROBERTS
  • MEMBER
  • 1 POST
Replaced starter several months ago and didnt rplace shroud. January hits with snow starter drags and grinds a little, thought I had ice build up. Let it thaw and set for a few weeks. Now battery seems low as it won't turn over. Hooked booster up, turn key to on and dash lights go crazy, especially heater button lights. They start flashing in a pattern. Car turns over with booster attached and only fired once but wouldn't run. Any suggestions?
Aug 6, 2020 at 9:33 AM (Merged)
Avatar
RASMATAZ
  • CERTIFIED EXPERT
  • 75,992 POSTS
Have the battery load tested to check its condition and check starter solenoid and ignition switch-Cranks over and will not start Do below to determine if its fuel or spark problem

Get a helper disconnect a sparkplug wire or 2 and ground it to the engine atleast 3/16 away from ground-have helper crank engine over-do you have a snapping blue spark? If so-you have a fuel related problem, Do you hear the fuel pump come On when you turn key on? If not check fuel pump fuse and fuel pump relay if okay-check the fuel pressure to rule out the fuel filter/fuel pump/pressure regulator and listen to the injector/s are they pulsing or hook up a noid light. No snapping blue spark continue to troubleshoot the ignition system-power input to the coil/coil packs,coil's resistances,cap and rotor,distributor pick-up coil, ignition control module, cam and crank sensors and computer Note: If it doesn't apply disregard it and keep testing
Aug 6, 2020 at 9:33 AM (Merged)
Avatar
  • MEMBER
  • 2 POSTS
New battery new starter. New battery cables . I turn the key to start it and nothing.
Aug 6, 2020 at 9:34 AM (Merged)
Avatar
SCGRANTURISMO
  • CERTIFIED EXPERT
  • 4,897 POSTS
Hello,

Is your vehicle's security light flashing?

Thanks,
Alex
2CarPros
Aug 6, 2020 at 9:34 AM (Merged)
Avatar
LUVBIRD27
  • MEMBER
  • 1 POST
Other Category problem
1999 Buick Lesabre 174000 miles
----------------------------------------------------------------
My car will not start. Its just kinda making like a clicking sound sometimes and then it sounds like something is spinning when I try to start it. I think it may be the starter. Where is it located?
Aug 6, 2020 at 9:34 AM (Merged)
Avatar
DENNYP
  • CERTIFIED EXPERT
  • 1,824 POSTS
If it is a rapid clicking,you need to have the battery tested.
Aug 6, 2020 at 9:34 AM (Merged)
Avatar
2CP-ARCHIVES
  • MEMBER
  • 4,540 POSTS
98 Buick LeSabre won't crank. When I turn the key to start the check engine light, security light and voltmeter do not work. I can get the starter to crank by removing the start enable relay from under the dash and putting a jumper wire across it. When I turn the key the engine cranks but won't fire. I don't hear the fuel pump running but I do hear a relay click when I turn the key to start. Also I don't have turn signals or back up lights. Everything else electrical seems to work. I was acting up for several days but would eventually start after several tries. Now I can't get it to start at all. I think there is a burnt smell down under the dash on drivers side, but haven't found any broken wires so far.
Aug 6, 2020 at 9:34 AM (Merged)
Avatar
HMAC300
  • CERTIFIED EXPERT
  • 48,601 POSTS
Hello,

These cars had a problem with two small wires at the ignition switch that break and need to be fixed for the starter to work here are guides to help you fix the problem.

Check out the diagrams (Below). Let us know what happens and please upload pictures or videos of the problem.

Cheers
Aug 6, 2020 at 9:34 AM (Merged)
Avatar
LILGUY23@BG
  • MEMBER
  • 2 POSTS
Car was working fine but I wanted to change the brake pads. I then tried to start the car and it wouldn't start. Cleaned the battery cables, checked all fuses, checked battery voltage, and the neutral start switch is fine. Fuel pump will run for 15 seconds. Decided to replace the starter. Starter will crank when you jump it at the starter, car still won't start. Installed reader and no codes show up. I suspect it's one of the relays under the firewall, but I don't know which one as I can't find a schematic that shows what they are. Any help would be much appreciated. Thank you.
Aug 6, 2020 at 9:35 AM (Merged)
Avatar
JACOBANDNICKOLAS
  • CERTIFIED EXPERT
  • 110,175 POSTS
Welcome to 2CarPros.

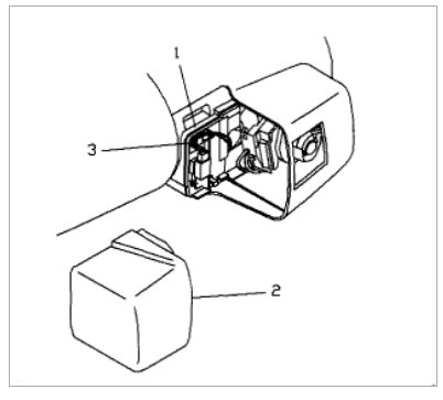
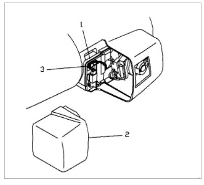
First, I attached the entire starting system schematic for you. I had to cut it into two parts so it was readable, but I did overlap them so you could follow it. Also, there is a starter enable relay under the dash that should be checked. Picture 3 shows what I am referring to.

Here is a link that explains how to test a relay. I noted you are a mechanic, but thought it may be helpful.

https://www.2carpros.com/articles/how-to-check-an-electrical-relay-and-wiring-control-circuit

Let me know if this helps or if you have other questions.

Take care,
Joe
Aug 6, 2020 at 9:35 AM (Merged)
Avatar
LILGUY23@BG
  • MEMBER
  • 2 POSTS
Can anyone tell me anything about the anti-theft system to get the car started again? Since the car is so old we no longer have the key fob or an extra key to try getting it started. Where can we find a diagram of the relays under the firewall that tells what each relay does? Thank you.
Aug 6, 2020 at 9:35 AM (Merged)
Avatar
DANNY L
  • CERTIFIED EXPERT
  • 5,648 POSTS
Hello,

If you want to try a anti-theft/security system reset here is the tutorial:

https://www.2carpros.com/articles/how-to-reset-a-security-system

Scroll the page to find Buick.Hope this helps and thanks for again using 2CarPros.

Danny-
Aug 6, 2020 at 9:35 AM (Merged)
Avatar
TERRYS10
  • MEMBER
  • 6 POSTS
The engine was running just fine and suddenly, while driving, began to misfire and loose power, I managed to make it to my destination, but was unable to start it when I was ready to leave. I checked spark at the ignition coils and got a pretty good orangish arc. I also verified the fuel pump is pumping at least 20 PSI (gauge limit). Plugs look a bit oily but okay otherwise. I did not check spark at the plugs. With the key in the on position I have 6 volts on all fuel injector connectors. Any thoughts?
Aug 6, 2020 at 9:35 AM (Merged)
Avatar
WRENCHTECH
  • CERTIFIED EXPERT
  • 20,761 POSTS
Correct fuel pressure is very important so it needs to be measured more accurately.
The spec for this engine is 48 - 55 psi
Aug 6, 2020 at 9:35 AM (Merged)
Avatar
TERRYS10
  • MEMBER
  • 6 POSTS
I checked the fuel pressure again with a gauge that measures high enough and find the pressure to be about 57 PSI.
Aug 6, 2020 at 9:35 AM (Merged)
Avatar
WRENCHTECH
  • CERTIFIED EXPERT
  • 20,761 POSTS
[quote:dcf1d006a1]With the key in the on position I have 6 volts on all fuel injector connectors. [/quote:dcf1d006a1]


Are you sure about that? You have a 12 volt system so that is something that you need to get to the bottom of. Check it again and if you really only have 6 volts, then unplug all of the injectors and measure it again. If it comes up to 12v now, leave the meter attached and start plugging in injectors one at a time. If the voltage suddenly drops again, that injector is shorted out.
Aug 6, 2020 at 9:35 AM (Merged)
Avatar
TERRYS10
  • MEMBER
  • 6 POSTS
Yes, I originally checked with all connectors disconnected, but I just did it again to confirm and yes with the key in the on/run position all connectors have 6.01 VDC - 6.05 VDC present.
Aug 6, 2020 at 9:35 AM (Merged)
Avatar
ALEXTONY
  • MEMBER
  • 1 POST
having a prob with my 1998 lesabre. I noticed a few days ago that it seemed to crank a bit longer and it seemed that the battery seemed a bit weaker. Also when the engine cranked I noticed teh speedometer needle moved up past 70 mph while the engine cranked. But the car started until last night. As the day went on yesterday it labored to start until it just would not even crank over. I pulled the battery and took it into a shop to have it tested and it came back good. my question now is where do I go from here? I cleaned the battery cables with a wire brush and they seemed clean. when I reinstalled the battery all the dash lights and windows and eveything seemed ok but when I turned the key not a peep from under the hood not even the selenoid made noise? Any help wouod be appreciated thank you
Aug 6, 2020 at 9:35 AM (Merged)
Avatar
DOCFIXIT
  • CERTIFIED EXPERT
  • 18,828 POSTS
Check voltage at starter batt treminal should be same as batt. Next check voltage at solenoid terminal while key is turned to start. If both good then replace starter
Aug 6, 2020 at 9:35 AM (Merged)
Avatar
WRENCHTECH
  • CERTIFIED EXPERT
  • 20,761 POSTS
Check the voltage on both sides at INJECTOR fuse #7, 10amp in the dash fuse box.
Aug 6, 2020 at 9:35 AM (Merged)
Avatar
TERRYS10
  • MEMBER
  • 6 POSTS
There are 2 - #7 fuses in my dash box; 1 is 7D which is labeled '10A TCC' and the other is 7E labeled '10A NON-OBDII MISC ENGINE' (no fuses in 7A - 7C).

I measured 12 volts on both sides of both fuses.

Oh, thank you by the way.
Aug 6, 2020 at 9:35 AM (Merged)
Avatar
WRENCHTECH
  • CERTIFIED EXPERT
  • 20,761 POSTS
I think your in the wrong box It's right here


https://www.2carpros.com/forum/automotive_pictures/561653_Fuse_box_98_Lesabre_1.jpg

Aug 6, 2020 at 9:35 AM (Merged)
Avatar
TERRYS10
  • MEMBER
  • 6 POSTS
Man, they could have made that fuse box harder to find.

I measured 12 VDC on both sides.
Aug 6, 2020 at 9:35 AM (Merged)
Avatar
MANDYMAE83
  • MEMBER
  • 1 POST
checked the connections and it has spark.
Aug 6, 2020 at 9:35 AM (Merged)
Avatar
WRENCHTECH
  • CERTIFIED EXPERT
  • 20,761 POSTS
The injector power goes directly from there to the injectors so you need to find the connector or whatever is causing you to lose that power between that fuse and the injector.
Aug 6, 2020 at 9:35 AM (Merged)
Avatar
RASMATAZ
  • CERTIFIED EXPERT
  • 75,992 POSTS
Do you hear the fuel pump come On when you turn key on? If not check fuel pump fuse and fuel pump relay if so, check the fuel pressure to rule out the fuel filter/fuel pump/pressure regulator and listen to the injector/s are they pulsing or hook up a noid light.
Aug 6, 2020 at 9:35 AM (Merged)
Avatar
TERRYS10
  • MEMBER
  • 6 POSTS
I originally measured 6VDC across the injector connectors. When I measure the hot wire on the connector to GND I get 12 volts.

Does this indicate an issue with the PCM? What voltage level would I expect to see across the connector?
Aug 6, 2020 at 9:35 AM (Merged)
Avatar
WRENCHTECH
  • CERTIFIED EXPERT
  • 20,761 POSTS
No, it just means you just wasted a bunch of time because you didn't know how to measure it. That line back to the computer is nothing but an open circuit to the quad drivers and your real lucky you didn't jump them together or you could have taken out the computer. Your back to square one which is where we should have started.

Here is the procedure. Do every single test.

All "crank, no start" conditions are approached in the same way. Every engine requires certain functions to be able to run. Some of these functions rely on specific components to work and some components are part of more than one function so it is important to see the whole picture to be able to conclude anything about what may have failed. Also, these functions can ONLY be tested during the failure. Any other time and they will simply test good because the problem isn't present at the moment.
If you approach this in any other way, you are merely guessing and that only serves to replace unnecessary parts and wastes money.



Every engine requires spark, fuel and compression to run. That's what we have to look for.

These are the basics that need to be tested and will give us the info required to isolate a cause.

1) Test for spark at the plug end of the wire using a spark tester. If none found, check for power supply on the + terminal of the coil with the key on.


2) Test for injector pulse using a small bulb called a noid light. If none found, check for power supply at one side of the injector with the key on.


3) Use a fuel pressure gauge to test for correct fuel pressure, also noticing if the pressure holds when key is shut off.

4) If all of these things check good, then you would need to do a complete compression test.
Aug 6, 2020 at 9:35 AM (Merged)
Avatar
LP43_1955
  • MEMBER
  • 1 POST
Engine Mechanical problem
1998 Buick Lesabre 6 cyl Two Wheel Drive Automatic

If it has run out of fuel. I put some fuel in it and it will still not start.......is the fuel line at the top of the fuel tank and is that why it is not geeting fuel............check the port on the engine and nothing came out of it..........Need to know what is wrong with this vehicle
Aug 6, 2020 at 9:35 AM (Merged)
Avatar
WRENCHTECH
  • CERTIFIED EXPERT
  • 20,761 POSTS
In tank fuel pumps are cooled and lubricated by the fuel in the tank. When you run a car

out of gas or very low, it pumps a lot of air through the pump which overheats it and causes

some severe wear and many times, failure when they cool off.
You will need to use a fuel pressure gauge to verify this
Aug 6, 2020 at 9:35 AM (Merged)
Avatar
GRAHAM98
  • MEMBER
  • 1 POST
Electrical problem
1998 6 cyl
----------------------------------------------------------------
car will not start i think it maybe security system can jump across starter will start but it dies right away
Aug 6, 2020 at 9:36 AM (Merged)
Avatar
BLACKOP555
  • CERTIFIED EXPERT
  • 10,386 POSTS
can you please reword that! hneed vehicle model, make etc.
Aug 6, 2020 at 9:36 AM (Merged)
Avatar
JAMIEFREEBUICK
  • MEMBER
  • 1 POST
i dont no wats wrong wiht my car it is a 98 buick lesabre costom the battery is good but wont start and autozone said its the starer or a solenod but i dont no for sure


https://www.2carpros.com/forum/automotive_pictures/276765_buick_1.jpg

Aug 6, 2020 at 9:36 AM (Merged)
Avatar
JACOBANDNICKOLAS
  • CERTIFIED EXPERT
  • 110,175 POSTS
Hi:
What happens when you turn the key? Do you hear a click?

Joe
Aug 6, 2020 at 9:36 AM (Merged)