Cylinder head bolts torque

2002 KIA SPORTAGE
123,000 MILES • 2.0L • 4 CYL • 4WD • AUTOMATIC
Avatar
ADAMOVERTON74
  • MEMBER
  • 1 POST
Need to fined out what torque is on head bolts.
Dec 31, 2015 at 5:32 AM
Advertisement
Avatar
HMAC300
  • CERTIFIED EXPERT
  • 48,601 POSTS
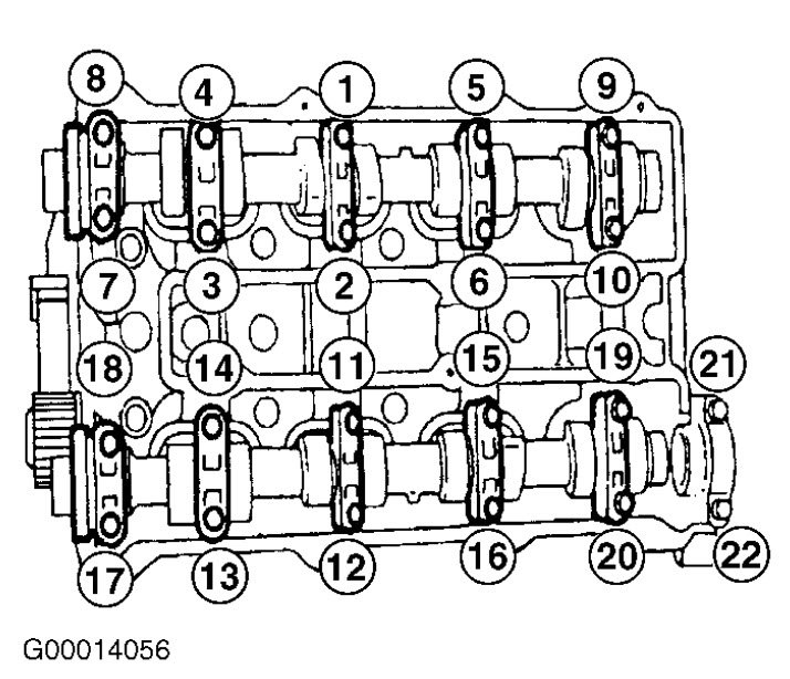
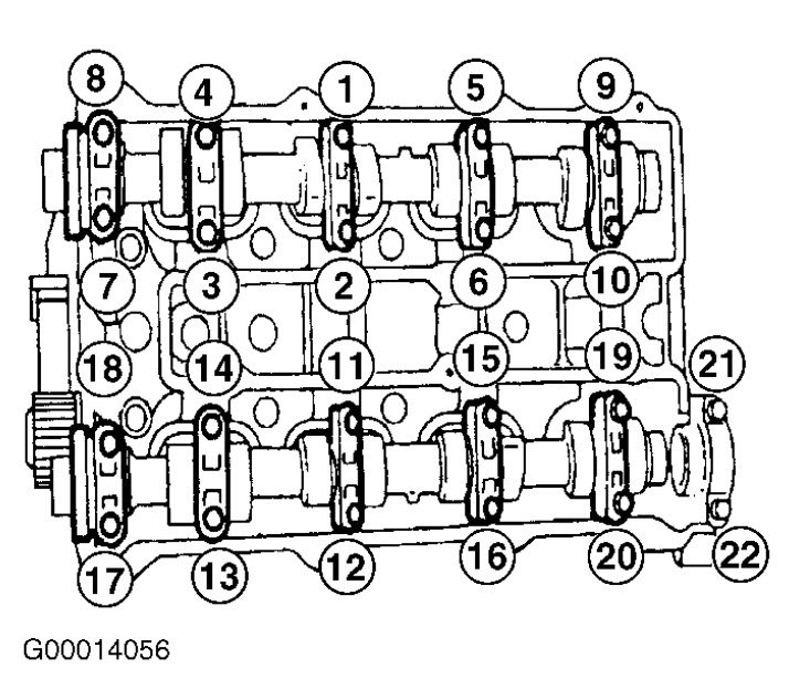
if camshafts were removed 16 ft lbs in sequence cylinder head bolts 62 ft lbs in 3 equal torques in sequence. Check out the images (below). Let us know if you need anything else.
Dec 31, 2015 at 6:19 AM
Avatar
SARA OVERLY
  • MEMBER
  • 1 POST
i need the head bolt torque specifications for a 2000 kia sportage 2.0 liter engine as well as the timing marks for the same vehicle
Nov 16, 2019 at 2:45 PM (Merged)
Advertisement
Avatar
BLUELIGHTNIN6
  • CERTIFIED EXPERT
  • 16,542 POSTS


https://www.2carpros.com/forum/automotive_pictures/261618_Noname_1037.jpg


https://www.2carpros.com/forum/automotive_pictures/261618_Noname2_294.jpg


https://www.2carpros.com/forum/automotive_pictures/261618_Noname3_111.jpg


https://www.2carpros.com/forum/automotive_pictures/261618_Noname4_57.jpg

FIG. 4


https://www.2carpros.com/forum/automotive_pictures/261618_4_2.jpg


https://www.2carpros.com/forum/automotive_pictures/261618_Graphic_186.jpg

Nov 16, 2019 at 2:45 PM (Merged)
Avatar
ALIKDZIKI
  • MEMBER
  • 1 POST
is it petrol or disel spec?
Nov 16, 2019 at 2:45 PM (Merged)
Avatar
HARLANGIRL4EVER
  • MEMBER
  • 2 POSTS
Putting head back on need torque values intake to head and intake to throttle body.
Oct 10, 2020 at 9:40 AM (Merged)
Avatar
ASEMASTER6371
  • CERTIFIED EXPERT
  • 52,796 POSTS
Good morning,

I attached the torques for you below. let us know if you need any other information. Check out the diagrams (Below). Please let us know if you need anything else to get the problem fixed.

Roy
Oct 10, 2020 at 9:40 AM (Merged)