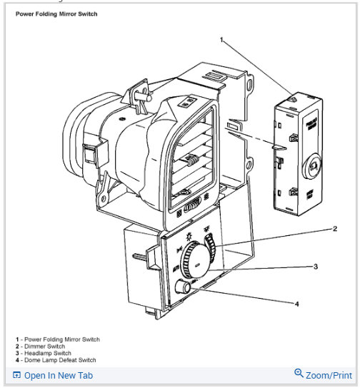
My dashboard lights fade out. If I push on the light switch or push on the dimmer switch and the lights may come on and stay or or they will fade out again. A bump in the road will also make them go on and off.
Is this the that you adjust you headlights with faulty? I greatly appreciate any help you have to offer.
Is this the that you adjust you headlights with faulty? I greatly appreciate any help you have to offer.
Aug 21, 2020 at 7:09 AM




