start the truck fire right up but will stall out 5-7 times then starts and runs?

2000 CHEVROLET BLAZER
199,000 MILES • 4.3L • V6 • 2WD • AUTOMATIC
Avatar
JOHN LAYMAN
  • MEMBER
  • 2 POSTS
Mainly in the colder months I go to start the truck fire right up but will stall out 5-7 times then start and run. I have changed the cam shaft sensor and crankshaft position sensor, but still not starting. Any ideas?
Oct 1, 2022 at 11:54 AM
Advertisement
Avatar
STRAILER
  • CERTIFIED EXPERT
  • 53,855 POSTS
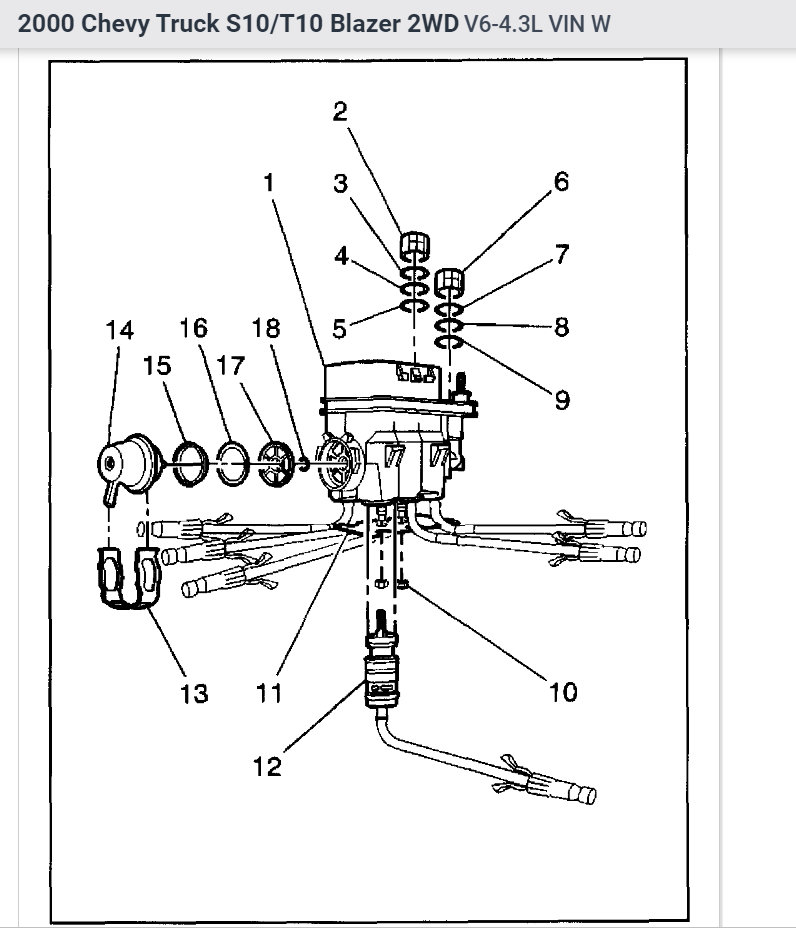
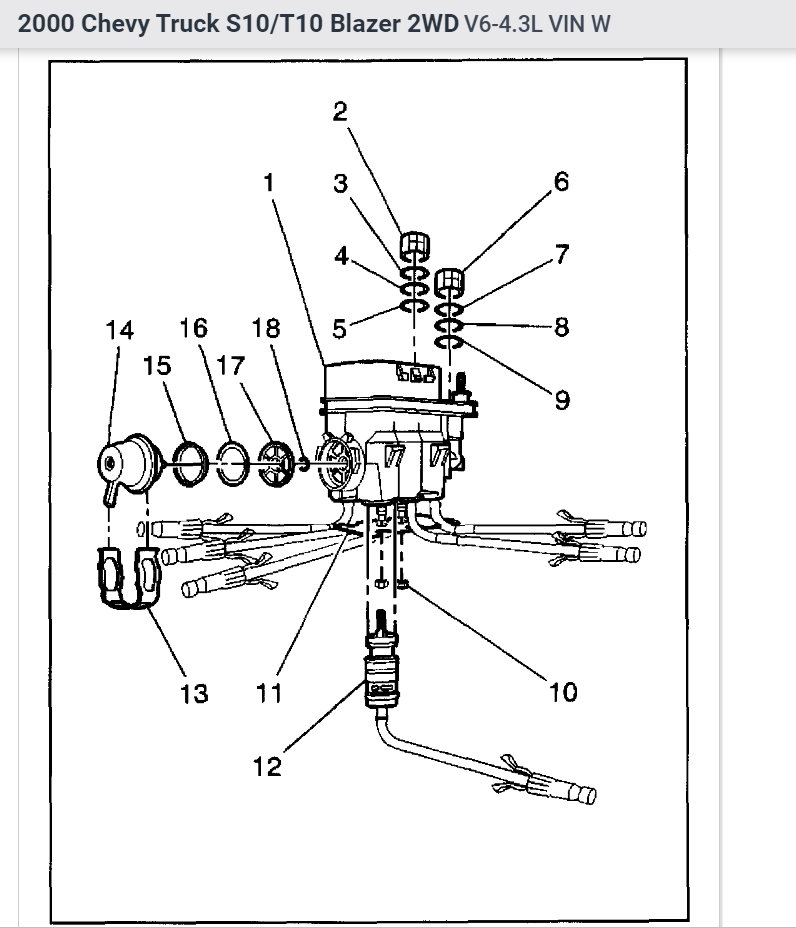
Yep, do you have black smoke from the tailpipe when this happens? If so, it sounds like you have a spider injector and fuel pressure regulator that is going out which is common, when you get a new one make sure it is an ACDelco unit. Here is how the job is done in the images below. Make sure you get the fuel pressure regulator as well.

We should check the fuel pressure as well because a bad fuel pump can do the same thing.

https://www.2carpros.com/articles/how-to-check-fuel-system-pressure-and-regulator

You can get a fuel pump pressure gauge from the auto parts store and rent it for cheap.

Key On Engine Off .................... 60-66 psi

Check out the images (below). Let us know what happens and please upload pictures or videos of the problem.
Oct 1, 2022 at 1:00 PM
Avatar
JOHN LAYMAN
  • MEMBER
  • 2 POSTS
Just tried starting and did the same thing. now it has a lot of white smoke after it was running.
Oct 1, 2022 at 1:47 PM
Advertisement