Door handle not working

2011 NISSAN 370Z
140,000 MILES • 6 CYL • AUTOMATIC
Avatar
TOYPACIFIC
  • MEMBER
  • 159 POSTS
Hey gentlemen, I got a good one here.

Driver's side door won't open. Both inner and outer door handles went out. Now I need to open the door panel up, but I need to open the door first. Any info on how to get the door open would be great. Thank you
Nov 26, 2021 at 5:58 PM
Advertisement
Avatar
STEVE W.
  • CERTIFIED EXPERT
  • 15,113 POSTS
First lock and unlock it a few times from inside the car and see if maybe you get lucky and it's just a sticking latch preventing the outside handle from working. They both use cables, but the interior is directly connected to the latch the exterior has a lever that the lock moves that disconnects the outer lever when the doors are locked, they can stick, or rust can make them bind up. Repeatedly snapping the interior lock has a few times made them work one last time. If no luck, then I would find a replacement outer handle. Then use it to determine where to drill the retaining bolts that go through the door away. Then you should be able to get into the door cavity and get to the latch and get it open. I don't believe you can get into that area through the window to move the latch release. The other method would require you to strip the interior enough that you can force the interior panel to come off, but then you still need access to the latch.
Nov 26, 2021 at 10:52 PM
Avatar
TOYPACIFIC
  • MEMBER
  • 159 POSTS
Thank you very much for this info. Have a great weekend.
Nov 27, 2021 at 4:27 PM
Advertisement
Avatar
STEVE W.
  • CERTIFIED EXPERT
  • 15,113 POSTS
You as well. Just wish there were an easier way but the way that body is the latch is buried behind multiple panels and getting to it isn't real easy.
Nov 27, 2021 at 6:33 PM
Avatar
TOYPACIFIC
  • MEMBER
  • 159 POSTS
Yes, it's going to be some job for sure. Have a blessed day.
Nov 27, 2021 at 7:58 PM
Avatar
JACOBANDNICKOLAS
  • CERTIFIED EXPERT
  • 110,175 POSTS
Hi,

I noticed we haven't heard from you for a few days. Have you been able to make any progress? We are interested in knowing.

Let me know,

Joe
Nov 30, 2021 at 6:37 PM
Avatar
TOYPACIFIC
  • MEMBER
  • 159 POSTS
Oh yes, I apologize such. It has been a busy week so far. Anyhow, I did get a chance to open the door. I unscrewed the panel from the inside, and kind of got the side panel to come out a little. What I did not notice was all the cables were it was suppose to be, secured and locked in place. I still couldn't open the door though from the inside. So, I took a wire and kept playing around with the outside door handle, and I'm not sure what I hit, but eventually by playing with it, and opening the door handle inside it eventually worked. The outside handle still doesn't work though, I opened it up wiring is still connected. Now I'm not sure what's happening, my only thoughts would be the cord is weak has no tension. Or possibly the outside door handle itself . But I didn't see any damage to the handle, so I'm just assuming now it's the cord. But, with all that being said getting the door to open was a success. Thank you, and I apologize again for the late response, just so many things going on here sometimes things just forget to cross your mind.
Nov 30, 2021 at 11:15 PM
Avatar
JACOBANDNICKOLAS
  • CERTIFIED EXPERT
  • 110,175 POSTS
Hi,

If the outside handle isn't working, chances are either the linkage has come disconnected or the lever on the handle has broken. However, you would feel that when pulling on the handle.

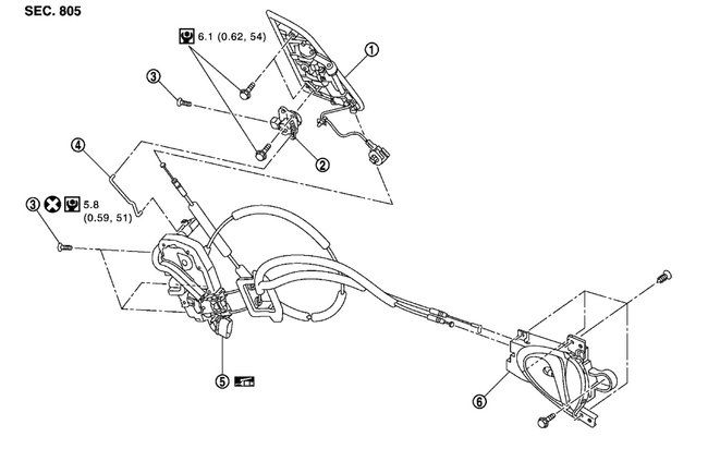
Take a look at the pic below. I circled the connection points of the exterior door linkage. With the panel off, have a helper actuate the exterior handle while you check to see if everything is moving.

Let me know what you find. Also, no problem whatsoever with the timing of the response. We just like to make sure things are taken care of. I hope you understand.

Take care and let me know what you find.

Joe

See pic below.
Dec 1, 2021 at 5:41 PM
Avatar
TOYPACIFIC
  • MEMBER
  • 159 POSTS
Yes, checked on that, the cord wire cord was actually still attached.
But great idea, let me check on that again.
Dec 1, 2021 at 6:45 PM
Avatar
JACOBANDNICKOLAS
  • CERTIFIED EXPERT
  • 110,175 POSTS
Let me know what you find. Also, looking at the pic, it appears there are steel rid linkages. Make sure they are attached. (Specifically, numbers 1 and 4 in the above pic)

Joe
Dec 1, 2021 at 7:55 PM
Avatar
TOYPACIFIC
  • MEMBER
  • 159 POSTS
Gotcha, going to examine this. I'll follow up once I figure this out. thank you
Dec 1, 2021 at 10:21 PM
Avatar
STEVE W.
  • CERTIFIED EXPERT
  • 15,113 POSTS
The solid links are for the door locks, the cables are the actuator links to the handles. As the inside handle was working and then both stopped, I would look at the lever the locking pieces attach to. Usually, it's just a small lever that moves and when in the "locked" position it physically moves so that neither of the handle linkages will actuate the actual latch. Those levers like to rust and fall off or they get bent just enough that they don't go into place to make the latch work. It looks like this one is on the end of the latch. the lever you see at the lower right and the plastic piece on the far left.
Dec 2, 2021 at 12:05 AM
Avatar
TOYPACIFIC
  • MEMBER
  • 159 POSTS
Thanks for this information, I'm going to go deeper inside and check it out. Thank you
Dec 2, 2021 at 1:35 AM
Avatar
TOYPACIFIC
  • MEMBER
  • 159 POSTS
Hi guys, just an update. I don't know how I missed this but these cable pins. This was out at the other end of the door and had to replace them. Door is working fine. Thank you all for your advice and info. I'll be back with more.
Dec 5, 2021 at 4:01 AM
Avatar
JACOBANDNICKOLAS
  • CERTIFIED EXPERT
  • 110,175 POSTS
Hi,

Thanks for the update. I'm glad to hear it's working again.

Please feel free to come back anytime in the future. You're always welcome.

Take care,

Joe
Dec 5, 2021 at 3:41 PM