Procedure.
Roy
INSTALLATION
CAUTION: The Syncro Positioning Tool must be obtained prior to installation of the new camshaft synchronizer assembly. Failure to follow this procedure will result in the fuel system being out of time with the engine, possibly causing engine damage.
imageOpen In New TabZoom/Print
1. Install the Syncro Positioning Tool on the camshaft synchronizer by rotating the tool until it engages the notch in the camshaft synchronizer housing.
CAUTION: A Syncro Positioning Tool must be used during the installation of the new synchronizer assembly. Failure to follow this procedure will result in the fuel system being out of time with the engine, possibly causing engine damage.
imageOpen In New TabZoom/Print
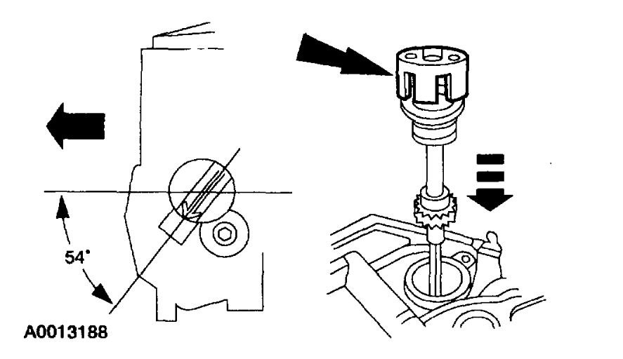
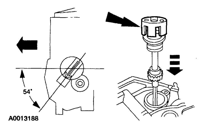
2. Install the camshaft synchronizer housing assembly so the arrow on the synchronizer alignment tool is 54 degrees from the centerline of the engine.
NOTE: During installation, the arrow on the synchronizer alignment tool will rotate clockwise as the gears engage.
imageOpen In New TabZoom/Print
3. Install the bolt and remove the Syncro Positioning Tool.
NOTE: Do not remove the Syncro Positioning Tool until the bolt is tightened.
imageOpen In New TabZoom/Print
4. Install the EGR valve and adapter assembly.
1 Position the EGR adapter gasket.
2 Position the EGR valve.
3 Install the bolts and the nut.
NOTE: Reuse the EGR valve adapter gasket.
imageOpen In New TabZoom/Print
5. Install the EGR valve tube upper fitting.
imageOpen In New TabZoom/Print
6. Connect the EGR valve vacuum hose.
7. Install the CMP sensor. For additional information, refer to Camshaft Position (CMP) Sensor.
Images (Click to enlarge)
Aug 21, 2020 at 5:53 PM
(Merged)