Good afternoon,
I attached the procedure for replacing the pads and rotors along with a guide for you.
https://www.2carpros.com/articles/how-to-replace-front-brake-pads-and-rotors-fwd
Roy
REMOVAL AND INSTALLATION
Disc
1. Remove the front disc brake caliper anchor plate.
2. On 4x4 vehicles, remove the brake disc.
imageOpen In New TabZoom/Print
3. On 4x2 vehicles, remove the brake disc and hub as follows:
1 Remove the hub grease cap.
2 Remove the cotter pin.
3 Remove the nut retainer.
4 Remove the spindle nut.
5 Remove the front wheel outer bearing retainer washer.
6 Remove the outer front wheel bearing.
7 Remove the brake disc and hub.
imageOpen In New TabZoom/Print
4. If necessary on 4x2 vehicles, resurface the brake disc and hub using a hub mounted brake lathe. Follow the lathe manufacturer's instructions.
1 Remove the wheel hub grease seal.
2 Remove the front wheel bearing.
Installation
1. On 4x4 vehicles, position the brake disc to the wheel hub.
^ Use Brake Parts Cleaner PM4 or equivalent to clean the brake disc.
imageOpen In New TabZoom/Print
2. On 4x2 vehicles, thoroughly clean and inspect the front wheel bearings and the brake disc and hub.
^ Use Brake Parts Cleaner PM4 or equivalent.
3. On 4x2 vehicles, lubricate the front wheel bearings.
^ Use Premium long-life Grease XG-1-C or -K or equivalent meeting Ford specification ESA-M1C75-B.
imageOpen In New TabZoom/Print
4. On 4x2 vehicles, install a new wheel hub grease seal.
1 Install the inner front wheel bearing.
2 Install a new wheel hub grease seal.
imageOpen In New TabZoom/Print
5. On 4x2 vehicles, install the brake disc and hub.
1 Position the brake disc and hub.
2 Install the outer front wheel bearing.
3 Install the front wheel outer bearing retainer washer.
4 Install the spindle nut.
imageOpen In New TabZoom/Print
6. Tighten the spindle nut while rotating the brake disc and hub.
imageOpen In New TabZoom/Print
7. Loosen the spindle nut.
imageOpen In New TabZoom/Print
8. Tighten the spindle nut while rotating the brake disc and hub.
imageOpen In New TabZoom/Print
9. On 4x2 vehicles, install the following components:
1 Install the nut retainer.
2 Install the cotter pin.
3 Install the hub grease cap.
10. Install the front disc brake caliper anchor plate.
Pads
Removal
1. Raise and support the vehicle.
2. Remove the wheel and tire assembly.
3. CAUTION: Replace the pads if worn to or past the specified thickness above the metal backing plate or rivets. Replace the pads in complete axle sets.
Inspect the pads for wear or contamination.
imageOpen In New TabZoom/Print
4. Remove the lower caliper bolt.
imageOpen In New TabZoom/Print
5. Rotate the disc brake caliper upward.
imageOpen In New TabZoom/Print
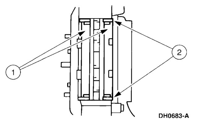
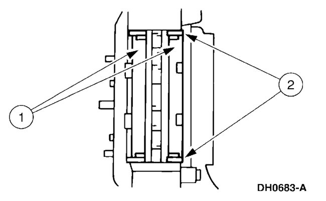
6. Remove the pads and the stainless steel slippers.
1 Remove the pads.
2 Remove the stainless steel slippers.
^ Discard the slippers.
7. Measure the brake disc and hub for minimum thickness.
^ Replace the brake disc and hub if not within specification.
8. If necessary, resurface the brake disc. Ford recommends on-vehicle rotor machining. Follow the lathe manufacturer's instructions.
imageOpen In New TabZoom/Print
9. Inspect the disc brake caliper for leaks.
^ If leaks are found, disassembly is required.
Images (Click to enlarge)
Apr 12, 2021 at 6:54 PM