☰
Login
Join
×
Home
Answered Questions
Repair Topics
Repair & Service Guides
Popular Questions
Warning Lights
Trouble Codes
How It Works
Testing / Diagnostics
Symptoms
Videos
Login
Become a Member
Home
Toyota
Camry
Electrical
Fuse Panel
Diagram
Can I get the fuse box diagram, please?
1990 TOYOTA CAMRY
200,000 MILES • 2.0L • 4 CYL • AUTOMATIC
ARNOLD TZUL
MEMBER
2 POSTS
FOLLOW
I need I fuse box diagram, please?
Jul 30, 2022 at 10:27 PM
Advertisement
STRAILER
CERTIFIED EXPERT
53,855 POSTS
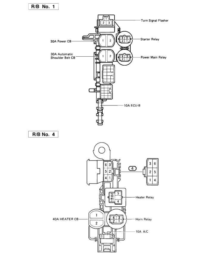
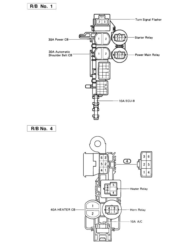
Sure, here are the fuse panel locations and diagrams for your car with a guide to help you test the fuses:
https://www.2carpros.com/articles/how-to-check-a-car-fuse
Check out the diagrams (below). Please let us know if you need anything else to get the problem fixed.
Images (Click to enlarge)
Jul 31, 2022 at 1:12 PM