the driver side blows heat but the passenger side blows cold air

2012 CHEVROLET TAHOE
86,000 MILES • 3.6L • V8 • 2WD • AUTOMATIC
Avatar
JOHN9878
  • MEMBER
  • 1 POST
When I turn the heat on, the driver side blows heat but the passenger side blows cold air. I don't hear any unusual noises.
Oct 23, 2019 at 10:11 AM
Advertisement
Avatar
JACOBANDNICKOLAS
  • CERTIFIED EXPERT
  • 110,175 POSTS
Welcome to 2CarPros.

On this vehicle's dual climate control, there are two blend air door actuators. Most likely, the one for the passenger side has failed.

Take a look through this link:

https://www.2carpros.com/articles/replace-blend-door-motor

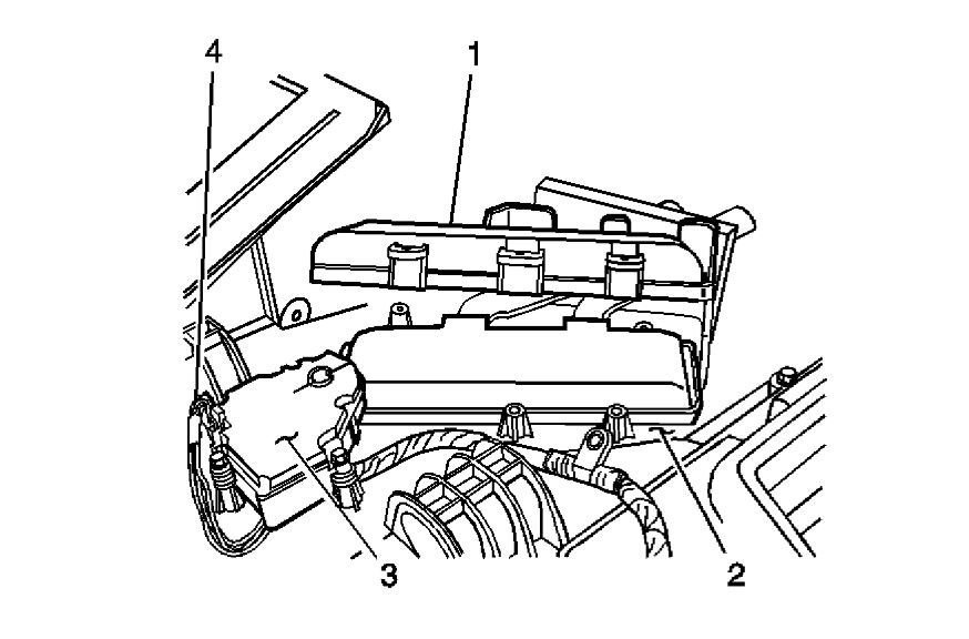
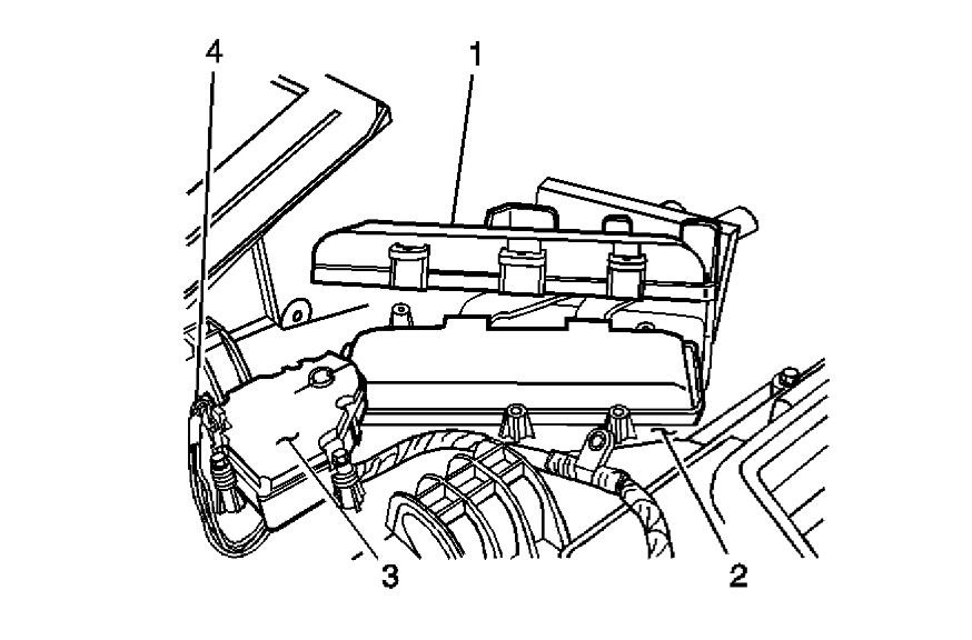
Now, I attached the pics specific to your vehicle for right side actuator replacement. Pic 1 shows location and pic 2 are the directions.

What I would suggest is to locate and test the switch to see if it is getting power. If there is power and the actuator isn't responding, replace it.

Here are a few links you may find helpful:

https://www.2carpros.com/articles/how-to-use-a-test-light-circuit-tester

https://www.2carpros.com/articles/how-to-use-a-voltmeter

https://www.2carpros.com/articles/how-to-check-wiring

_____________________

Let me know if this helps or if you have other questions.
Take care,
Joe
Oct 23, 2019 at 8:24 PM
Avatar
MIAMISAMMIE
  • MEMBER
  • 1 POST
All the controls work and lights are working on dash for temperature, but no heat is blowing on any fan settings.
Feb 19, 2021 at 7:50 PM (Merged)
Advertisement
Avatar
HMAC300
  • CERTIFIED EXPERT
  • 48,601 POSTS
try pulling HVAC fuse inside truck it will reset the actuators. your blend door actuator is the problem if both heater hoses are hot when truck warm. If it does not blow heat after a reset then check to see if actuator is getting power or not. you may have two actuators one for left and one right. see pictures. dash has to be pulled in order to replace one of them.
Feb 19, 2021 at 7:50 PM (Merged)
Avatar
CASEYSAMSON
  • MEMBER
  • 1 POST
I added some coolant because and the level is still low. Do you keep putting coolant in or do you add water?
Feb 19, 2021 at 7:50 PM (Merged)
Avatar
JACOBANDNICKOLAS
  • CERTIFIED EXPERT
  • 110,175 POSTS
Coolant needs to be mixed at a 50% coolant and 50% water. If the coolant level is too low, you won't get heat.

This guide can help as well

https://www.2carpros.com/articles/car-heater-not-working

Let me know if you have other questions.

Joe

PS: Mix the water and coolant prior to putting it in because if you only add water and allow the vehicle to sit, it will freeze. If you already only added coolant, don't worry. Just do it from this point.
Feb 19, 2021 at 7:50 PM (Merged)
Avatar
VICTOR72RAMIREZ
  • MEMBER
  • 1 POST
Turn the heater on. It either doesn't work at all just blows air not heated..or one side or the other will work. Sometimes when the air conditioner is on the heater will blow? Today the engine coolant light came on and said it was overheating..do you think this could all be the same problem?
Feb 19, 2021 at 7:50 PM (Merged)
Avatar
BARBEE00
  • MEMBER
  • 1 POST
Hello,

Yes the low engine coolant will cause the heater to act strangely. Here are two guides to help us see whats going on with the heater and coolant leak.

https://www.2carpros.com/articles/car-heater-not-working

and

https://www.2carpros.com/articles/car-is-leaking-coolant

Please run down these guides and report back.
Feb 19, 2021 at 7:50 PM (Merged)
Avatar
ALLEN13
  • MEMBER
  • 1 POST
I just replaced the thermostat, water pump, temperature sensor, and the radiator. It was running fine when I just had water in the system, but after flushing water out of entire system and replacing it with the coolant the vehicle began to overheat again? What's the next step?
Feb 19, 2021 at 7:52 PM (Merged)
Avatar
ASEMASTER6371
  • CERTIFIED EXPERT
  • 52,796 POSTS
Good evening,

Did you bleed the system?

I would start by removing the radiator cap and run the engine at 1,200 rpm. have someone watch the coolant level and add as needed. do this until you start to get heat and then make sure the coolant is topped off and not leaking.

then take it for a ride and make sure the heater still works.

Roy
Feb 19, 2021 at 7:52 PM (Merged)
Avatar
SCHOOLMAN
  • MEMBER
  • 3 POSTS
Hey guys..I have a 2003 Chev Tahoe with cabin AC/heat..seems the system works for AC, but when the overhead temp **** is on heat I only get cold air blowing...is there a temp related item I can replace?
Feb 19, 2021 at 7:52 PM (Merged)
Avatar
MERLIN2021
  • CERTIFIED EXPERT
  • 17,250 POSTS
Feel the heater hoses, they BOTH need to be hot, if only one is hot, the heater core is clogged, if both are hot, the temperature blend door inside the plenum(box) is stuck, either from rust on the shaft, or a bad actuator. If both hoses are cold, check your thermostat. If both are hot, have the truck scanned for codes, this will reveal a bad control panel or door actuator.
Feb 19, 2021 at 7:52 PM (Merged)
Avatar
SCHOOLMAN
  • MEMBER
  • 3 POSTS
The heat in the front of the truck works great..is the heat system a different system...?
Feb 19, 2021 at 7:52 PM (Merged)
Avatar
MERLIN2021
  • CERTIFIED EXPERT
  • 17,250 POSTS
Yes, if it's the rear unit, the same rules apply back there, plus a check of the heat system via a scan tool capable of reading "B" codes. This will pinpoint the problem part. This is a complex system, and without a scan, you will be just guessing at what part needs replacement. Checking the hoses is too see if the mechanical portion of your system is working, but it also has many electronic sensors and actuators to perform the work.. Is yours an auto temp or manual system?
Feb 19, 2021 at 7:52 PM (Merged)
Avatar
SCHOOLMAN
  • MEMBER
  • 3 POSTS
There are three ****s ceiling mounted above the rearview mirror that control the rear cabin only.... **** for fan control with auto/ manual setting, temp and vent location The main system on dashboard is auto for front passengers only?
Feb 19, 2021 at 7:52 PM (Merged)
Avatar
MERLIN2021
  • CERTIFIED EXPERT
  • 17,250 POSTS
Ok sounds like auto system, here's a diagram of the parts and location, I do recommend a scan!
Feb 19, 2021 at 7:52 PM (Merged)
Avatar
WILLIAM HANNA2
  • MEMBER
  • 1 POST
One day heat and A/C worked fine then the next few days heat went out then the A/C went out. I have no heat only cold air now..
Feb 19, 2021 at 7:52 PM (Merged)
Avatar
ASEMASTER6371
  • CERTIFIED EXPERT
  • 52,796 POSTS
Good morning,

Did you check the coolant level?

https://www.2carpros.com/articles/radiator-pressure-test

A thermostat will cause a no heat condition.

https://www.2carpros.com/articles/replace-thermostat

Has the car overheated?

A blend door actuator could also cause this issue.

Roy
Feb 19, 2021 at 7:52 PM (Merged)
Avatar
SHILLARD31
  • MEMBER
  • 3 POSTS
my heater is not getting hot the heater cord has been checked, the radiator has been flushed, the hose has been checked and what else is there to be done.please help
Feb 19, 2021 at 7:53 PM (Merged)
Avatar
JACOBANDNICKOLAS
  • CERTIFIED EXPERT
  • 110,175 POSTS
Is the heater hoses both hot? Here is a guide to help you.

https://www.2carpros.com/articles/car-heater-not-working

Joe
Feb 19, 2021 at 7:53 PM (Merged)
Avatar
SHILLARD31
  • MEMBER
  • 3 POSTS
Checked to see if the floor on the passenger side was wet but it was not.
Feb 19, 2021 at 7:53 PM (Merged)
Avatar
JACOBANDNICKOLAS
  • CERTIFIED EXPERT
  • 110,175 POSTS
Hi:
Is the engine warming to normal operating temp? Is the coolant level full? If you feel the heater core hoses when the engine is hot and the heater is on, are they both warm?

Let me know.

Joe
Feb 19, 2021 at 7:53 PM (Merged)
Avatar
SHILLARD31
  • MEMBER
  • 3 POSTS
yes the hose is warm and the coolant is full the radiator was flushed today all of that has been checked please help me and thank you
Feb 19, 2021 at 7:53 PM (Merged)
Avatar
JQBALL2U
  • MEMBER
  • 4 POSTS
[quote:0e9097bb22="shillard31"]yes the hose is warm and the coolant is full the radiator was flushed today all of that has been checked please help me and thank you[/quote:0e9097bb22]

What does the temp gauge read (the one that looks like a thermometer [most times])?
Feb 19, 2021 at 7:53 PM (Merged)
Avatar
DENNISFC2000
  • MEMBER
  • 4 POSTS
Was the heater core flushed? I flushed the heater core on my Blazer and the heater is hotter than ever. Take both hoses off that are coming from the radiator and hitting the fire wall. Get your water hose and put it on one and then the other. Your going to get wet but it will work. If that is not the case then check the thermostat. Thanks
Feb 19, 2021 at 7:53 PM (Merged)
Avatar
JACOBANDNICKOLAS
  • CERTIFIED EXPERT
  • 110,175 POSTS
Hi:
If both hoses are hot and the engine runs at a normal operating temp (around 200 degrees) there must be a problem with the blend door not opening to allow heat to enter the cab. Near the heater core is where you'll find the item. It's located in the HVAC duct work and may be stuck.

Check for that and let me know what you find. NOTE: The heater core is aprox behind the glove box.

Let me know if this helps.

Joe
Feb 19, 2021 at 7:53 PM (Merged)
Avatar
KOKOE
  • MEMBER
  • 1 POST
My heat is luke warm.Both hoses ontop of the motor get hot.I changed the thermostat.I filled the antifreeze.I have no water on the passenger side floor and the blendor box is blowing out fine.Could this be a early onset of issues with my heater core or waterpump? Its getting cold out and i cant drive my truck because it takes 40min for the temp to go up in the truck.
Feb 19, 2021 at 7:53 PM (Merged)
Avatar
STRAILER
  • CERTIFIED EXPERT
  • 53,855 POSTS
Hello,

It sounds like you have a weak blend door actuator that is not closing completely. Here are tow guides to help us get started:
https://www.2carpros.com/articles/car-heater-not-working

and

https://www.2carpros.com/articles/replace-blend-door-motor

Please run down these guides and report back.

Cheers, Ken
Feb 19, 2021 at 7:53 PM (Merged)
Avatar
HILLD1000
  • MEMBER
  • 2 POSTS
The heater/defroster in my Tahoe quit producing heat last week. The fan still works fine just no heat. I check the HVAC fuses and they appear to be intact. Any suggestions?
Feb 19, 2021 at 7:53 PM (Merged)
Avatar
JACOBANDNICKOLAS
  • CERTIFIED EXPERT
  • 110,175 POSTS
I need you to check 2 things. First, make sure the coolant is full. Second, with the engine running, hot, and the heater on, feel both heater core hoses to see if they are hot. If you have one hot and one cool, the heater core is pluged. If both are hot, then you most likely have a problem with the blend door. It is located in near the heater core. Based on its position, you get heat or AC into the vehicle.

Let me know what you find.

Joe
Feb 19, 2021 at 7:53 PM (Merged)
Avatar
HILLD1000
  • MEMBER
  • 2 POSTS
Thanks Joe,
I determined that I wouldn't be able to fix the problem myself so I took it to the local auto shop. They said the heater core was probably plugged so they flushed it. Everything works fine now.
I've used your website before and found you guys to be very helpful.
Thanks again.
Feb 19, 2021 at 7:53 PM (Merged)
Avatar
JONATHANTRIVETTE
  • MEMBER
  • 2 POSTS
I have no heat. The vehicle runs at its normal temp (around or just under 210). I have changed the thermostat about 2 years ago. I checked the blend door actuator and it is working. I had the cooling system flushed last week. Both hoses from the heater core get hot which to me suggests that it isn't stopped up. Before I had the cooling system flushed last week, I did have heat when the vehicle was running at 55mph but when I was going slower or especially at idle speed it would blow cool air but now since I had the system flushed I have no warm air at all at any speed.
My thoughts are either air pockets in the system or possibly the flap the opens & closes for hot or cold air is broken. I don't know if the vehicle has a bleeder valve or not. It has the closed radiator. Is there a fuse that controls the hot air that could be blown or is there some other logical explanation for my problem?
Feb 19, 2021 at 7:54 PM (Merged)
Avatar
HMAC300
  • CERTIFIED EXPERT
  • 48,601 POSTS
there is a temp actuator that controls heat/cool. First try pulling hvac fuse inside car for 60 seconds with key on then reinstall and see if it gets warm after a minute if not it may be the actuator is not working or the door may be broken. Pic shows temp actuator on rh side it's pretty easy to change you may have to remove a panel. Also make sure connector is getting power if not it will need scanning to see if control head is bad.
Feb 19, 2021 at 7:54 PM (Merged)
Avatar
JONATHANTRIVETTE
  • MEMBER
  • 2 POSTS
Ok, I pulled the hvac fuses like you said with the key on and waited 60 seconds and then reinstalled. I had to let the engine warm up but still no heat.....it might be a touch warmer than the air outside, especially when you first turn on the blower but it quickly goes back to cool.
As I mentioned in my initial question, I have already checked the blend door actuator and it is functioning. I removed it and also manually turned the piece that the actuator turns. You can hear the door closing but it slams. Once you turn the engine on you can no longer turn it with your finger. I guess it does like a vacuum on it.
Is the door plastic? How can I check to see if it is broken? Or is it possible that it's air trapped in the system?
Feb 19, 2021 at 7:54 PM (Merged)
Avatar
HMAC300
  • CERTIFIED EXPERT
  • 48,601 POSTS
its not air in system without pulling the heater and dash to disassemble heater then try pulling blower motor and see if you can free it up there or see if it's broken there is no vacuum on it.
Feb 19, 2021 at 7:54 PM (Merged)
Avatar
BRYAN FORBES
  • MEMBER
  • 1 POST
what are the possible cause for no heat coming into cabin to the vehicle. Cabin air filter was change ?
Feb 19, 2021 at 7:54 PM (Merged)
Avatar
HMAC300
  • CERTIFIED EXPERT
  • 48,601 POSTS
see if both heater hoses are hot when engine warm, then it couldbe an actuator on the heater stuck or not getting power and not opening. beneric pic enclosed.
Feb 19, 2021 at 7:54 PM (Merged)