There should be 0 coming out.
Replace the pressure regulator.
Roy
1. Remove the fuel rail assembly.
2. Remove the attaching screw (8) from the pressure regulator.
3. Remove the pressure regulator assembly (1) from the fuel rail.
Twist the assembly back and forth while pulling.
FUEL RAIL ASSEMBLY REPLACEMENT
REMOVAL PROCEDURE
imageOpen In New TabZoom/Print
1. Relieve the fuel system pressure. Refer to Fuel Pressure Relief Procedure.
2. Remove the air cleaner outlet resonator.
3. Disconnect the fuel pressure regulator vacuum hose.
imageOpen In New TabZoom/Print
4. Remove the camshaft position (CMP) sensor connector.
imageOpen In New TabZoom/Print
5. Pull up the lock release (2) of the fuel injector connector.
imageOpen In New TabZoom/Print
6. Depress the lock tab (1) and lift the connector from the injector.
7. Disconnect the fuel feed pipe from the fuel rail. Use a backup wrench on the fuel rail inlet fitting to prevent the fitting from turning.
imageOpen In New TabZoom/Print
8. Remove the fuel pipe retainers.
imageOpen In New TabZoom/Print
9. Remove the fuel rail attaching bolts (1).
imageOpen In New TabZoom/Print
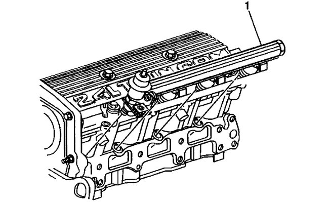
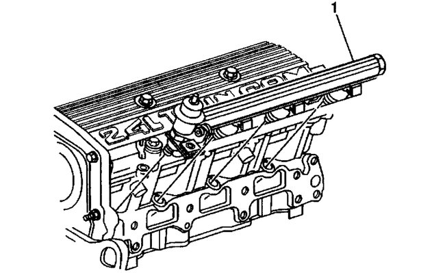
10. Lift the fuel rail assembly (1) from the cylinder head.
imageOpen In New TabZoom/Print
11. If the fuel rail is not being replaced, go to the installation procedure.
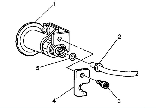
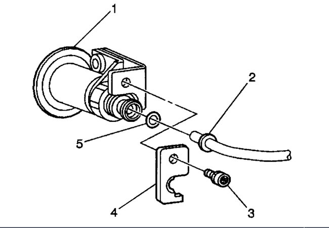
12. Remove the fuel return pipe bracket screw (3) and the bracket (4).
13. Remove the fuel return pipe (2) from the fuel pressure regulator (1).
14. Remove the fuel return pipe. Discard the O-rings.
15. Remove the fuel pressure regulator.
16. Remove the fuel injectors.
Images (Click to enlarge)
Nov 3, 2020 at 4:06 AM