Good afternoon,
This is not good.
With luck, you may have just blow fuses for this. In a lot of cases, control modules are damaged from the voltage surge of hooking up the cables backwards.
https://www.2carpros.com/articles/how-to-check-a-car-fuse
You need to replace the battery with a new one to start.
https://www.2carpros.com/articles/how-to-replace-a-car-battery
Then you need to test every fuse in the car and replace any failed fuses with new one.
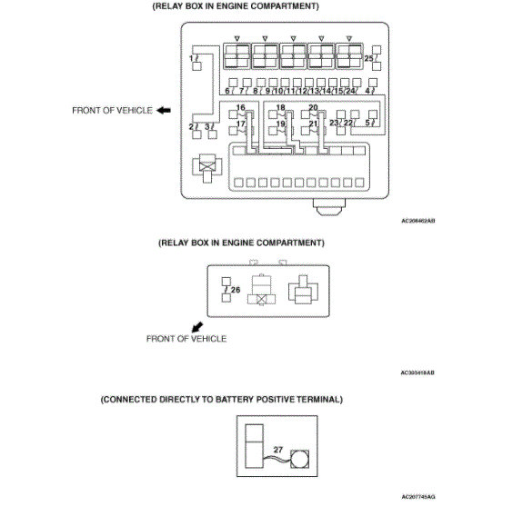
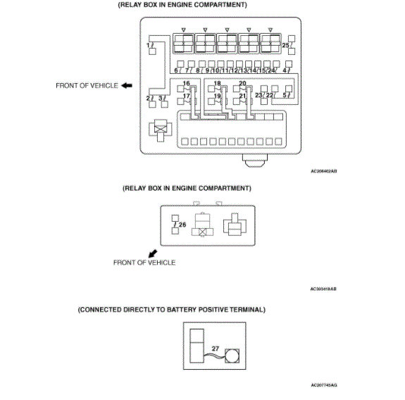
I attached diagrams of the fuse block for you. There is a fuse box under the hood and inside the car.
Roy
Images (Click to enlarge)
Sep 13, 2020 at 1:55 PM