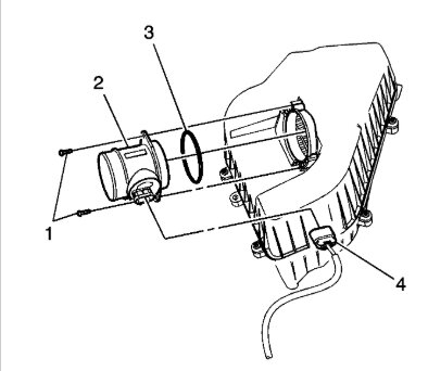
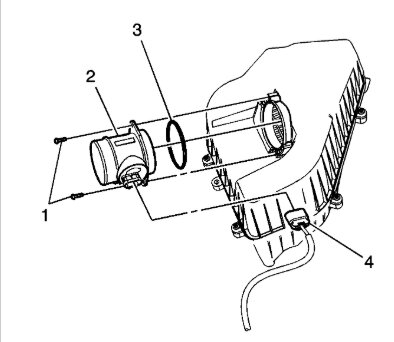
(IAT) sensor 1location, Mass or volume airflow circuit location these are the troubled codes when i ran diagnostic I'm trying to see what i have to replace.
Jul 26, 2025 at 11:59 AM
