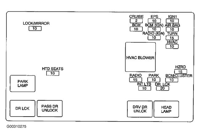
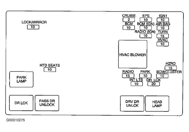
There's three 10-amp fuses involved with various interior lights. The lift gate lights and front and rear dome lights get their power from the Body Computer. Unfortunately the fuses aren't numbered but they might be labeled as "park fuse", "BCM / cluster fuse", and "int lights fuse".
Regardless, we never try to figure out which fuses to check. We don't have that kind of time when you're paying by the hour. Also, it's real common to find a fuse blown for a circuit that is seemingly totally unrelated to the dead circuit you're diagnosing. Instead, we grab a test light and poke the probe into the two tiny test holes on the top of most spade-type fuses. You'll find some have 12 volts on both sides and some with 0 volts on both sides. You're looking for any that have 12 volts on one side and 0 volts on the other side. Those are the circuits that are currently turned on but the fuses are blown.
Apr 6, 2015 at 6:07 PM