Turn the steering wheel and the wheels do not turn

2004 PONTIAC GRAND AM
145,000 MILES • V6 • 2WD • AUTOMATIC
Avatar
TINABARNETT
  • MEMBER
  • 3 POSTS
Yes, it has bad power steering leak but it just stopped turning.
Jun 18, 2020 at 8:49 PM
Advertisement
Avatar
JACOBANDNICKOLAS
  • CERTIFIED EXPERT
  • 110,175 POSTS
Hi,

Is there resistance in the steering wheel when you try to turn or does it seem to be disconnected?

Joe
Jun 18, 2020 at 8:58 PM
Avatar
TINABARNETT
  • MEMBER
  • 3 POSTS
Disconnected.
Jun 18, 2020 at 9:33 PM
Advertisement
Avatar
TINABARNETT
  • MEMBER
  • 3 POSTS
Steering wheel turns freely but the wheels on the car do not turn.
Jun 18, 2020 at 9:34 PM
Avatar
JACOBANDNICKOLAS
  • CERTIFIED EXPERT
  • 110,175 POSTS
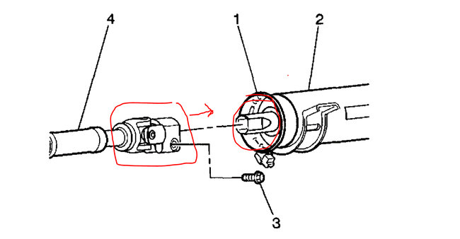
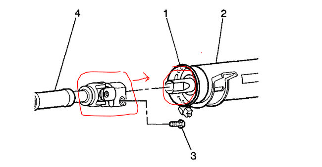
Does it feel like it has come disconnected from the wheels? If they aren't turning, either you have a broken tie rod on each side or the intermediate shaft has come disconnected at the rack and pinion gear. See the attached picture.

The rack and pinion is mounted behind the engine on this vehicle. If you look at the second pic, it shows the approximate location of where the column and gear connected. Basically the same pic as number on, but showing it on the vehicle.

Can you continue to turn the steering wheel in one direction without it stopping?

Let me know.
Joe

Jun 18, 2020 at 9:46 PM