Okay. I am not sure I am following. Those wires that you showed in the first picture are from the aftermarket box that he had as you stated in the first post. The second picture shows the OEM connector for the OEM sub and it is connected. Those wires from the first picture do not go to the OEM sub.
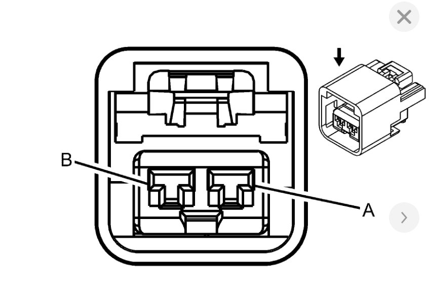
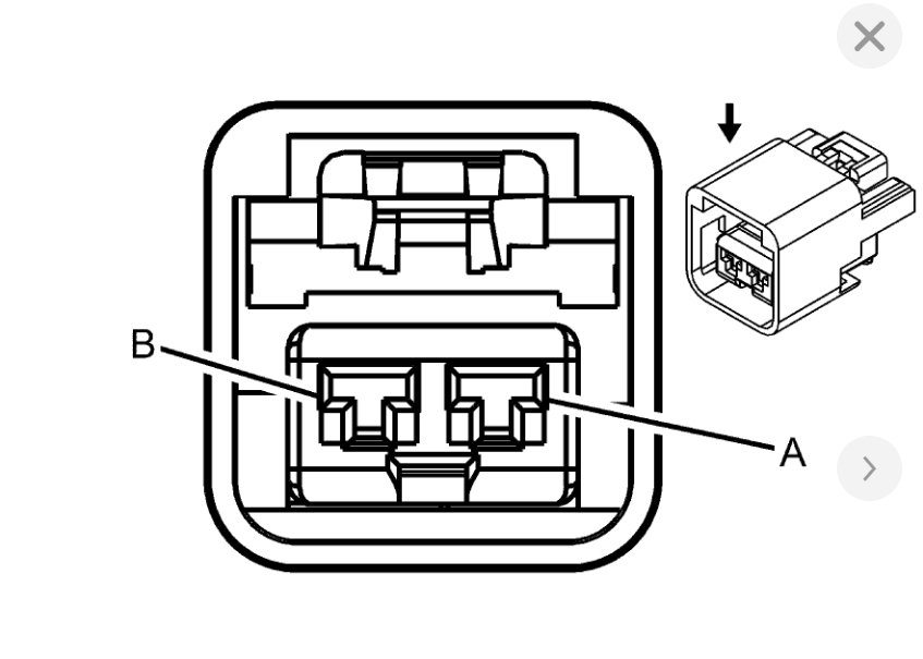
Here is the wiring diagram for the sub-woofer. It appears the connector is the only one for this sub.
Does it actually work? Have you turned the radio on and looked at the speaker to see if it is vibrating? If it is not, then this may be why the previous owner added their own rather than fixing this one. It may have been cheaper to just add what they wanted rather than replacing that sub.
Images (Click to enlarge)
Sep 7, 2019 at 9:53 AM