Passenger side brake pads "pops up"

2008 SAAB 9-5
15,000 MILES • 4 CYL • FWD • AUTOMATIC
Avatar
VAILJACKP
  • MEMBER
  • 1 POST
Passenger side brake pads "pops up" when it gets hot so I need to replace them can you help?
Jul 21, 2010 at 2:17 PM
Advertisement
Avatar
DANNY L
  • CERTIFIED EXPERT
  • 5,648 POSTS
Hello, I'm Danny.

Here is the information you requested for front brake pad replacement. This is a tutorial for you to view on how to change front brake pads:

https://www.2carpros.com/articles/how-to-replace-front-brake-pads-and-rotors-fwd

I've attached picture steps below on how to change the front brake pads on your vehicle. Hope this helps and thanks for using 2CarPros.
Feb 5, 2021 at 1:55 PM
Avatar
ASEMASTER6371
  • CERTIFIED EXPERT
  • 52,796 POSTS
Good afternoon,

I attached the procedure and a guide for you to replace the pads.

https://www.2carpros.com/articles/how-to-replace-front-brake-pads-and-rotors-fwd

Roy

Brake pads, front wheel
To check


imageOpen In New TabZoom/Print


Since the brakes are self-adjusting, it is not possible to tell from the amount of brake pedal travel whether or not the brake pads are worn. It is therefore essential to remove the wheels and check the thickness of the pads at the intervals specified in the service programme.

The brake pads should be changed if the thickness of the friction material is less than 5 mm (0.2 inch).

The brake pads are also fitted with an acoustic wear warning device which alerts the driver when pad thickness is below 3 mm (0.12 inch). When this warning is heard the pads should be changed as soon as possible.

To remove


imageOpen In New TabZoom/Print


1. Raise the car and remove the wheels.
2. Press back the piston with a pair of slip-joint pliers.
3. Remove the clip from the brake caliper.
4. Remove the dust caps from the guide pins and then remove the guide pins.
5. Lift the brake caliper off the brake disc and suspend it from the suspension strut.


imageOpen In New TabZoom/Print


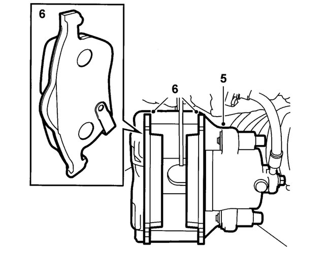
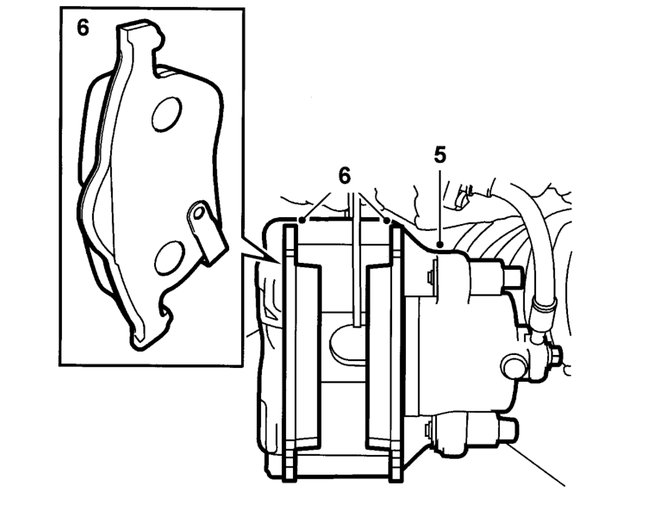
6. Remove the brake pads.
Clean the inside of the brake caliper with a soft wire brush and inspect the dust caps.

To fit


imageOpen In New TabZoom/Print


1. Fit the new brake pads in the brake caliper.
^ The outboard brake pads have acoustic wear indicators that must face downwards.
^ The inboard brake pads must be fitted with the arrows pointing in the direction of rotation of the brake disc when the car is driven in a forward direction.
2. Fit the brake caliper, clean the guide pins and tighten them using a torque wrench.


imageOpen In New TabZoom/Print


Tightening torque 28 Nm (20 ft. lbs.).
3. Fit the dust caps and clip, as shown.
4. Fit the wheels.
Tightening torques
aluminium wheel 110 Nm (81 ft. lbs.)
steel wheel 50 Nm +2x90°, max. 110 Nm (37 ft. lbs. +2x90°, max. 81 ft. lbs.)

Important: The wheel must hang freely when the wheel bolts are being tightened.

5. Lower the car to the floor and depress the brake pedal to force out the brake pistons.
6. Check the level of the brake fluid.

Feb 5, 2021 at 1:57 PM
Advertisement