Welcome to 2CarPros.
The shift range sensor shouldn't cause restriction, but anything is possible. And yes, there is an adjustment on the shift cable. What I need you to do is this. Disconnect the shift cable at the transmission to see if the shifter is easier to move. At that point, it won't be connected to the transmission, so if it seems tight, we know it is the cable.
______________________
Here are the directions for removal and replacement of the shift cable. I'm adding everything so you can see where it attaches on both ends as well as how it is routed. The attached pictures correlate with the directions.
_____________________
1998 Honda Accord DX Sedan L4-2254cc 2.3L SOHC MFI
Procedures
Vehicle Transmission and Drivetrain Automatic Transmission/Transaxle Shift Linkage Shift Cable Service and Repair Procedures
PROCEDURES
Replacement
1. Raise the front of the vehicle, and make sure it is securely supported.
2. Set the parking brake, and block the rear wheels securely.
3. Shift the transmission into R position.
4. Remove the console panel.
pic 1
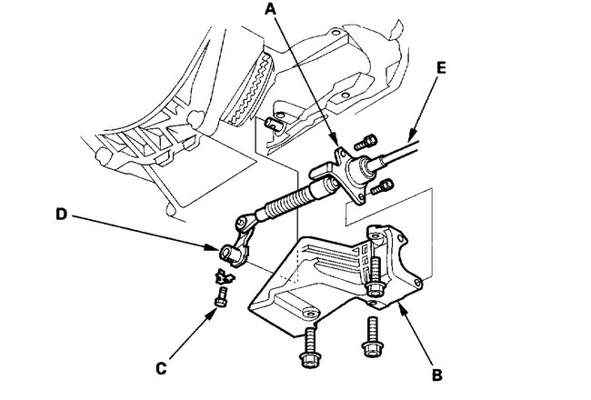
5. Remove the nut securing the shift cable end (A), then separate the shift cable end from the shift lever assembly.
pic 2
6. Rotate the socket holder (A) on the shift cable (B) counterclockwise a quarter turn, then slide the holder to remove the shift cable from the shift lever bracket base (C).
NOTE: Do not remove the shift cable by twisting the shift cable guide pipe (D).
7. Remove the floor heat shield.
pic 3
8. Remove the shift cable guide bracket (A) and grommet (B).
pic 4
9. Remove the bolts securing the shift cable holder (A), then remove the shift cable cover (B).
NOTE: To prevent damage to the control lever joint, remove the bolts securing the shift cable holder before removing the bolts securing the shift cable cover
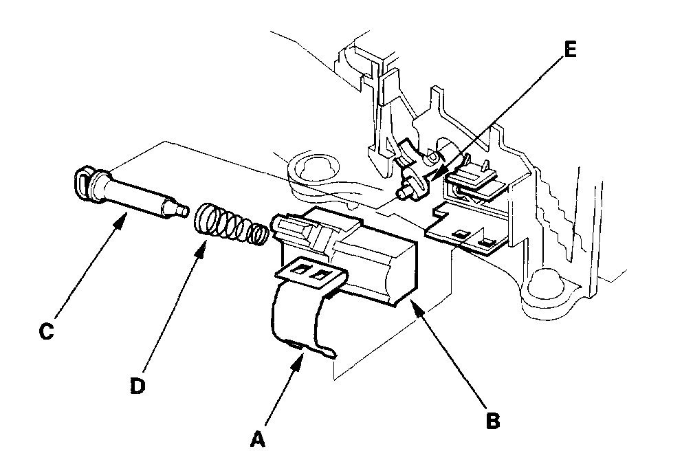
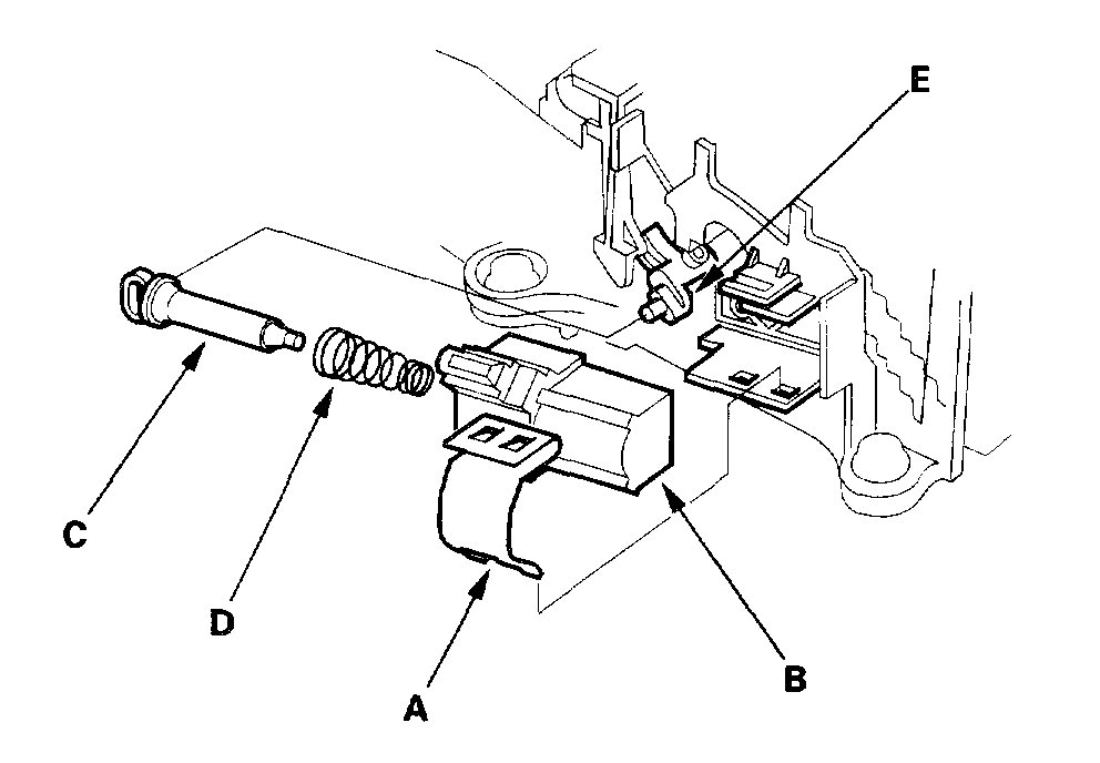
10. Remove the lock bolt (C) securing the control lever (D), then remove the shift cable (E) with the control lever.
11. Insert the new shift cable through the grommet hole, then install the shift cable guide bracket.
12. Verify that the transmission is in R position on the control shaft.
pic 5
13. Install the control lever (A) with the shift cable (B) on the control shaft (C). Do not bend the shift cable excessively.
14. Install the lock bolt (D) with a new lock washer (E), then bend the lock washer tab against the bolt.
15. Install the shift cable cover (F), then install the shift cable holder (G) on the cover.
NOTE: To prevent damage to the control lever joint, be sure to install the shift cable holder after installing the shift cable cover to the torque converter housing.
16. Install the floor heat shield.
17. Turn the ignition switch ON (II), and verify that the R position indicator light comes on.
pic 6
18. If necessary, push the shift cable until it stops, then release your hand. Pull the shift cable back one step so that the shift position is in R.
19. Turn the ignition switch OFF.
pic 7
20. Insert a 6.0 mm (0.24 inch) pin (A) into the positioning hole (B) on the shift lever bracket base through the positioning hole on the shift lever assembly.
pic 8
21. Rotate the socket holder (A) on the shift cable (B) counterclockwise a quarter turn, then slide the holder onto the shift lever bracket base (C). Install the shift cable end (D) over the mounting stud (E) by aligning its square hole (F) with the square shape (G) at the bottom of the stud. Rotate the holder clockwise a quarter turn to secure the shift cable.
NOTE: Do not install the shift cable by twisting the shift cable guide (H).
pic 9
22. Verify that the shift cable end (A) is properly installed on the mounting stud (B).
23. If not properly installed, remove the shift cable from the shift lever bracket base, and reinstall the shift cable. Do not install the shift cable end on the mounting stud while the shift cable is on the shift cable bracket base.
pic 10
24. Install the tighten the nut.
25. Remove the 6.0 mm (0.24 inch) pin that was installed to hold the shift lever.
26. Move the shift lever to each gear, and verify that the A/T gear position indicator follows the transmission range switch.
27. Start the engine, and check the shift lever operation in all gears.
____________________________________
Let me know if this helps or if you have other questions.
Take care,
Joe
Images (Click to enlarge)
Sep 20, 2019 at 9:01 PM