Skip p0305?

1997 CHEVROLET BLAZER
267,864 MILES • 4.3L • V6 • 4WD • AUTOMATIC
Avatar
KEVINSJ1313
  • MEMBER
  • 33 POSTS
I've done what most people do and changed the plugs and wires still the same thing skipping there is so much stuff online about what's it could be. I just figured I would ask you where to go next.
May 20, 2024 at 11:22 PM
Advertisement
Avatar
STRAILER
  • CERTIFIED EXPERT
  • 53,855 POSTS
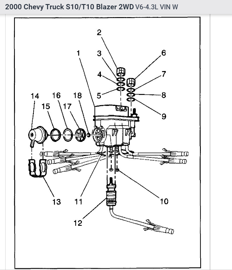
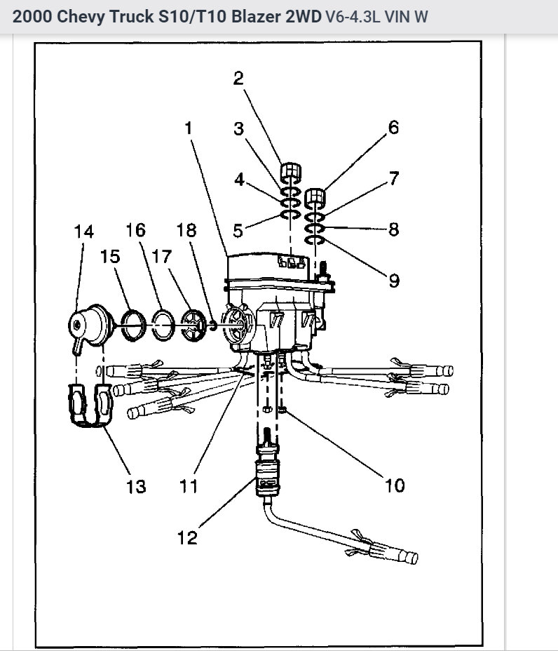
I would do a compression test and if okay change out the spider injector with a new unit which is common, these guides can help, and I have included the instructions of the changing the injector out to help fix the problem.

https://www.2carpros.com/articles/how-to-test-engine-compression

The compression should be above 120 PSI and if so, here is how to change out the injector. Check out the images (below). Please let us know what happens.
May 21, 2024 at 9:32 AM