TIPM connectors diagram needed?

2008 JEEP WRANGLER
187,000 MILES • 3.8L • V6 • 4WD • AUTOMATIC
Avatar
FORD500
  • MEMBER
  • 1 POST
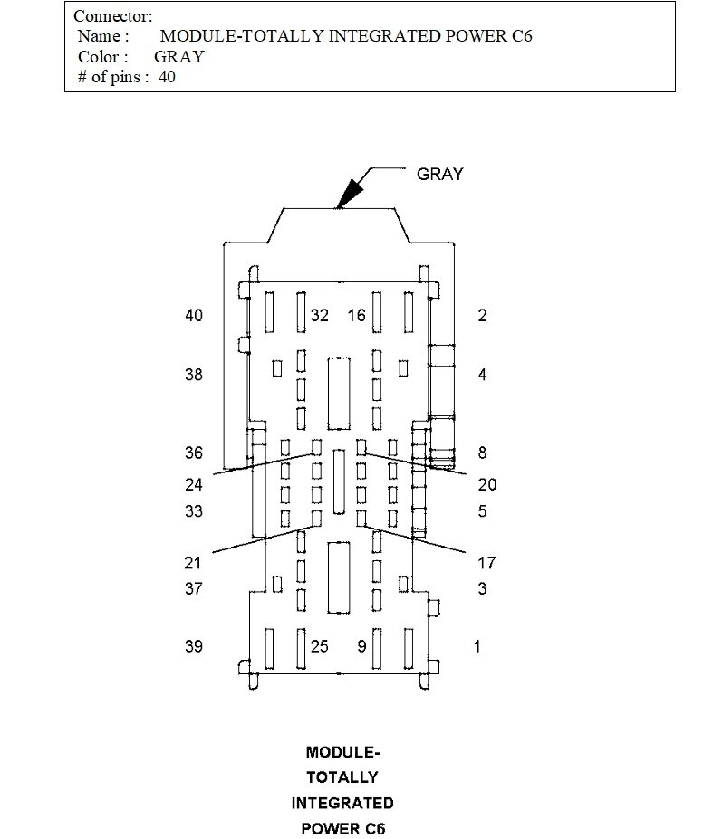
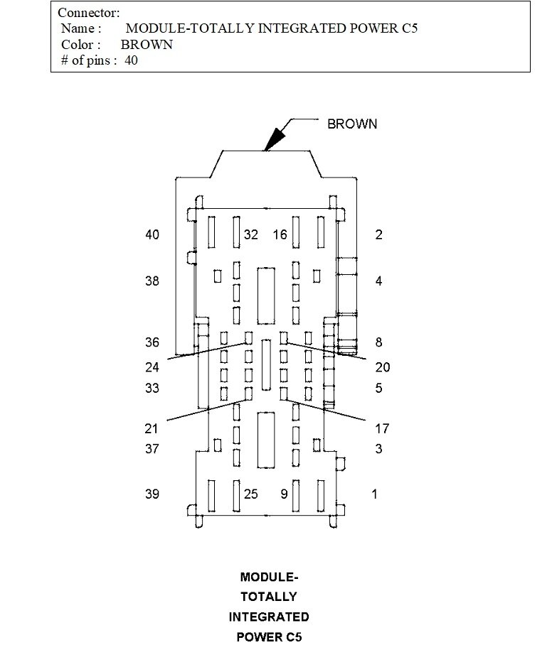
Hi , I need the diagrams of 2 connectors that plug into my TIPM. It’s for the vehicle listed above JK Unlimited X. I need the diagram showing the pin locations on the C-5, C-6 connectors and the wires with color codes that route through each one. Thanks for any help.
Jan 15, 2025 at 7:48 PM
Advertisement
Avatar
CARADIODOC
  • CERTIFIED EXPERT
  • 34,308 POSTS
It takes quite a while to format these, so I did it for every connector while I was at it. All of them are shown below, as well as the module location and the connector orientations for others who might research this topic later. Let me know if you need additional drawings.
Jan 15, 2025 at 9:28 PM
Avatar
CARADIODOC
  • CERTIFIED EXPERT
  • 34,308 POSTS
The second drawing got cut off on the bottom. I fixed that. Here it is with the last line visible.
Jan 15, 2025 at 9:32 PM
Advertisement