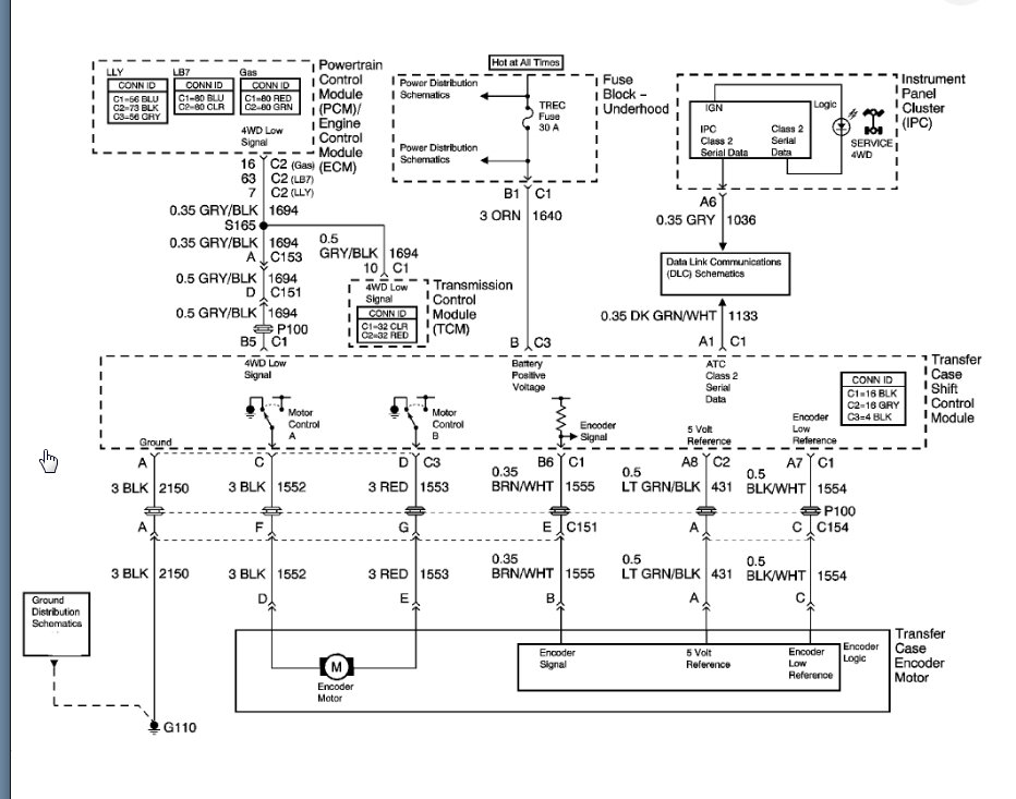
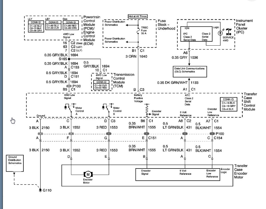
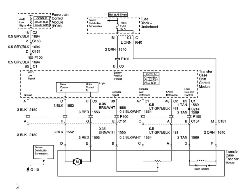
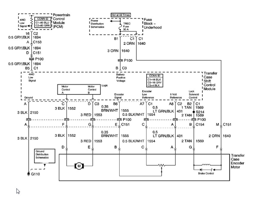
I have the truck listed above that needs transfer case replaced. I have a transfer case that came out of a 2004 Silverado, but the electrical plug for the shift motor has 8 contacts and my transfer case has 6 contact plug. Can I put shift motor on my 2003 transfer case with 6 contact electrical plug on 2004 transfer case with 8 contact electrical plug to make 2004 Silverado t case compatible to put in 2003 Silverado?
Jan 6, 2020 at 9:37 AM



