Transmission control module?

2012 CHEVROLET MALIBU
98,000 MILES • 3.5L • V6 • RWD • AUTOMATIC
Avatar
67KAYLENE
  • MEMBER
  • 5 POSTS
I took my car to the dealer where they diagnosed the transmission issue as a bad input speed sensor, which we bought and replaced ourselves. After we replaced the sensor the car still drove the same, like it was in limp mode it would go up to seventy five mph for five to ten miles and then reduce speed and go no faster than thirty five to forty mph. So the car is now throwing a TCM code. Is it possible we are going to have to now replace this also?
Jul 24, 2017 at 12:28 PM
Advertisement
Avatar
STRAILER
  • CERTIFIED EXPERT
  • 53,855 POSTS
Hello,

Yes I will be happy to walk you through the problem what is the code? Plus it would help if you could do our own scan.

Here is a guide that can help.

https://www.2carpros.com/articles/checking-a-service-engine-soon-or-check-engine-light-on-or-flashing


Please let us know what happens, we are interested to see what it is.

Cheers, Ken
Jul 25, 2017 at 12:44 PM
Avatar
JKROYLANCE
  • MEMBER
  • 1 POST
Where is the transmission control module located on this vehicle?
Sep 7, 2020 at 1:13 PM (Merged)
Advertisement
Avatar
HMAC300
  • CERTIFIED EXPERT
  • 48,601 POSTS
the module is part of the transmission inside attached to valve body.
Sep 7, 2020 at 1:13 PM (Merged)
Avatar
JOE RAINEY
  • MEMBER
  • 1 POST
On a 2009 Malibu LTZ. The TCM is located on the transmission. You will see the wire harness attached to it.
Sep 7, 2020 at 1:13 PM (Merged)
Avatar
OLEY33
  • MEMBER
  • 2 POSTS
Need help. I cannot find my TCM on my car listed above ltz model. l need a picture of where it is at.
Sep 7, 2020 at 1:13 PM (Merged)
Avatar
JACOBANDNICKOLAS
  • CERTIFIED EXPERT
  • 110,175 POSTS
Hi and thanks for using 2CarPros.com.

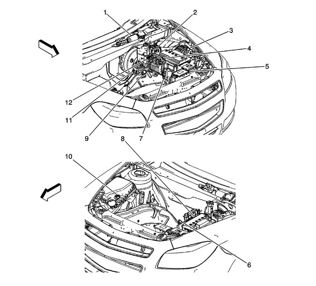
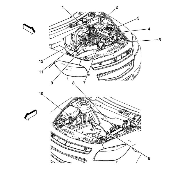
It will be in one of two locations. See the attached pictures. The legend for each picture follows the picture. In picture 1, locate component 7. In picture 2, locate component 6.

Let me know if this helps. Let me know if you have other questions.


Take care,
Joe
Sep 7, 2020 at 1:13 PM (Merged)
Avatar
OLEY33
  • MEMBER
  • 2 POSTS
Not there in any spot.
Sep 7, 2020 at 1:13 PM (Merged)
Avatar
JACOBANDNICKOLAS
  • CERTIFIED EXPERT
  • 110,175 POSTS
Hi again,

The pictures I supplied indicate the only two places they were placed. If the vehicle is a hybrid, that changes things. It will be mounted on the side of the transmission. Here are directions and pictures for removing it:

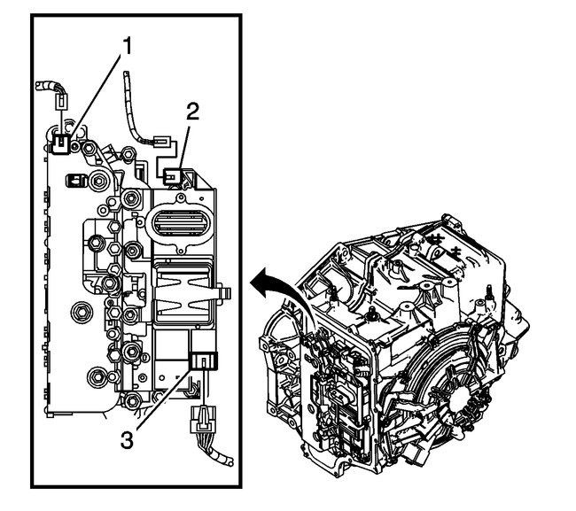
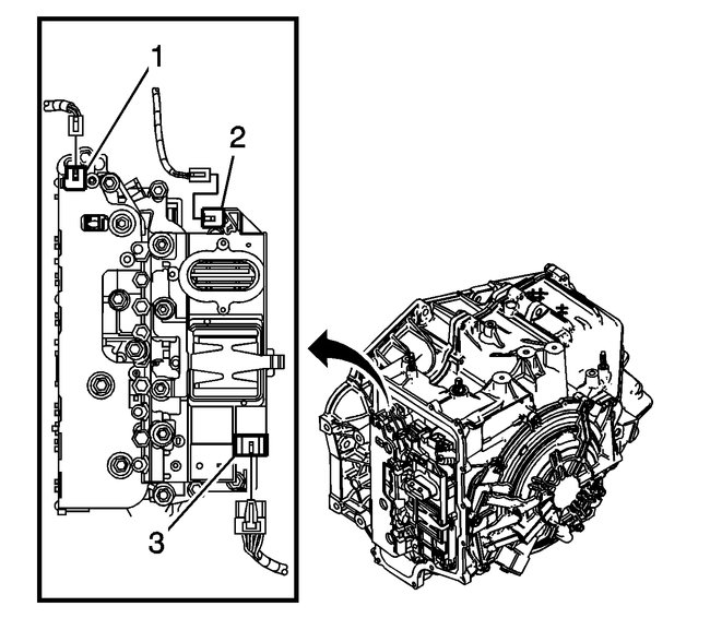
Control Solenoid Valve and Transmission Control Module Assembly Replacement

Removal Procedure

1. Remove the control valve body cover. Refer to Control Valve Body Cover Replacement (See: Valve Body, A/T > Removal and Replacement > Control Valve Body Cover Replacement).
2. Disconnect the input speed sensor electrical connector (1).
3. Disconnect the output speed sensor electrical connector (2).
4. Disconnect the shift position switch electrical connector (3).
5. Remove the 4 control valve body bolts (1) M6 x 80.
6. Position the control solenoid valve spring (8) to the side. Spring will be released with the removal of the control valve body assembly.
7. Remove the 2 control valve body bolts (4) M6 x 65.
8. Remove the control valve body bolt (3) M6 x 42.
9. Remove the 3 control valve body bolts (2) M6 x 95.
10. Remove the control valve body bolt (7) M6 x 55.
11. Remove the control solenoid valve body and transmission control module (TCM) assembly (5).

Let me know if this helps.

Take care,
Joe
Sep 7, 2020 at 1:13 PM (Merged)
Avatar
JOE YAMRICK
  • MEMBER
  • 1 POST
Where is the TCM located on this car?
Sep 7, 2020 at 1:13 PM (Merged)
Avatar
CJ MEDEVAC
  • CERTIFIED EXPERT
  • 11,004 POSTS
Here you go! Check out the diagrams (Below). Please let us know if you need anything else to get the problem fixed. The Medic
Sep 7, 2020 at 1:13 PM (Merged)
Avatar
KRISTINAWHITE09
  • MEMBER
  • 44 POSTS
Where is the transmission control module located on my vehicle?
Sep 7, 2020 at 1:13 PM (Merged)
Avatar
HMAC300
  • CERTIFIED EXPERT
  • 48,601 POSTS
left rear of engine compartment near strut tower. this may not be the problem if yo are having a trans problem.
Sep 7, 2020 at 1:13 PM (Merged)
Avatar
KRISTINAWHITE09
  • MEMBER
  • 44 POSTS
Thank you! I took it to a mechanic yesterday and they said the TCM needs to be replaced. Just trying to save a little money by installing the part I purchased myself as opposed to having the dealer do all the work and programming.
Sep 7, 2020 at 1:13 PM (Merged)
Avatar
HMAC300
  • CERTIFIED EXPERT
  • 48,601 POSTS
moduls are vin specific so a mechanic will have to program it as well. but you don't need a dealer to do that.
Sep 7, 2020 at 1:13 PM (Merged)
Avatar
KRISTINAWHITE09
  • MEMBER
  • 44 POSTS
I was told that we can replace the module, have it towed to the dealer, then they could program it. Is that correct? It looks like replacing it wouldn't be too difficult.
Sep 7, 2020 at 1:13 PM (Merged)
Avatar
KRISTINAWHITE09
  • MEMBER
  • 44 POSTS
I had my TCM programmed yesterday (as well as the ECM and PCM according to the paperwork) and I was wondering how long it will take for my vehicle to recognize the programming and work properly. My vehicle is shifting properly now; however, this morning my doors unlocked by themselves. When this happened, my speedometer moved eratically for a moment. This happened a few times. It didn't really affect my driving at all but I was wondering if this could be from the programming that was done. I had the TCM replaced and had the dealership do the programming. I've read this could be due to a faulty BCM but don't want to buy another part and have everything programmed all over if it could be an after-affect of the programming that was done. Right after I had the programming done yesterday by car wasn't shifting and I had other issues. The shifting is fine now but I'm just getting the periodic door unlocking and my side view mirror motor doesn't work.
Sep 7, 2020 at 1:13 PM (Merged)
Avatar
HMAC300
  • CERTIFIED EXPERT
  • 48,601 POSTS
yes you can do that but you can take it to any garage not only a dealer to get it programmed. probably cheaper too. try a trans shop they may be able to do that as well.
Sep 7, 2020 at 1:13 PM (Merged)
Avatar
KRISTINAWHITE09
  • MEMBER
  • 44 POSTS
Thank you! I actually called a trans shop around here who said they didn't have the equipment to program it. Can't find anywhere around here that has it other than the dealer - charging $95. All-in-all won't be bad and I'll be saving around $50-$75 even after I pay for the tow.
Sep 7, 2020 at 1:13 PM (Merged)
Avatar
KRISTINAWHITE09
  • MEMBER
  • 44 POSTS
Yes, you did help me yesterday. I checked some fuses yesterday for the BCM and TCM. I'll just have all the fuses checked as the ones I've checked already look fine. Thank you!
Sep 7, 2020 at 1:13 PM (Merged)
Avatar
KRISTINAWHITE09
  • MEMBER
  • 44 POSTS
One more question about this before I install it - can I drive my car after installing the TCM? Or will it need to be towed to the dealership to program it?
Sep 7, 2020 at 1:13 PM (Merged)
Avatar
HMAC300
  • CERTIFIED EXPERT
  • 48,601 POSTS
I don't think the tcm has a fuse if it does it would be probably marked ecm 1 or 2 and it's underhood for those.
Sep 7, 2020 at 1:13 PM (Merged)
Avatar
HMAC300
  • CERTIFIED EXPERT
  • 48,601 POSTS
try it your trans may not work or it may. but will still need programming.
Sep 7, 2020 at 1:13 PM (Merged)
Avatar
KRISTINAWHITE09
  • MEMBER
  • 44 POSTS
I've checked just about every fuse in the engine. I'm going to start with the ones in the passenger side panel first then recheck the ones under the hood. I'm hoping it's maybe the BCM relearning the programming from yesterday. I've read (and the dealer finally told me) that it can take at least a day for the modules to relearn the programming when you have it done. Some people said it could take a week or more. Thank you!
Sep 7, 2020 at 1:13 PM (Merged)
Avatar
KRISTINAWHITE09
  • MEMBER
  • 44 POSTS
I actually found a tow for free, so I think I'll just have it towed over there. Thank you very much for all your help!!!
Sep 7, 2020 at 1:13 PM (Merged)