Transmission not shifting into gear properly?

2010 CADILLAC ESCALADE
170,556 MILES • 6.2L • 6 CYL • 2WD • AUTOMATIC
Avatar
DARKFREELIFE
  • MEMBER
  • 36 POSTS
Real big problem here, after taking a long trip about 400 miles round trip on my way back transmission felt like it was not going into gear, RPMs going as high as 5,000 RPMs, then i could feel the transmission jerk and go into gear. A couple minutes later my MIL light came on. drove another 68 miles to fill up on gas and luckily i had my wonderful Launch X431 Pros mini. I scanned the car and forgot to take a screenshot but i clearly remember i had two transmission codes. can't remember the exact number but here is what they said:

1. Torque converter stuck off.

2. TTC solenoid #3 stuck open.

At this point the car would still shift into gear. I went ahead and reset the codes and to my surprise the car would not go into gear anymore after resetting the codes. i thought i was stuck there for good but after digging on the X431 Mini pro i was able to select the transmission module and go to the special function and shift the transmission gears manually, i went one by one up to six until i reached highway speeds. My first impression was the drive shaft of torque converter was toast, but my question is, why would the car run if i manually command the computer to change gears on transmission? After making it home safely i made the terrible mistake of parking in my home garage, lol, I can't back out anymore. I had more time to put the scanner again and on the live data section i noticed something that I'm not sure if is normal. here it what i noticed:

Torque Converter Clutch
(TCC) Pressure Control
(PC) Solenoid Pressure Command Value = No


Torque Converter Clutch
(TCC) Pressure Control
(PC) Solenoid Pressure Command PSI = 0


would this be the problem why not is shifting to any gear? no matter what gear is selected that never changed.

since i remember one of the codes saying something about a solenoid #3 i trigger that one On and Off and on Off car moves back couple of inches on the On position car moves forward again. During the cycling of the On and Off i can hear how the transmission either is trying to shift of torque converter engaging. Please help.

i forgot to mention i have also checked the transmission shifting cable inside and underneath the car where it goes into the transmission, and it is all good.
Jul 31, 2022 at 9:13 AM
Advertisement
Avatar
DARKFREELIFE
  • MEMBER
  • 36 POSTS
one thing i forgot to mention was the while driving before resetting the codes my transmission fluid would get to 238 F. I remember my fluid only reaching max 175 F when i had no problems before. and it felt like the transmission was stuck on fifth gear because it would not go pass 75MPH.
Jul 31, 2022 at 11:11 AM
Avatar
DARKFREELIFE
  • MEMBER
  • 36 POSTS
I have checked the oil and it looked black with some super small metal flakes.
here is a picture:
Jul 31, 2022 at 6:22 PM
Advertisement
Avatar
STRAILER
  • CERTIFIED EXPERT
  • 53,855 POSTS
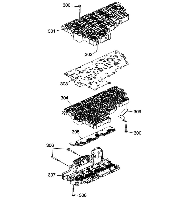
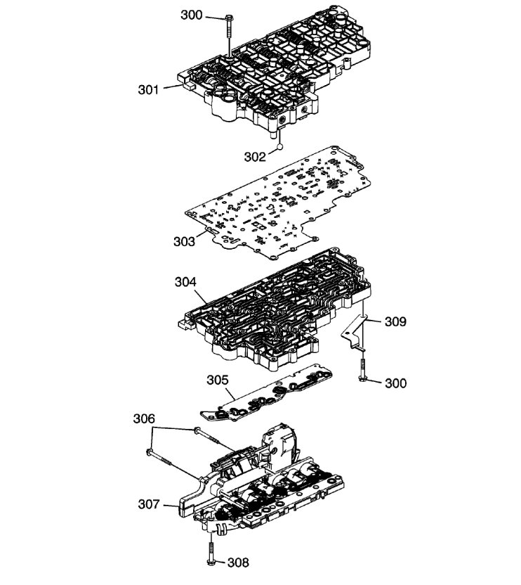
The transmission definitely needs to be serviced; this guide can help with diagrams below. also, the pressure control solenoid, this will happen if the fluid level was low? Here are the solenoid locations so you can replace them and at the same time install a new fluid filter with fresh fluid.

Automatic Transmission

DEXRON-VI Automatic Transmission Fluid.

Capacities


AUTOMATIC TRANSMISSION FLUID CAPACITY

6L80 AUTOMATIC TRANSMISSION

Pan Removal .................... 5.7 liters (6.0 quarts)

Overhaul .................... 9.9 liters (10.5 quarts)

Complete Trans System .................... 11.7 liters (12.4 quarts)

6L90 AUTOMATIC TRANSMISSION

Pan Removal .................... 6.0 liters (6.3 quarts)

Overhaul .................... 9.9 liters (10.5 quarts)

Complete Trans System .................... 11.7 liters (12.4 quarts)

2ML70 AUTOMATIC TRANSMISSION

Drain Plug Only .................... 9.93 liters (10.5 quarts)

Drop Pan and Filter .................... 10.88 liters (11.5 quarts)

Dry Transmission (Empty) .................... 12.30 liters (13.0 quarts)

Note All capacities are approximate. When adding, be sure to fill to the approximate level. Recheck fluid level after filling.

This guide will walk you through the transmissions service:

https://www.2carpros.com/articles/how-to-service-an-automatic-transmission

Check out the diagrams (below). Let us know what happens and please upload pictures or videos of the problem.
Aug 1, 2022 at 9:28 AM