Transmission Shift Solenoid C

1999 LEXUS GS 300
110,000 MILES • 0.5L • 6 CYL • AUTOMATIC
Avatar
LDYLUV318
  • MEMBER
  • 1 POST
I must change solenoid C and I was advised that it's best to change all of them at the same time because anything is possible thereafter. Question is "how many solenoids are there in my vehicle. I have a 1999 Lexus GS300. When I go online to purchase the parts the OEM cost a little over $100 each and then there are cheaper ones that come in a kit with a transmission pan and gasket. Some kits have 2 and I've seen sets with 9. Please tell me just how many my car has and if I should only use OEM products
Jan 27, 2019 at 5:47 PM
Advertisement
Avatar
JACOBANDNICKOLAS
  • CERTIFIED EXPERT
  • 110,175 POSTS
Hi and thanks for using 2carpros.com

If you count all of them, there are 7 related to shifting. However, there are 4 specific to the actual sift.

Here are the directions for installing them. The attached pictures correlate with them. You will note that three of them indicate something other than shift. Here are what they do.

SLN is the accumulator back pressure solenoid. It allows for a smooth shift.

SLU is for torque converter lock up

SLT controls internal line pressure to maintain smooth operation.

Here are the directions for replacement. The attached pictures correlate with these directions and indicate what each solenoid valve does.

ON-VEHICLE REPAIR
ON-VEHICLE REPAIR

CAUTION: When working with FIPG material, you must observe the following items.
- Using a razor blade and gasket scraper, remove all the old FIPG material from the gasket surfaces.
- Thoroughly clean all components to remove all the loose material.
- Clean both sealing surfaces with a non-residue solvent.
- Apply FIPG in an approx. 1 mm (0.04 inch) wide bead along the sealing surface.
- Parts must be assembled within 10 minutes of application. Otherwise, the FIPG material must be removed and reapplied.

1. REMOVE DRAIN PLUG WITH GASKET AND DRAINAGE
2. REMOVE OIL PAN. Refer to Temperature Sensor, Transmission Control; Service and Repair.
3. EXAMINE PARTICLES IN PAN
4. REMOVE OIL STRAINER
5. REMOVE SOLENOID WIRING WITH ATF TEMPERATURE SENSOR


Pic 1


6. REMOVE VALVE BODY
a. Remove the 21 bolts and valve body.


Pic 2

7. REMOVE CHECK BALL BODY AND SPRING

NOTICE: Do not drop the check ball body and spring.


Pic 3

8. REMOVE SOLENOID VALVE
a. Remove the 3 bolts and shift solenoid valve No.1, No.2 and No.3.
b. Remove the 2 bolts, oil guide plate, lock plate, shift solenoid valve SLN and No.4.
c. Remove the 6 O-rings from each shift solenoid valve.
d. Remove the bolt, lock plate and shift solenoid valve SLU and SLT.
9. INSTALL SOLENOID VALVE
a. Install the shift solenoid valve SLU and SLT and the lock plate with the bolt.
Torque: 6.4 Nm (65 kgf-cm, 56 inch lbs.)
b. Coat 6 new O-rings with ATF.
c. Install the 6 O-rings to the each solenoid valve.
d. Install the shift solenoid valve SLN, No.4, lock plate and oil guide plate with the 2 bolts.
Torque: 10 Nm (100 kgf-cm, 7 ft. lbs.)
e. Install the shift solenoid valve No.1, No.2 and No.3 with the 3 bolts.
Torque:
Shift solenoid valve No.1 and No.3:
6.4 Nm (65 kgf-cm, 56 inch lbs.)
Shift solenoid valve No.2:
10 Nm (100 kgf-cm, 7 ft. lbs.)


Pic 4

10. INSTALL CHECK BALL BODY AND SPRING
11. INSTALL VALVE BODY


Pic 5

a. Align the groove of the manual valve to pin of the lever.


Pic 6

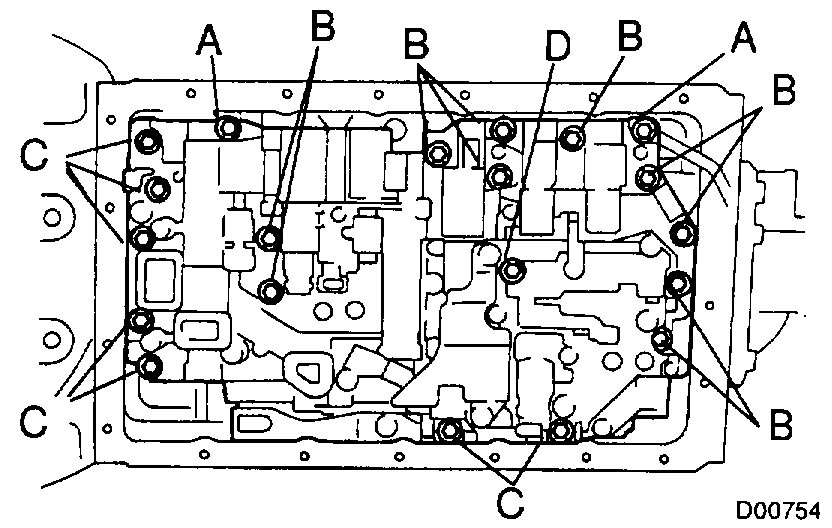
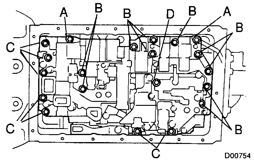
b. Install the 21 bolts.
Torque: 10 Nm (100 kgf-cm, 7 ft. lbs.)
Bolt length:
Bolt A: 23 mm (0.91 inch)
Bolt B: 28 mm (1.10 inch)
Bolt C: 36 mm (1.42 inch)
Bolt D: 55 mm (2.17 inch)
12. INSTALL SOLENOID WIRING WITH ATF TEMPERATURE SENSOR
13. INSTALL OIL STRAINER
14. INSTALL OIL PAN
15. INSTALL DRAIN PLUG WITH NEW GASKET
Torque: 20 Nm (205 kgf-cm, 15 ft. lbs.)
16. FILL FLUID AND CHECK FLUID

_________________________________________

Okay, with that being said, you said shift solenoid C is the problem. C is the SLU solenoid. It is responsible for converter lock up. If you are experiencing converter lock up when the lock up system is off, or it remains off when the unit is on, this is the most likely cause. However, it can also be related to contamination or dirt in the valve body or the torque converter lock up clutch has failed.

If those are the symptoms you are experiencing, you could get away with just the one solenoid. However, if the fluid was never changed and dirt is an issue, you should replace all and I would suggest taking apart the valve body and cleaning and inspecting it.

Here are the directions for valve body disassembly. I'm adding them just in case you need them. Starting with picture 6, the remaining pics correlate with these directions. If you do this, it must go back together exactly the same way it was taken apart.

_________________________________________

VALVE BODY

COMPONENTS

Pic 7


VALVE BODY DISASSEMBLY

Pic 8
1. UNBOLT AND REMOVE DETENT SPRING


Pic 9
2. REMOVE MANUAL VALVE


Pic 10
3. REMOVE 3 SOLENOIDS


Pic 11
4. TURN OVER ASSEMBLY AND REMOVE 25 BOLTS


Pic 12
5. LIFT OFF UPPER VALVE BODY AND PLATE AS A SINGLE UNIT
Hold the valve body plate to the upper valve body.

HINT: Be careful that the check balls and strainer do not fall out.


VALVE BODY ASSEMBLY
Pic 13
1. POSITION NEW NO.1 GASKET ON UPPER VALVE BODY
Align a new No.1 gasket at each bolt hole.

2. POSITION VALVE BODY PLATE ON NO.1 GASKET
Align the plate at each bolt hole.


Pic 14
3. POSITION NEW NO.2 GASKET ON PLATE
Align a new No.2 gasket at each bolt hole.


Pic 15
4. PLACE UPPER VALVE BODY WITH PLATE AND GASKETS ON TOP OF LOWER VALVE BODY
Align each bolt hole and gasket in the valve body.


Pic 16
5. INSTALL 25 BOLTS TO UPPER VALVE BODY

HINT: Each bolt length is indicated below.

Torque: 6.4 Nm (65 kgf.cm, 56 inch lbs.)

Bolt length:
Bolt A: 38 mm (1.50 inch)
Bolt B: 20 mm (0.79 inch)
Bolt C: 28 mm (1.10 inch)


Pic 17
6. INSTALL 3 SOLENOIDS


Pic 18
7. INSTALL MANUAL VALVE
8. INSTALL DETENT SPRING

Torque: 10 Nm (100 kgf.cm, 7 ft. lbs.)

9. MAKE SURE MANUAL VALVE MOVES SMOOTHLY



UPPER VALVE BODY

COMPONENTS

Pic 19


VALVE BODY SPRING SPECIFICATIONS

Pic 20
HINT: During reassembly please refer to the spring specifications below to help differentiate between the different springs.

RETAINERS, PIN, STOPPER, CHECK BALLS AND STRAINER LOCATION

Pic 21
1. RETAINER, STOPPER AND PIN


Pic 22
2. CHECK BALL


Pic 23
3. STRAINER


LOWER VALVE BODY

COMPONENTS

Pic 24


VALVE BODY SPRING SPECIFICATIONS

Pic 25
HINT: During reassembly please refer to the spring specifications below to help differentiate between the different springs.

RETAINERS, CLIP, CHECK BALLS, STRAINERS, SPRINGS AND VALVES LOCATION


Pic 26
1. RETAINER AND CLIP


Pic 27
2. CHECK BALL


Pic 28
3. STRAINER, SPRING AND VALVE

_________________________________________
I hope this helps. Let me know if you have questions or just need help.

Take care,
Joe
Jan 27, 2019 at 6:47 PM