I have a 1993 Ford explorer xlt 4x4 with a 4.0 liter that has 64,000 miles.
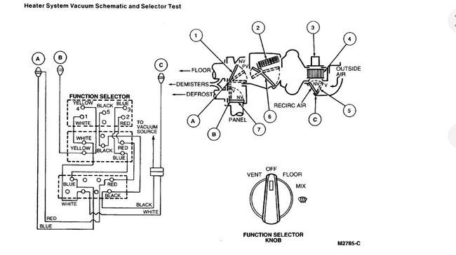
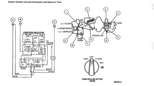
I picked this vehicle up a month ago and it was loping at accellerationb so I checked vaccum lines. I found a vaccume line was missing, with a stub and a screw in the end to replace it. The vacuum line chart only shows a few vacuum lines and I cant find the end of the line, is there any complete chart?

Also, It makes a single clunk when turning the wheels either way. I just replaced the front shocks, lubricated every nook and cranny available to stop some annoying squeeking, hoping the noise was friction, but its still doing it. I just had the hubs serviced and learned one of fords dumber ideas is that you can't lubricate the ball joints. My mechanic explained that when they get dry you just have to replace them.... Do you thing this could be the noise?
It doesnt sound like a serious problem but I have noticed speeds over 55, there is a light shudder comming from the front end... It could also be the age and everything has seen better days, but if you could just ease my mind, Thanks!
Dec 9, 2020 at 2:02 PM
(Merged)