Small leak in the valve cover gasket

2009 HONDA ODYSSEY
172,000 MILES • 6 CYL • AUTOMATIC
Avatar
THE KID
  • MEMBER
  • 1 POST
i had a mechanic look at my car said i have a very very small leak valve cover gasket but no oil is leaking. should i be concerned or is this a major problem?
Mar 4, 2020 at 3:18 PM
Advertisement
Avatar
CJ MEDEVAC
  • CERTIFIED EXPERT
  • 11,004 POSTS
What is leaking out of the cover?

The Medic
Mar 4, 2020 at 3:31 PM
Avatar
ASEMASTER6371
  • CERTIFIED EXPERT
  • 52,796 POSTS
Good evening,

If you are using any oil and there is no leak showing, I would wait until it needs to be done.

Did he say which one was leaking?

Roy

Cylinder Head Cover Removal

1. Remove the intake manifold See: Intake Manifold > Removal and Replacement > Intake Manifold Removal/Installation.

2. Remove the six ignition coils See: Ignition Coil > Removal and Replacement > Ignition Coil and Spark Plug Removal/Installation (Except J35A7).

3. Remove the dipstick.

Front Cylinder Head Cover

4. Remove the two bolts (A) securing the harness holder, and remove the harness clamp (B).


imageOpen In New TabZoom/Print



Rear Cylinder Head Cover

5. Remove the drive belt See: Drive Belt > Removal and Replacement > Drive Belt Replacement (J35A6).

6. Remove the power steering (P/S) pump and the P/S hose bracket See: Cylinder Head Assembly > Removal and Replacement > Cylinder Head Removal (J35A6) with its hoses connected.

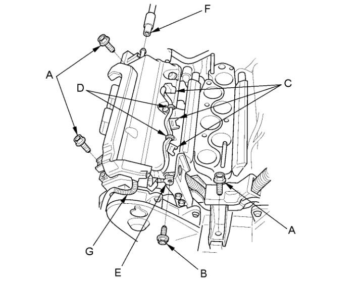
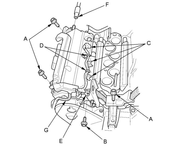
7. Remove the harness holder mounting bolts (A) and the engine ground cable bolt (B).


imageOpen In New TabZoom/Print


8. Disconnect the injector connectors (C) and the two harness clips (D).

9. Remove the engine ground cable (E) and disconnect the breather hose (F).

10. Remove the harness (G) from the upper cover.

11. Remove the cylinder head cover.

FRONT


imageOpen In New TabZoom/Print


REAR


imageOpen In New TabZoom/Print
Mar 4, 2020 at 3:34 PM
Advertisement