Windshield wipers not working properly

1996 INFINITI QX4
212,000 MILES
Avatar
KEMPACHI4554
  • MEMBER
  • 1 POST
My windshield wipers will not move. I can hear the motor running but the blades seem to be off track.
Nov 25, 2018 at 2:54 PM
Advertisement
Avatar
JACOBANDNICKOLAS
  • CERTIFIED EXPERT
  • 110,175 POSTS
Hi and thanks for using 2CarPros.

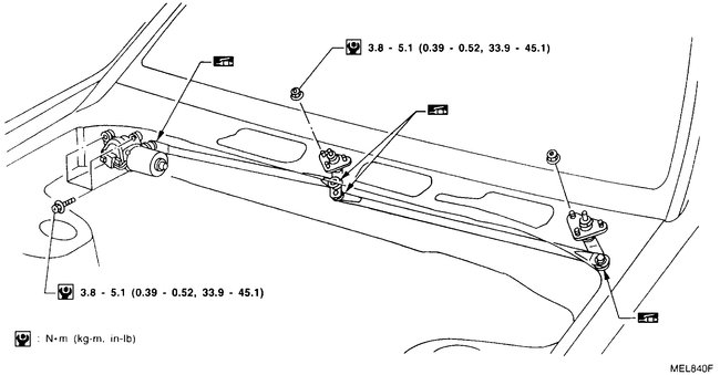
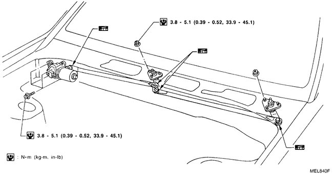
It sounds like the linkage came off the motor. The wiper motor is located on the passenger side under the hood. There are three mounting locations for the linkage. One at the motor, and the other two on the wiper gear box. That is the first thing I would check.

See the attached picture. Check the linkage at the motor first.

Let me know what you find or if you have other questions.

Take care,
Joe
Nov 26, 2018 at 2:28 PM