Engine shut off while idling it cranks but will not start?

2021 FORD ESCAPE
17,000 MILES • 3.0L • V6 • 4WD • MANUAL
Avatar
4X4PLEASE
  • MEMBER
  • 1 POST
was sitting idling and just shut off for no apparent reason. it turns over, i believe it gets fuel in the fuel and to the injectors but not to the spark plugs. i can take spark plugs out and put a little fuel in each one and it fires up for maybe 2 seconds.
Jun 19, 2020 at 11:21 PM
Advertisement
Avatar
ASEMASTER6371
  • CERTIFIED EXPERT
  • 52,796 POSTS
Good morning,

When you turn the key to the on position without cranking the engine over can you hear the fuel pump run in the tank for 5 seconds?

https://www.2carpros.com/articles/car-cranks-but-wont-start

Please run down this guide and report back.

It sounds like the crankshaft sensor could be shirted out and needs replacement if so here are instructions in the diagrams below. Check out the diagrams (Below). Please let us know what you find. We are interested to see what it is.
Jun 20, 2020 at 3:43 AM
Avatar
THADDIUS AHSJRJDB JEANBATISTE
  • MEMBER
  • 1 POST
Cut off at light in traffic while driving. And could not start back up it would just crank over?
Aug 12, 2020 at 1:10 PM (Merged)
Advertisement
Avatar
WRENCHTECH
  • CERTIFIED EXPERT
  • 20,761 POSTS
It sounds like the crankshaft sensor has gone out but to be sure this guide will help us fix it,

https://www.2carpros.com/articles/car-cranks-but-wont-start


Check to see if the Inertia switch has tripped. It is located behind the right kick panel. If is has tripped, there will be a red button on top that pops up. Try to push it down.
Aug 12, 2020 at 1:10 PM (Merged)
Avatar
MIKE E79
  • MEMBER
  • 1 POST
Car was rough to start yesterday. Finally fired and started but was rough idle, once it warmed up ran okay, some vibration at take off like maybe a cylinder misfire. Today would turn over fine but not fire. After turning over continuously the post on starter got hot and melted plastic buffer between post and metal casing of solenoid body producing smoke. Wires do not appear to have burnt, but engine will not fire at all now. Thought solenoid was bad but it will still turn over fine just will not fire.
Aug 12, 2020 at 1:10 PM (Merged)
Avatar
STRAILER
  • CERTIFIED EXPERT
  • 53,855 POSTS
We need to see if the engine is losing fuel pressure or spark.

Here are guides to help us get started:


https://www.2carpros.com/articles/how-to-test-an-ignition-system

and

https://www.2carpros.com/articles/how-to-check-fuel-system-pressure-and-regulator

Please let us know what you find.

Cheers, Ken
Aug 12, 2020 at 1:10 PM (Merged)
Avatar
JACOBR
  • MEMBER
  • 1 POST
The fuel pump won't turn on.and it won't start with starting fluid. Changed fuel pump 2 times. All fuel and relays are good. Battery good.what else can we try?
Aug 12, 2020 at 1:12 PM (Merged)
Avatar
JOETECHPRO
  • CERTIFIED EXPERT
  • 705 POSTS
Hey JACOBR,

Can you please first check the inertia fuel cut off switch?

I have attached a description and location for the inertia cutoff switch.

Press the reset button and retry, if this makes no change then then disconnect the inertia switch and bridge the two connections.

Will the vehicle start now?

Regards, Joe
Aug 12, 2020 at 1:12 PM (Merged)
Avatar
JACOBR
  • MEMBER
  • 1 POST
Already tried that!
Aug 12, 2020 at 1:12 PM (Merged)
Avatar
NANCY HEPOLA
  • MEMBER
  • 1 POST
My car will crank but wont start and no spark.I have changed battery,fuel filter, fuel pump.Crankshaft position sensor.What else can it be?
Aug 12, 2020 at 1:12 PM (Merged)
Avatar
SCGRANTURISMO
  • CERTIFIED EXPERT
  • 4,897 POSTS
Hello,

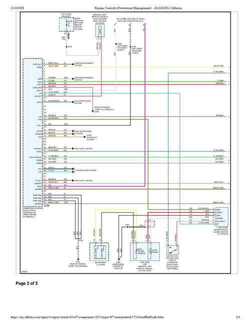
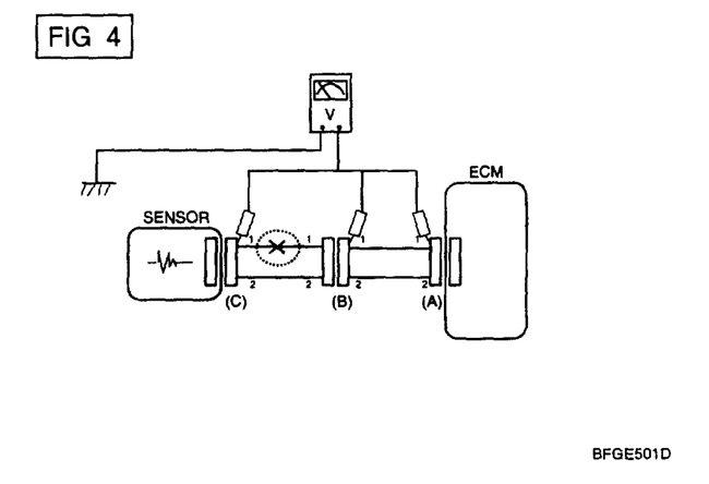
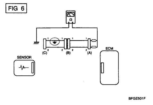
This could be a problem with the wires going from the Crankshaft Position Sensor (CKP) to your vehicle's Power-train Control Module (PCM). In the diagrams down below I have included a wiring diagram with the wires highlighted for you. You will need to check for an open in the circuit and I have included instructions for how to do that as well, but it will require you to use a multi-meter. Here is a link for you to go to if you are unfamiliar with how to use one.

https://www.2carpros.com/articles/how-to-use-a-voltmeter

Please check these wires and get back to us with what you are able to find out.

Thanks,
, Alex
2CarPros
Aug 12, 2020 at 1:12 PM (Merged)
Avatar
BMDOUBLE
  • CERTIFIED EXPERT
  • 1,139 POSTS
Are there any trouble codes in the Power-train control module? This will help lead us in the right direction. Also, while cranking does the RPM needle move at all? This will be an indicator of a bad crank sensor signal. I’ve had wiring issues with crank sensors on these vehicles.
Aug 12, 2020 at 1:12 PM (Merged)
Avatar
DANIELPSTANDRE
  • MEMBER
  • 3 POSTS
Someone changed all the plugs and coils.But they are aftermarket.The computer was also repaired and programmed and put back. it has spark but it seems yellow not blue. I do believe it has fuel pressure, but i am not sure yet.It wants to start but doesn't. The new plugs seemed soaked with gas.I don't know what to do from here.Another shop also tested the front for compression it read fine.
Aug 12, 2020 at 1:13 PM (Merged)
Avatar
KASEKENNY
  • CERTIFIED EXPERT
  • 18,907 POSTS
Okay. Based on all this we need to start with new plugs. If they are soaked with fuel, then you may have fixed the issue with one of the other repairs but all the cranking prior to the "fix" getting installed it could have fouled the plugs again. So put new plugs in and try cranking it. If it does not fire then stop cranking so you don't foul the new ones. At that point we need to check the spark again. If it is still yellow then we have a secondary ignition issue. However, this is unlikely due to it being new coils.

Let me know what happens when we get good plugs in there.
Aug 12, 2020 at 1:13 PM (Merged)
Avatar
DANIELPSTANDRE
  • MEMBER
  • 3 POSTS
Okay, changed the new coil packs to better ones it did nothing.what does it mean when it will run without a spark plug in it?
Aug 12, 2020 at 1:13 PM (Merged)
Avatar
DANIELPSTANDRE
  • MEMBER
  • 3 POSTS
I also tested the slark with a new spark plug not the one in it.
Aug 12, 2020 at 1:13 PM (Merged)
Avatar
KASEKENNY
  • CERTIFIED EXPERT
  • 18,907 POSTS
Did you change the spark plugs or the coils? If the spark plugs are fouled with fuel then they will not deliver the proper spark to allow it to start.

As for it running without the spark plug installed, I am not sure I understand. Did you remove the plugs and try to start it and it started? So it would not start until you removed a plug? How many did you remove when it started? Let me know if I am misunderstanding. Thanks
Aug 12, 2020 at 1:13 PM (Merged)
Avatar
CRUISERBOY811
  • MEMBER
  • 1 POST
I have a 2005 ford escape 4 cylinder engine 2.3 liter ,it cranks but i can turn on the vehicle in any way not even with ether ,it displays only dashes on the odometer and i don't know what this means ,car wont start and the obd can does not link to the vehicle i have tried 3 more scanners an with all 4 scanners wont link too.the mileage registered is 75336 was placed on the work order.
Engine and transmission were pulled out just for a replacement of the front transmission seal and all has been placed in order i have check and double check all the electrical connections and rechecked all ground point and fuses ,relays and all that is involved ,there is a good spark in all 4 plugs and fuel pressure is in order but just wont start ,engine was running perfectly and smoothly once the vehicle arrived and engine also was covered for dust or water entries. any help would be great!
Aug 12, 2020 at 1:16 PM (Merged)
Avatar
CJ MEDEVAC
  • CERTIFIED EXPERT
  • 11,004 POSTS
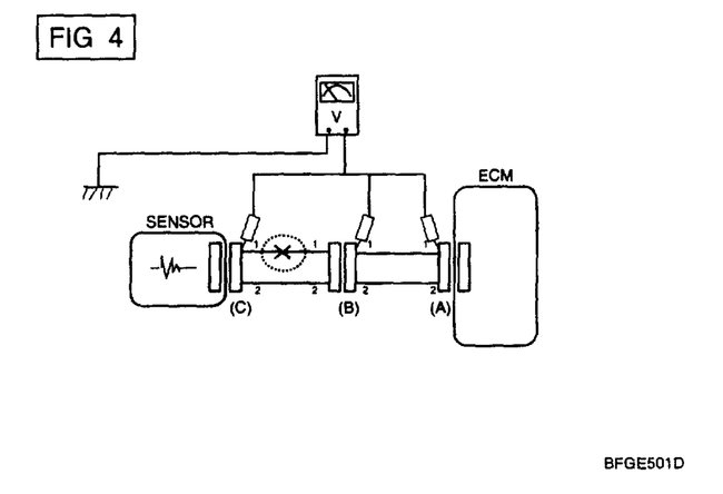
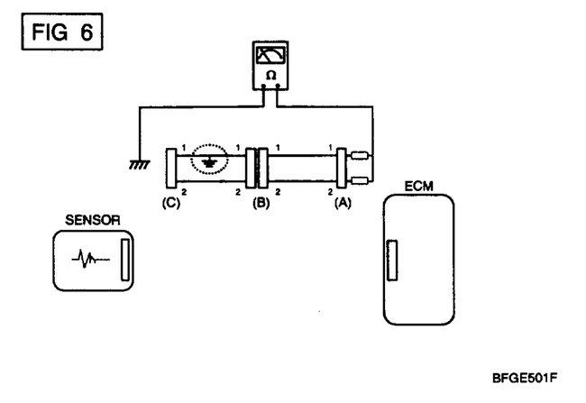
I have seen the PCM go bad in these cars here is how you can replace it in the diagrams below. Check out the diagrams (Below). Please let us know what you find.
Aug 12, 2020 at 1:16 PM (Merged)
Avatar
TI2GER88
  • MEMBER
  • 3 POSTS
My car had a new motor installed last April and it has ran great since. I have put appro 25000 miles on the car since putting new motor in. It was fine last night and this morning it will not start. It is put fuel to motor and try to turn over but nothing. We had a major snow storm yesterday so I thought it had moisture somewhere but after looking things over and trying to start it without results I just by chance removed my cell phone charger and the car started right up but once I put it back in the car stalled immediately and now I can't get it to start at all. I bought this car brand new and ater like 10000 on the car they had to replace one of the wiring harnesses because "it was wired backwards"????? Please any ideas????
Aug 12, 2020 at 1:23 PM (Merged)
Avatar
ASEMASTER6371
  • CERTIFIED EXPERT
  • 52,796 POSTS
yes, maybe the car is not at fault, your charger is the issue.

Roy
Aug 12, 2020 at 1:23 PM (Merged)
Avatar
TI2GER88
  • MEMBER
  • 3 POSTS
But now the charger is not plugged in and the car still will not start
Aug 12, 2020 at 1:23 PM (Merged)
Avatar
TI2GER88
  • MEMBER
  • 3 POSTS
Also Tried to disconnect the charger all together and still will not start and all the fuses are fine as well
Aug 12, 2020 at 1:23 PM (Merged)
Avatar
ASEMASTER6371
  • CERTIFIED EXPERT
  • 52,796 POSTS
did you test then with a test light??? if they are good, ahve the fuel pressure and spark checked if both are missing it may have taken out the pcm.

Roy
Aug 12, 2020 at 1:23 PM (Merged)
Avatar
DAREMT14040
  • MEMBER
  • 1 POST
I was driving the other night and all of a sudden the engine was revving, jumping up to 3RPM. I pulled into a parking lot and put the car in park which was followed with a noise similar to dropping a bunch of change on the ground. I put the car in drive to move it into a parking space and again the engine revved without me pushing on the gas pedal. I figured if I turned the car off maybe it would somehow reset itself. Not. It would not start. It turns over but not starting right away, only when I push the gas pedal all the way down for a good 5 mins. The car will start but rev up to around 3RPM then quickly drops and stalls. All the fluids are full, no smell, and looks the way they should. Battery was tested and is ok. No dashboard warning lights come on. My dad has a cheap computer and when we read it, no codes were found. I added fuel injection cleaner which didn't help. I am not driving the car because I don't want to get stranded. What is going on with it?
Aug 12, 2020 at 1:23 PM (Merged)
Avatar
HONDATECH1983
  • CERTIFIED EXPERT
  • 109 POSTS
Check the throttle cable and the throttle body air intake plate to make sure they're not sticking. Also make sure the air intake tube/boot iisnt torn and creating an air leak past the mass air flow sensor. Make sure the mass air flow sensor doesn't have any trash surrounding it causing it to not read properly.
Aug 12, 2020 at 1:23 PM (Merged)
Avatar
JIMMIE1231
  • MEMBER
  • 1 POST
I have a 2005 Ford Escape. The check engine light came on and a little while later while driving on the highway it stalled and refused to start. I came back in the daylight to look at it and the engine will start but dies after a few seconds. I was told that it was a bad Idle Air Control valve but i replaced it and it still will start and run for a few seconds before dying again. When it does start its really rough and wont idle. It will not stay running even when feathering the throttle. It will not rev over 2000 rpm. Hope you can help. thanks
Jim Smith
Aug 12, 2020 at 1:23 PM (Merged)
Avatar
MHPAUTOS
  • CERTIFIED EXPERT
  • 31,937 POSTS
Hi there,

With the check light on, you will have a set fault code lodged in the ECU, have a scan done to read this code , post the results here for more assistance.

mark (mhpautos)
Aug 12, 2020 at 1:23 PM (Merged)
Avatar
CHARLIEWHOP
  • MEMBER
  • 1 POST
My alternator went out i replaced it with brand new one. Reset the inertia switch checked all the fuses still nothing. It cranks but does not start.
Aug 12, 2020 at 1:24 PM (Merged)
Avatar
ASEMASTER6371
  • CERTIFIED EXPERT
  • 52,796 POSTS
Good afternoon,

Can you hear the fuel pump run?

Is the security or theft light on?

Does the tachometer move up a little while cranking?

https://www.2carpros.com/articles/car-cranks-but-wont-start

Roy
Aug 12, 2020 at 1:24 PM (Merged)
Avatar
SEVAG P
  • CERTIFIED EXPERT
  • 405 POSTS
Hello thanks for using 2CarPros.

The problem can be stucked alarm system, no ignition or no fuel supply, injection.
to narrow our problem first step read the fault codes.

https://www.2carpros.com/articles/checking-a-service-engine-soon-or-check-engine-light-on-or-flashing

this is our guide for engine does not start:
https://www.2carpros.com/articles/car-cranks-but-wont-start

perform ignition spark test.
https://www.2carpros.com/articles/how-to-test-an-ignition-system

check fuel supply.
https://www.2carpros.com/articles/how-to-check-fuel-system-pressure-and-regulator
https://www.youtube.com/watch?v=dCjmRL3p4Cs

let us know what happens with you.
thank you.

Aug 12, 2020 at 1:24 PM (Merged)
Avatar
CORKY88
  • MEMBER
  • 15 POSTS
The motor turns over,but it does not start. I check the timing chain and it is good,the cam is turning over,the crank is tuning,the pistons are moving,but i am not getting compression at all.So what should check now? I will say the motor is tuning over like the timing chain was broke. Would the timing not right cause the motor not have compression?
Aug 12, 2020 at 1:30 PM (Merged)
Avatar
HMAC300
  • CERTIFIED EXPERT
  • 48,601 POSTS
how do you know you don't have compression? did you use a compression gauge? s for codes and check fuel pressure with a gauge. auto parts rent gauge
Aug 12, 2020 at 1:30 PM (Merged)
Avatar
CORKY88
  • MEMBER
  • 15 POSTS
yes i checked it with a compression gauge and yes i check the fuel pressure.I know if i didnt have fuel that it would not start,but that would not stop the no compression i have ,so what else could stop the no compression?
Aug 12, 2020 at 1:30 PM (Merged)
Avatar
HMAC300
  • CERTIFIED EXPERT
  • 48,601 POSTS
if the timing chain/belt is not in time could be one thing, a blown head gasket another as well as piston damage for no compression what are your readings
Aug 12, 2020 at 1:30 PM (Merged)
Avatar
CORKY88
  • MEMBER
  • 15 POSTS
the readings for the compression is 0 on all 4cly.
Aug 12, 2020 at 1:30 PM (Merged)
Avatar
HMAC300
  • CERTIFIED EXPERT
  • 48,601 POSTS
then recheck your timing it probably jumped or broke a tensioner and bent valves.
Aug 12, 2020 at 1:30 PM (Merged)
Avatar
CORKY88
  • MEMBER
  • 15 POSTS
Ok sure will thinks
Aug 12, 2020 at 1:30 PM (Merged)