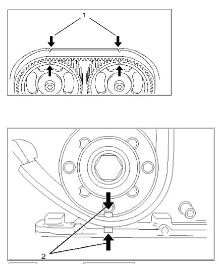
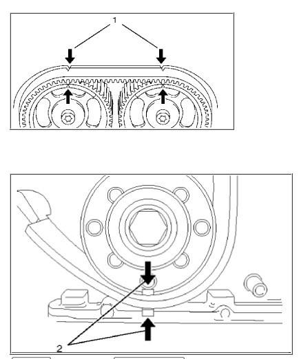
Camshaft marks

2002 ISUZU RODEO
53,100 MILES
Avatar
ECFWIRE2
  • MEMBER
  • 1 POST
I need to know the positioning for the pulleys on a 2.2L Engine. Replaced the cam sensor put the timing belt back on and now the vehicle won't start
Apr 22, 2012 at 11:00 PM
Advertisement
Avatar
ASEMASTER6371
  • CERTIFIED EXPERT
  • 52,796 POSTS
Here is a guide and a diagram below

https://www.2carpros.com/diagrams/isuzu/rodeo/2002

Check out the diagrams (Below). Please let us know if you need anything else to get the problem fixed. Cheers
Apr 22, 2012 at 11:07 PM
Avatar
DMAPP05
  • MEMBER
  • 1 POST
I need full instructions on replacing timing belt.
Oct 2, 2018 at 10:07 AM (Merged)
Advertisement
Avatar
HMAC300
  • CERTIFIED EXPERT
  • 48,601 POSTS
see pictures for instructions. there is a tsb but does not cover your car.
Oct 2, 2018 at 10:07 AM (Merged)
Avatar
PLEICKHARDTJ
  • MEMBER
  • 1 POST
setting cam timing on a 3.2 v 6 isuzu rodeo 2002, Also when setting the timing belt the book says top dead center on the first cyl but a site says cylender 2 so i am confused maybe you can help
Oct 2, 2018 at 10:07 AM (Merged)
Avatar
BOSSGRUMBLER1
  • MEMBER
  • 1 POST
i need help with the timing on a 2002 iszuzu rodeo 3.2 motor
Oct 2, 2018 at 10:07 AM (Merged)
Avatar
STRAILER
  • CERTIFIED EXPERT
  • 53,855 POSTS
Here is a link that will show you how to replace the timing belt on both 4 and 6 cylinder engines.

https://www.2carpros.com/diagrams/isuzu/rodeo/2002

Please let us know if you need anything else to get the problem fixed.

Cheers, Ken
Oct 2, 2018 at 10:07 AM (Merged)
Avatar
LEBIRAMFELIZ
  • MEMBER
  • 1 POST
Engine Mechanical problem
2002 Isuzu Rodeo Question 6 cyl Two Wheel Drive Automatic

what are the timing marks, we repair the engine and the timing is not correct
Oct 2, 2018 at 10:07 AM (Merged)
Avatar
BMRFIXIT
  • CERTIFIED EXPERT
  • 19,053 POSTS
Avatar
LAINE1
  • MEMBER
  • 2 POSTS
I understand at the mileage I have I need to have the timing belt changed. I wa wondering if you
could tell me the labour time involved in this?
Oct 2, 2018 at 10:07 AM (Merged)
Avatar
BLUELIGHTNIN6
  • CERTIFIED EXPERT
  • 16,542 POSTS
Approx. 3.5 labor hours to replace your vehicle's timing belt.
Oct 2, 2018 at 10:07 AM (Merged)
Avatar
BILLTHURSTON
  • MEMBER
  • 9 POSTS
Well all I am going to give it a try and change the timing belt. Is there any advice from the pros out there? I plan to change the water pump also and the tensioner. Any help is always appreciated.
Oct 2, 2018 at 10:07 AM (Merged)
Avatar
HMAC300
  • CERTIFIED EXPERT
  • 48,601 POSTS
https://www.2carpros.com/manuals/manuals.php

it is best for you to rent book from that link as it is quite involved and to much for us to copy/paste. you will get all the mechanic's tips as well as tsb's as you can print out what ever you want I think it rents for a week.
Oct 2, 2018 at 10:07 AM (Merged)
Avatar
JUNK214
  • MEMBER
  • 4 POSTS
Do I need to purchase any special tooling to replace the timing belt for a 2001 Isuzu Rodeo? Also, how do I differentiate the tension pulley from the rest of the pulley?
Oct 2, 2018 at 10:07 AM (Merged)
Avatar
DOCFIXIT
  • CERTIFIED EXPERT
  • 18,828 POSTS
need to know engine size
Oct 2, 2018 at 10:07 AM (Merged)
Avatar
JUNK214
  • MEMBER
  • 4 POSTS
V6.
Oct 2, 2018 at 10:07 AM (Merged)
Avatar
DOCFIXIT
  • CERTIFIED EXPERT
  • 18,828 POSTS
VERY complicated proceedure needs special tools LOTS of steps. Also if belt broke then valves are bent and head needs removed.If you do not have this type repair experience suggest you have this done.
Oct 2, 2018 at 10:07 AM (Merged)
Avatar
JUNK214
  • MEMBER
  • 4 POSTS
OK, perhaps I misworded my question. I just need to replace my serpentine belt. How do I know which piece is the belt tensioner?
Oct 2, 2018 at 10:07 AM (Merged)
Avatar
DOCFIXIT
  • CERTIFIED EXPERT
  • 18,828 POSTS
That is a lot easier no special tool just wrench on tensioner nut push down ie. clockwise to loosen tension
Oct 2, 2018 at 10:07 AM (Merged)
Avatar
JUNK214
  • MEMBER
  • 4 POSTS
So which item number am I loosening? I loosened Item 6 two days ago and the belt stayed tight. And thanks for your help and patience.
Oct 2, 2018 at 10:07 AM (Merged)
Avatar
MHPAUTOS
  • CERTIFIED EXPERT
  • 31,937 POSTS
What engine?
Oct 2, 2018 at 10:07 AM (Merged)
Avatar
DOCFIXIT
  • CERTIFIED EXPERT
  • 18,828 POSTS
#6 don't loosen it is spring loaded wrench on bolt push down to release spring tension
Oct 2, 2018 at 10:07 AM (Merged)
Avatar
MILLER1949
  • MEMBER
  • 3 POSTS
RODEO LS/XS
ENGINE 3.2 L V6 MPI DOHC
Oct 2, 2018 at 10:07 AM (Merged)
Avatar
MHPAUTOS
  • CERTIFIED EXPERT
  • 31,937 POSTS
my last response is not showing up, did you see it? not sure if you got it and if you need further assistance.
Oct 2, 2018 at 10:07 AM (Merged)
Avatar
MHPAUTOS
  • CERTIFIED EXPERT
  • 31,937 POSTS
ok
Oct 2, 2018 at 10:07 AM (Merged)
Avatar
MICHAELGOOSE412
  • MEMBER
  • 5 POSTS
I am trying to set the timing on a 2001 isuzu rodeo 2.2 dohc. The diagram doesn't accuratly show the timing marks, which way should i be lining them up? There is 1 mark on intake cam gear and 2 marks on the exhaust cam gear along with the single mark on the harmonic balancer.
Oct 2, 2018 at 10:07 AM (Merged)
Avatar
WRENCHTECH
  • CERTIFIED EXPERT
  • 20,761 POSTS
Here are the marks
Oct 2, 2018 at 10:07 AM (Merged)
Avatar
MICHAELGOOSE412
  • MEMBER
  • 5 POSTS
Yep that is the diagram I have got. Like I stated before there are 2 marks on the exhuast cam and 1 mark on the intake cam. Which mark goes where? The picture only shows 1 mark on each cam but there are 2 on the exhuast cam.
Oct 2, 2018 at 10:07 AM (Merged)
Avatar
WRENCHTECH
  • CERTIFIED EXPERT
  • 20,761 POSTS
The marks should appear different. There is actually only one timing mark on each pulley. The other mark must be something else.
Oct 2, 2018 at 10:07 AM (Merged)
Avatar
MICHAELGOOSE412
  • MEMBER
  • 5 POSTS
Okay thank you. There is a mark on each cam gear that are similar, will try that when the kiddo take a nap and let you know what I find.
Oct 2, 2018 at 10:07 AM (Merged)
Avatar
JAIME88
  • MEMBER
  • 3 POSTS
The timing belt keeps on snapping so I am having problems in the alignment.
Oct 2, 2018 at 10:07 AM (Merged)
Avatar
MICHAELGOOSE412
  • MEMBER
  • 5 POSTS
Ok thank you very much I think I got it but it still running roughly and I am getting a misfire on cylinder 3. I have replaced the spark plugs, wires and coil pack. Still getting a misfire on cylinder 3. If it helps we noticed a valve cover leak when replacing the timing belt and idler rollers for the timing belt. The spark plug were just sitting in oil so we soaked up what we could pulled the spark plugs and let remaining oil drain over the pistons (yes I know it isn't the smartest thing to do but there was alot.). Then we left the plugs out and turned over the engine to blow any oil out the top. Any suggestions?
Oct 2, 2018 at 10:07 AM (Merged)
Avatar
HMAC300
  • CERTIFIED EXPERT
  • 48,601 POSTS
Try using a straight edge to the align pulleys and tensioners. I suggest using a kit for this when replacing belt.
Oct 2, 2018 at 10:07 AM (Merged)
Avatar
WRENCHTECH
  • CERTIFIED EXPERT
  • 20,761 POSTS
Do a compression test and make sure that plug didn't get fouled by the oil.
Oct 2, 2018 at 10:07 AM (Merged)
Avatar
JAIME88
  • MEMBER
  • 3 POSTS
How do I do the timing on the truck again with a diagram timing? I lost it.
Oct 2, 2018 at 10:07 AM (Merged)
Avatar
MICHAELGOOSE412
  • MEMBER
  • 5 POSTS
Trying to get ahold of a tool to do compression test. While waiting on that I swapped 3rd plug for 1st plug. Checked all plugs, cleaned (weren't dirty) and reinstalled the plugs. Pulled the connector to coil pack tested with volt meter with ignition in the "ON" position read 12,0,.04,.04. Tested fuel pressure on fuel rail (40PSI not running, ignotion in on position.

Since I didn't have the cam gear locking tool when we set the timing I am also trying to locate one of those and setting the timing again to "BE SURE". Won't be able to do much until Monday so I will let you know what I find. Thanks!
Oct 2, 2018 at 10:07 AM (Merged)
Avatar
HMAC300
  • CERTIFIED EXPERT
  • 48,601 POSTS
There is too much to copy for this and this has a tsb that must be followed in order to properly align cams. Also this is an interference engine so check for bent valves as it may still not run after fixing it. I really suggest renting a manual so you can print the tsb steps out to do this work so it is done correctly. It can be rented from this site so you can print it out and have it available for a week.
Oct 2, 2018 at 10:07 AM (Merged)
Avatar
WRENCHTECH
  • CERTIFIED EXPERT
  • 20,761 POSTS
The cam locking tool merely assists you in getting the belt on. If the belt is already on, then simply check the timing marks. The tool isn't needed unless you have to remove the belt all over again.
Oct 2, 2018 at 10:07 AM (Merged)
Avatar
JAIME88
  • MEMBER
  • 3 POSTS
Online pages available for this type of manual?
Oct 2, 2018 at 10:07 AM (Merged)
Avatar
HMAC300
  • CERTIFIED EXPERT
  • 48,601 POSTS
They should be, but you have to follow the tsb to get it right some may not have the tsb in it.
Oct 2, 2018 at 10:07 AM (Merged)
Avatar
BECKY SIMMONS PITT
  • MEMBER
  • 2 POSTS
This is for 3.5L V6 DOHC 6VE1DI
I bought new timing belt and new camshaft and I cannot find the specs anywhere. My goal is to find a diagram that show the marks on the cam and the crankshaft.
Oct 2, 2018 at 10:07 AM (Merged)