Gear shift stuck

2000 HONDA ACCORD
120,000 MILES • 4 CYL • FWD • AUTOMATIC
Avatar
REDHEAD0812
  • MEMBER
  • 1 POST
I have a 2000 Honda Accord and the gear shift is stuck in park. When I turn the car on and press the brake in order to shift into drive, the grear shift doesn't move. it's like the button is stuck or something.
Mar 20, 2010 at 5:39 PM
Advertisement
Avatar
STRAILER
  • CERTIFIED EXPERT
  • 53,855 POSTS
Hello,

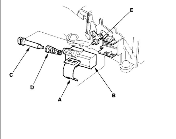
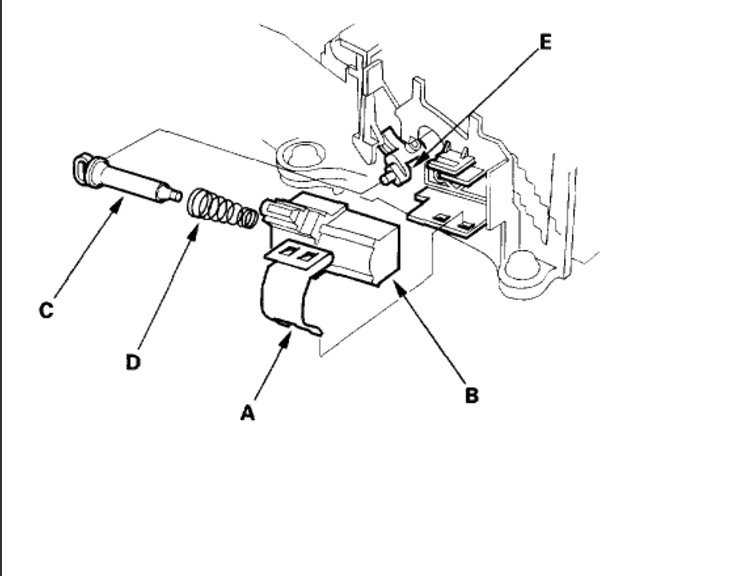
It sounds like you have a shift interlock solenoid that is getting weak or not working.

Here are some diagrams to help you get the problem fixed.

Test the electrical circuit with the key on

https://www.2carpros.com/articles/how-to-use-a-test-light-circuit-tester

Please let us know what happens.

Cheers, Ken
Jul 12, 2017 at 8:01 PM
Avatar
TAMICKA BRICE
  • MEMBER
  • 1 POST
Transmission problem
2000 Honda Accord 4 cyl Two Wheel Drive Automatic 155888 miles

my gear shift got stuck a couples of times and it took a couples of tries to get it in gear now when i stop and try to go my car takes a good min to shift int the right gear the D light is also flashing while am driving
Jul 12, 2017 at 8:02 PM (Merged)
Advertisement
Avatar
JEREMIAH
  • CERTIFIED EXPERT
  • 217 POSTS
you could have a problem with the shift cable but the flashing d light is an indicator of trouble codes in your transmission so i would advise you to get your transmission control module scanned to determine your problem
Jul 12, 2017 at 8:02 PM (Merged)
Avatar
ZCUI
  • MEMBER
  • 3 POSTS
Electrical problem
1997 Honda Accord 4 cyl Front Wheel Drive Automatic 150000 miles

My car is 97 Honda Accord LX. The odometer stopped work about three weeks ago, and the red Check Engine light is ON. Last Friday I think I saw a kind of smoke over the front hood when I turned off the car at a gas staion, although I was not quite sure. After filled the tank, I started the car and found all meters had no signal, and the Check Engine light was OFF. I drove the car home and parked it in the garage. The next day, I further found the gear shift was stuck in the Parking and not able to switch to R or D.

Now, to change the gear shift from P to R or D, I have to insert a key into the Shift Release hole after the car started. The car seems running fine on the road. However, there is no any signal from Temperature Gauge, Tachometer, Speedometer, Trip Meter, Fuel Gauge, and Power Window, Clock, and Reverse Light when I shift to R stopped work as well. AC, turn signal lights, stop lights, head lights, high lights, Radio, and Cigarate lighter still work fine. I checked the fuse, all of them are not burnt out.

Another thing, a few years ago, the Odometer stopped running for several weeks, and then kept working till recently.

What can cause the problem? What should I check?

Thanks
Scott
Jul 12, 2017 at 8:02 PM (Merged)
Avatar
KHLOW2008
  • CERTIFIED EXPERT
  • 41,814 POSTS
Hi zcui,

I would suggest checking the ignition and underdash fuse box connectors.

Seems you have a power interruption somewhere.

As to the speeedometer not working, it could be due to a faulty Vehicle Speed Sensor.
Jul 12, 2017 at 8:02 PM (Merged)
Avatar
ZCUI
  • MEMBER
  • 3 POSTS
I found the Meter Fuse under the dash board was burnt out. However, the new fuse was burnt out immediately when starting the car. There must be a short somewhere.

Is it possible caused by the bad VSS?

Thanks
Jul 12, 2017 at 8:02 PM (Merged)
Avatar
KHLOW2008
  • CERTIFIED EXPERT
  • 41,814 POSTS
The VSS is not likely to be the cause ut posible.

The fuse is for :
1. Gauge Assembly.
2. Back-up lights.
3. Clock.
4. VSS.
5. Shift Lock Solenoid
6. Keyless Door lock/security control unit.

Any of the above can cause the problem if the component is faulty.
Jul 12, 2017 at 8:02 PM (Merged)
Avatar
ZCUI
  • MEMBER
  • 3 POSTS
A mechanics did the repair. I was told it was the VSS with burning wires and it had a short circuit.
Jul 12, 2017 at 8:02 PM (Merged)
Avatar
BROBERTSON
  • MEMBER
  • 1 POST
Transmission problem
2002 Honda Accord 4 cyl Front Wheel Drive Automatic 87000 miles

Hello,

I own a 2002 Honda Accord. The gear shift is stuck in park. How should I fix the problem.
Jul 12, 2017 at 8:02 PM (Merged)
Avatar
KHLOW2008
  • CERTIFIED EXPERT
  • 41,814 POSTS
Hi brobertson,

Check if the brake lights are coming on with brakes depressed.

When the interlock malfunctions, the most likely fault is a bad brake switch or blown fuse.
Jul 12, 2017 at 8:02 PM (Merged)
Avatar
GRANDMAMJ
  • MEMBER
  • 1 POST
Steering problem
1995 Honda Accord 6 cyl Two Wheel Drive Automatic 90,000 miles

My gear shift is stuck in "Park". I can unlock it using the key in the console keyhole, but what do I need for a permanent repair?
Jul 12, 2017 at 8:03 PM (Merged)
Avatar
RASMATAZ
  • CERTIFIED EXPERT
  • 75,992 POSTS
Get the shift interlock control system checked out-could be the brake switch or shiftlock control solenoid.
Jul 12, 2017 at 8:03 PM (Merged)
Avatar
MMPRINCE4000
  • CERTIFIED EXPERT
  • 8,548 POSTS
There is a brake lock solenoid that prevents the shifter from moving unless the brake pedal is pushed. This solenoid/switch is out of adjustment/broke.

There should be an override button on the shift console that you can push and hold to get out of park.

Use the car repair link or get a Haynes manual, but first read the owners manual and see if it tells you the location of the switch.
Jul 12, 2017 at 8:03 PM (Merged)
Avatar
MMPRINCE4000
  • CERTIFIED EXPERT
  • 8,548 POSTS
Also check the brake switch, it may be out of adjustment or broken.
Jul 12, 2017 at 8:03 PM (Merged)
Avatar
GASANTE1
  • MEMBER
  • 1 POST
My car's Shifter is stuck in park "P" and it won't move on top of all that all the lights on the dash board are one like the lights that tells you if the door is open the break light, the battery light, and the seat belt light are all on. Help its a 2001 Honda Accord and i just got it serviced and got a new battery too so idk what the problem is.Also i know i have to step on the break before i can move the shifter which i am doing so that's not the problem.
Jul 12, 2017 at 8:03 PM (Merged)
Avatar
DRCRANKNWRENCH
  • CERTIFIED EXPERT
  • 3,380 POSTS
Seems the interlock system is malfunctioning and possible causes are :

1. Faulty brake switch. Check if the brake lights are working when the shift is stuck in Park. If not, you need to tst if the brake switch is faulty, it could be intermittently not working.

2. Interlock shift solenoid. If the brake lights are working and the shift lever is stuck in Park, with ignition key turned to ON, depress brake pedal and listen for a clicking noise near the gear shift. If there is no noise, either there is a malfunctioning soleanoid or wiring circuit.
If there is a clicking noise and you are not able to shift out of park, the solenoid could be restricted and not moving far enough for the locking tab to be moved to allow the shift lever to be moved out of Park.
Jul 12, 2017 at 8:03 PM (Merged)
Avatar
DJCL
  • CERTIFIED EXPERT
  • 767 POSTS
Very common to have a frozen transmission shift cable on that year car. I would remove the shiftier console and disconnect the cable to see if the shift lever will move . You are looking @ a shift inter lock problem of cable problem.
Jul 12, 2017 at 8:03 PM (Merged)
Avatar
CARRIE
  • MEMBER
  • 2 POSTS
Hi! I have a 2000 Honda Accord SE (6 cyl. engine...), automatic, with 99,200 miles. The car will start but wont move out of park. The brake lights also stopped working. My mechanic says stoplight switch needs replacing so I am waiting for the part. Should that take care of the gear shift problem too?
Jul 12, 2017 at 8:03 PM (Merged)
Avatar
BRUCE HUNT
  • CERTIFIED EXPERT
  • 3,754 POSTS
If he ordered the Honda replacement one that should do the trick.
Jul 12, 2017 at 8:03 PM (Merged)
Avatar
CARRIE
  • MEMBER
  • 2 POSTS
[quote:88bafbefb1="Bruce Hunt"]If he ordered the Honda replacement one that should do the trick.[/quote:88bafbefb1]

It took care of it! I reccomend people to replace this part yourself; if your car is similar to mine it only took at max 5 minutes and I saved $20 buying the part myself and $65 in labor. My car has also been not performing as well and I replaced the spark plugs (easy enough to do yourself as well) and it seems to have improved that aspect as well. Yay! :)
Jul 12, 2017 at 8:03 PM (Merged)
Avatar
SERVICE WRITER
  • CERTIFIED EXPERT
  • 9,123 POSTS
Another happy ending.....Typical of Bruce's help :D
Jul 12, 2017 at 8:03 PM (Merged)
Avatar
BRUCE HUNT
  • CERTIFIED EXPERT
  • 3,754 POSTS
You are WAY to kind. Successful endings is your middle name service type guy!
Jul 12, 2017 at 8:03 PM (Merged)
Avatar
AARONB007
  • MEMBER
  • 1 POST
Brakes problem
1997 Honda Accord 4 cyl Automatic 140000 miles
----------------------------------------------------------------
Hello,

My Honda is having a bit of trouble. This is a 1997 Honda Accord LX. When I turn on the car and step on the brake I try to shift from park to drive, but the shifter gets stuck and won't budge! I have to constantly pump the brake, while holding the shifter and i could feel when something pop's inside the shifter, and then i could shift. This is getting a little more constant, and i don't want to get stuck in a parking lot because i can't shift. Do you have any advise on what i have to replace.
Jul 12, 2017 at 8:03 PM (Merged)
Avatar
RASMATAZ
  • CERTIFIED EXPERT
  • 75,992 POSTS
Check the owners manual for an override button-your problem has something to do with the shift interlock system-could be the shift lock solenoid or its computer
Jul 12, 2017 at 8:03 PM (Merged)
Avatar
XFEDMAN
  • MEMBER
  • 1 POST
Transmission problem
2007 Honda Accord 6 cyl Front Wheel Drive Automatic 50000 miles

My transmission gets stuck in gear and I can not put gear shift into any other gear unless I pump the brake pedal. This happened shortly after the vsa light started appearing on dash after applying the break while driving.
Jul 12, 2017 at 8:03 PM (Merged)
Avatar
KHLOW2008
  • CERTIFIED EXPERT
  • 41,814 POSTS
Hi xfedman,

Get the brake switch checked. When you are not able to shift out of park, check if the brake lights are working.
Jul 12, 2017 at 8:03 PM (Merged)
Avatar
SVT1111
  • MEMBER
  • 1 POST
Can start car but sometimes can't get gear shift control to release into the drive postiion (brake is engaged). After trying a few times it usually goes. What is causing this and how expensive is it to repair?
Nov 14, 2018 at 4:33 PM (Merged)
Avatar
KHLOW2008
  • CERTIFIED EXPERT
  • 41,814 POSTS
Hi svt1111,

When it happens, check if the brake lights are working. If not, then you need to check the brake switch at peddal.

If brake lights are working and unable to engage, listen for a clicking sound from near the gear shift, if none, you need to check the interlock fuse and solenoid operations.

Prices depends on what needs to be done.
Nov 14, 2018 at 4:33 PM (Merged)
Avatar
SWELLPOWELL
  • MEMBER
  • 2 POSTS
I just bought a 1997 Honda Accord SE. It has almost 150 K miles. The (automatic) shifter is stuck in Park. Pressing the brake peddle nor unlocking the wheel unlocks the shifter. In addition, the key can now be removed from the ignition if the shifter is in Neutral, or Drive. Where do I start? Could it be the brake/release solenoid or relay, the ignition itself, or shifter linkage?

Thanks
Nov 14, 2018 at 4:33 PM (Merged)
Avatar
BRUCE HUNT
  • CERTIFIED EXPERT
  • 3,754 POSTS
Start with the brake release. I assume that by putting the key in to the slot on the housing of the shifter that the car can be shifted, right?
Nov 14, 2018 at 4:33 PM (Merged)
Avatar
SWELLPOWELL
  • MEMBER
  • 2 POSTS
Yeah,

unlocking the shifter with the key DOES unlock the shifter. So the brake pedal release, then?
Nov 14, 2018 at 4:33 PM (Merged)
Avatar
BRUCE HUNT
  • CERTIFIED EXPERT
  • 3,754 POSTS
That is the place to start looking. Pain in the butt working up in that tight location. There are really very few components that are involved in this process. The switch on the brake telling it the pedal is depressed and the release for the shift. I wouldn't replace the switch on the pedal but rather test the switch and the sensor in the release.
Nov 14, 2018 at 4:33 PM (Merged)
Avatar
CHRISTIE1004
  • MEMBER
  • 1 POST
Hello! I have a 2002 Honda Accord. It has approximately 80,000 miles and it has an automatic transmission. For the past year or so, my shifter will not move out of park. I can not push the button in so the shifter won't move even when I push in the break petal. When I push the break petal in, it sounds like air is coming out put I don't feel anything. I have to pump the break petal over and over and turn the stearing wheel and eventually it the button will push in and I can shift out of park. Do you know what could be causing my car to get stuck in park? Any advice would be appreciate. Thank you in advance.
Nov 14, 2018 at 4:33 PM (Merged)
Avatar
BRUCE HUNT
  • CERTIFIED EXPERT
  • 3,754 POSTS
I am concerned about the air sound. I would be looking under the hood while someone depresses the brake pedal. See if there is a booster for the brake and if it is leaking air.

Then when you push the brake and all is quiet you should be able to hear a click as the solenoid that releases the shift lever is activated. You might have a brake switch/sensor that is bad or the solenoid at the shift lever is bad.
Nov 14, 2018 at 4:33 PM (Merged)
Avatar
SJMARTINO
  • MEMBER
  • 1 POST
I have a 2002 honda accord with about 90,000 miles. The transmission was replaced 2 years ago and today, the vehicle is stuck in park and I am not able to move the gear shift stick at all. Could this be the transmission again?

Engine starts fine-am just unable to move gear shift stick
Nov 14, 2018 at 4:33 PM (Merged)
Avatar
DRCRANKNWRENCH
  • CERTIFIED EXPERT
  • 3,380 POSTS
If it is a manual tranny and it is stuck in gear, there are a few likely possibilities;

The clutch is not disengaging enough. If this is true the car will move when running even with clutch all the way in.
Otherwise you have an input shaft bearing or synchronizer that has failed. There may be a problem with the shifter, which you whould check first. Hondas are pretty simple, there is a rod connectec to the shifter that moves on a ball and moves a rod rotationally and back and forth. Get under the car and see if you can move the shifter or if it feels stuck. The shift shat goes into the back of the shifter and is easy to trace3 from the shifter. The other non moving rod is for rigidity. See if the shifter rod seems to move more freely at the transmission. More than likely it is an internal tranmsission problem, but it is best to rule out simpler things first.
Nov 14, 2018 at 4:33 PM (Merged)
Avatar
CBELLA
  • MEMBER
  • 1 POST
I pulled over and made a fast stop. My car starts just fine but it won't shift out of park. When I press the brake their is a sound of air hissing and the brake lights do not come on. How do I get it to shift out of park as I've been told that towing a car without putting it in neutral will cause damage? I've read that I can take the gear shift cover off and push a release button, but I don't see how to remove the cover without damaging it as well.
Nov 14, 2018 at 4:33 PM (Merged)
Avatar
RASMATAZ
  • CERTIFIED EXPERT
  • 75,992 POSTS
Test the brake booster, brake switch and have the shift interlock system checked out-
Nov 14, 2018 at 4:33 PM (Merged)
Avatar
KHLOW2008
  • CERTIFIED EXPERT
  • 41,814 POSTS
Hi cbella,

Near the gear shift there is a small slot, insert the ignition key into it and push in, you should be able to shift out of park. It is meant for emergency use like this situation.

As advised, check the brake switch, it should be faulty or you might have a blown fuse.

The whooshing noise is from the brake booster and most probably you might need to replace it as well, it is leaking and brake efficiency should be lower than normal.
Nov 14, 2018 at 4:33 PM (Merged)
Avatar
GREY HONDA
  • MEMBER
  • 1 POST
I can not shift my car out of park, it's stuck. Help!
Nov 14, 2018 at 4:34 PM (Merged)