Welcome to 2CarPros.
First, have you replaced the crankshaft position sensor? I attached two pictures showing location. I circled the part in picture 2. If you haven't, we need to check that. When I do it, I use a live data scanner and check for an PRM signal while cranking. Take a look through these links. They discuss how it works and its purpose, symptoms, and in general how one is replaced.
https://www.2carpros.com/articles/how-a-crank-shaft-angle-sensor-works
https://www.2carpros.com/articles/symptoms-of-a-bad-crankshaft-sensor
https://www.2carpros.com/articles/crankshaft-angle-sensor-replacement
If you find it is bad, here are the directions specific to your vehicle for replacement. Also, the attached pictures correlate with the directions. Additionally, I added the relearn procedure after the directions.
________________________________________________
CRANKSHAFT POSITION (CKP) SENSOR REPLACEMENT
REMOVAL PROCEDURE
IMPORTANT: The crankshaft position (CKP) system variation learn procedure will need to be performed whenever the CKP sensor is removed or replaced.
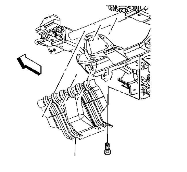
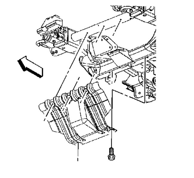
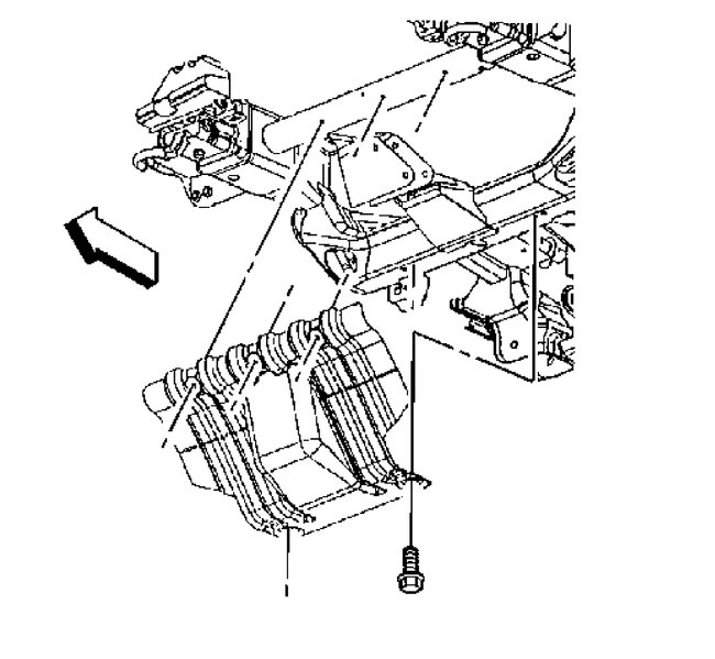
pic 3
1. Raise and suitably support the vehicle. Refer to Vehicle Lifting.
2. If equipped, remove the engine shield bolts.
3. Remove the engine shield.
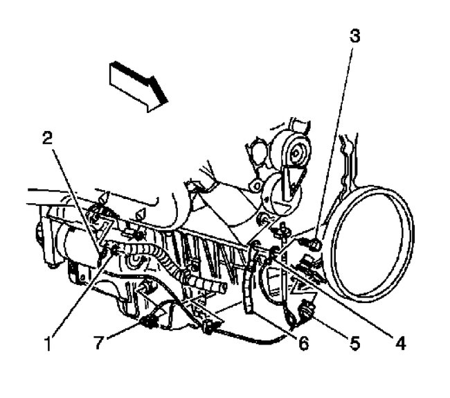
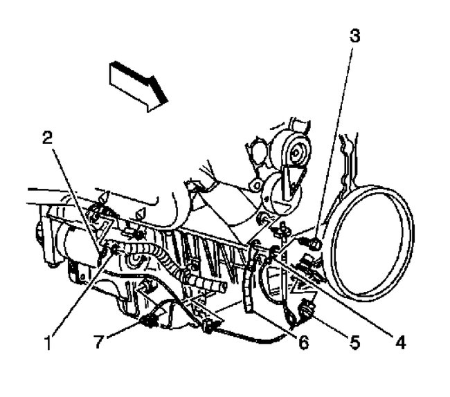
pic 4
4. Disconnect the CKP sensor electrical connector (5).
pic 5
5. Remove the CKP sensor bolt.
pic 6
6. Remove the CKP sensor.
INSTALLATION PROCEDURE
IMPORTANT: When installing the CKP sensor, make sure the sensor is fully seated before tightening the bolt. A poorly seated CKP sensor may perform erratically and may set false diagnostic trouble codes (DTCs).
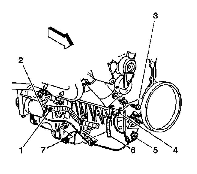
pic 7
1. If installing the old CKP sensor, install a NEW O-ring seal.
IMPORTANT: Do not reuse the original O-ring seal.
2. Lubricate the O-ring seal with clean engine oil.
3. Install the CKP sensor.
pic 8
4. Install the CKP sensor bolt.
NOTE: Refer to Fastener Notice in Service Precautions.
Tighten the bolt to 9 N.m (80 lb in).
pic 9
5. Connect the CKP sensor electrical connector (5).
pic 10
6. Install the engine shield.
7. Install the engine shield bolts.
Tighten the bolts to 20 N.m (15 lb ft).
8. Perform the CKP system variation learn procedure. See: Vehicle > Programming and Relearning
_______________________________________
Variation Relearn
CKP SYSTEM VARIATION LEARN PROCEDURE
1. Install a scan tool.
2. Monitor the powertrain control module (PCM) for DTCs with a scan tool. If other DTCs are set, except DTC P0315, refer to Diagnostic Trouble Code (DTC) List - Vehicle in Vehicle DTC Information for the applicable DTC.
3. Select the crankshaft position variation learn procedure with a scan tool.
4. The scan tool instructs you to perform the following:
1. Accelerate to wide open throttle (WOT).
2. Release throttle when fuel cut-off occurs.
3. Observe fuel cut-off for applicable engine.
4. Engine should not accelerate beyond calibrated RPM value.
5. Release throttle immediately if value is exceeded.
6. Block drive wheels.
7. Set parking brake.
8. DO NOT apply brake pedal.
9. Cycle ignition from OFF to ON.
10. Apply and hold brake pedal.
11. Start and idle engine.
12. Turn the A/C OFF.
13. Vehicle must remain in Park or Neutral.
14. The scan tool monitors certain component signals to determine if all the conditions are met to continue with the procedure. The scan tool only displays the condition that inhibits the procedure. The scan tool monitors the following components:
- Crankshaft position (CKP) sensors activity-If there is a CKP sensor condition, refer to the applicable DTC.
- Camshaft position (CMP) signal activity-If there is a CMP signal condition, refer to the applicable DTC.
- Engine coolant temperature (ECT)-If the engine coolant temperature is not warm enough, idle the engine until the engine coolant temperature reaches the correct temperature.
5. Enable the CKP system variation learn procedure with the scan tool.
6. Accelerate to WOT.
IMPORTANT: While the learn procedure is in progress, release the throttle immediately when the engine starts to decelerate. The engine control is returned to the operator and the engine responds to throttle position after the learn procedure is complete.
7. Release throttle when fuel cut-off occurs.
8. The scan tool display reads Test In Progress.
9. The scan tool displays Learn Status: Learned this ignition. If the scan tool indicates that DTC P0315 ran and passed, the CKP variation learn procedure is complete. If the scan tool indicates DTC P0315 failed or did not run, refer to DTC P0315. If any other DTCs set, refer to Diagnostic Trouble Code (DTC) List - Vehicle in Vehicle DTC Information for the applicable DTC.
10. Turn OFF the ignition for 30 seconds after the learn procedure is completed successfully.
11. The CKP system variation learn procedure is also required when the following service procedures have been performed, regardless of whether or not DTC P0315 is set:
- An engine replacement
- A PCM replacement
- A harmonic balancer replacement
- A crankshaft replacement
- A CKP sensor replacement
- Any engine repairs which disturb the crankshaft to CKP sensor relationship.
________________________________________
Now, before you replace the sensor, there is one more thing I want you to check. It is the ground for the coils and module. They all have 1 common ground. This ground is pron to fail after miles and years, so I strongly recommend checking it. Even though it may look attached at the engine block, make sure the connector is not ready to break, it is tight, and there isn't a corrosion issue. I learned this the hard way. Same conditions as your truck and couldn't find the problem. Touched the ground and it fell off. LOL
I attached a picture of the coils and ground. I circled the ground location. Make sure you also check the splice in the harness if the ground is good. Also, note that it can show continuity but fail when a load is placed on it. That's why I didn't suspect it.
Let me know if any of this helps or if you have other questions.
Take care,
Joe
Images (Click to enlarge)
Oct 5, 2020 at 10:07 AM
(Merged)