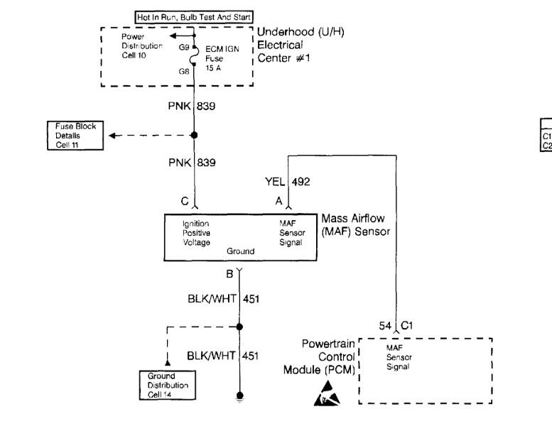
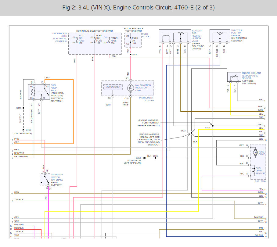
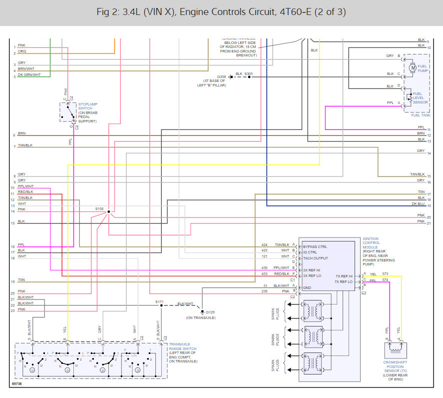
Just test drove her again and got the error code:
PO102
Mass of Volume Air Flow A
Circuit Low
I replaced the MAF a few days ago. So I removed the new plastic one and replaced it with the original aluminum one (that's clean as a whistle) and there was no change in the error code. Plus, I then tested it with my multi-meter, here are the results:
1) With the harness disconnected and the engine/ignition off:
All three wires (red, black and yellow) ohm-ed out as ground.
2) With the key in the ignition and it turned to run position without the engine on:
The power wire (red) had almost 13 volts, the ground (black) wire was grounded, and the signal wire had about 6 volts.
3) With the engine running and the harness attached:
I tested the Hertz with my test bench set to 20 Hertz and the signal wire (yellow) had a fairly consistent 2.14 hertz at idle (engine warm) and when the engine revved it smoothly went to just above 14 hertz and then evenly went back down to 2.14 when the idle was slowly released.
So it seems the original MAF is working within specifications? So why is this code thrown?
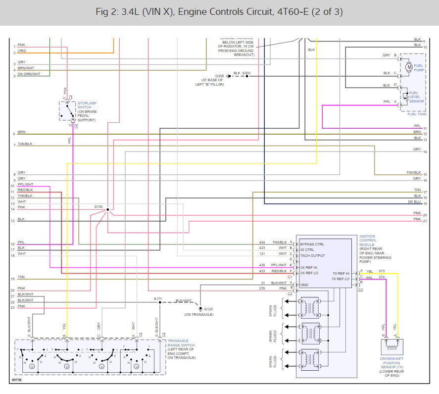
PO102
Mass of Volume Air Flow A
Circuit Low
I replaced the MAF a few days ago. So I removed the new plastic one and replaced it with the original aluminum one (that's clean as a whistle) and there was no change in the error code. Plus, I then tested it with my multi-meter, here are the results:
1) With the harness disconnected and the engine/ignition off:
All three wires (red, black and yellow) ohm-ed out as ground.
2) With the key in the ignition and it turned to run position without the engine on:
The power wire (red) had almost 13 volts, the ground (black) wire was grounded, and the signal wire had about 6 volts.
3) With the engine running and the harness attached:
I tested the Hertz with my test bench set to 20 Hertz and the signal wire (yellow) had a fairly consistent 2.14 hertz at idle (engine warm) and when the engine revved it smoothly went to just above 14 hertz and then evenly went back down to 2.14 when the idle was slowly released.
So it seems the original MAF is working within specifications? So why is this code thrown?
Mar 10, 2020 at 1:47 PM









